GM Service Manual Online
For 1990-2009 cars only
Makes
🢒
Chevrolet
🢒
2005
🢒
Venture Ext.
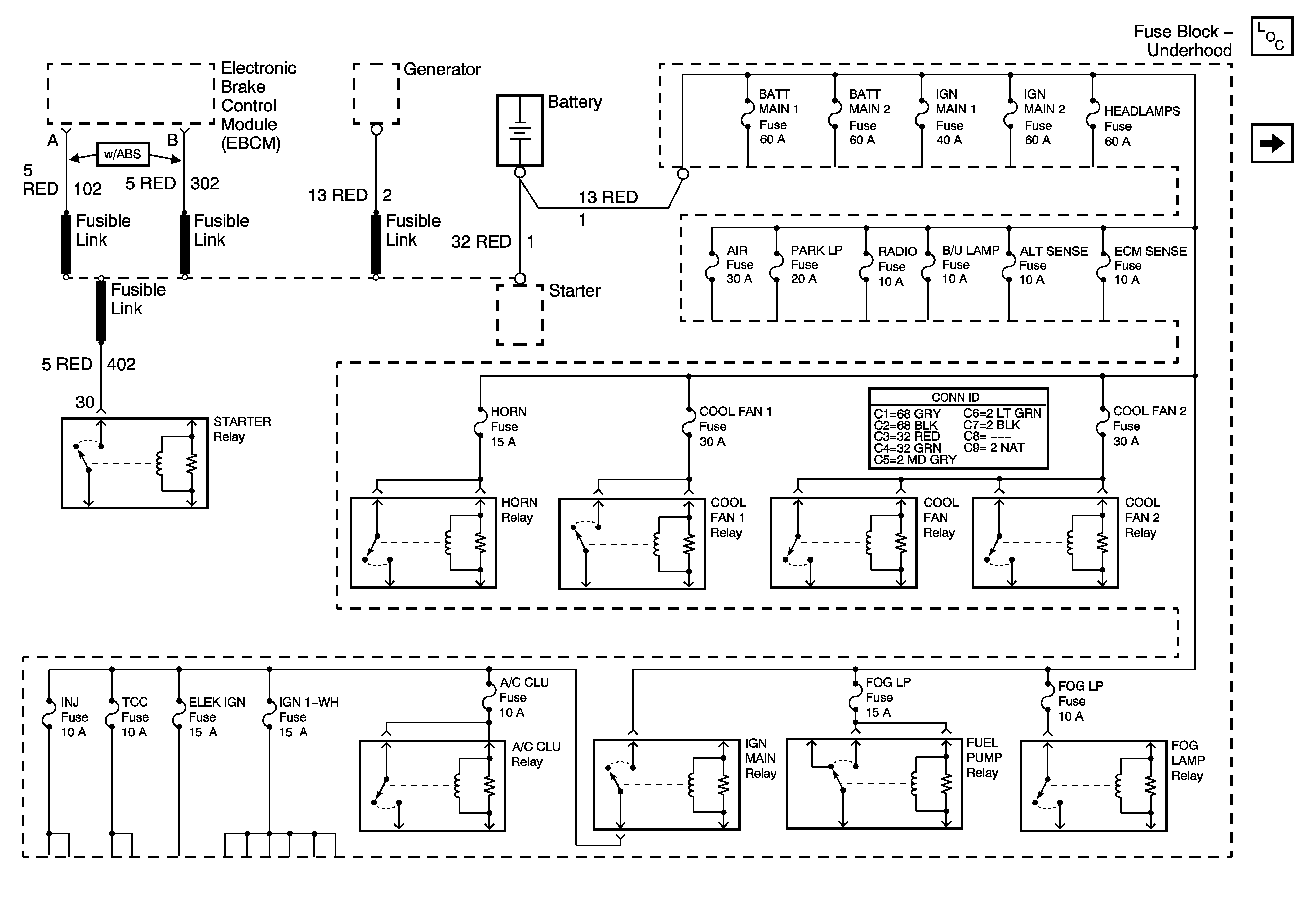
🢒 Fuse Block - Underhood and Fusable Links
Fuse Block - Underhood and Fusable Links
Fuse Block - Underhood and Fusable Links
Master Electrical Component List
EBCM, BATT Main 1, RADIO and PARK LP Fuses