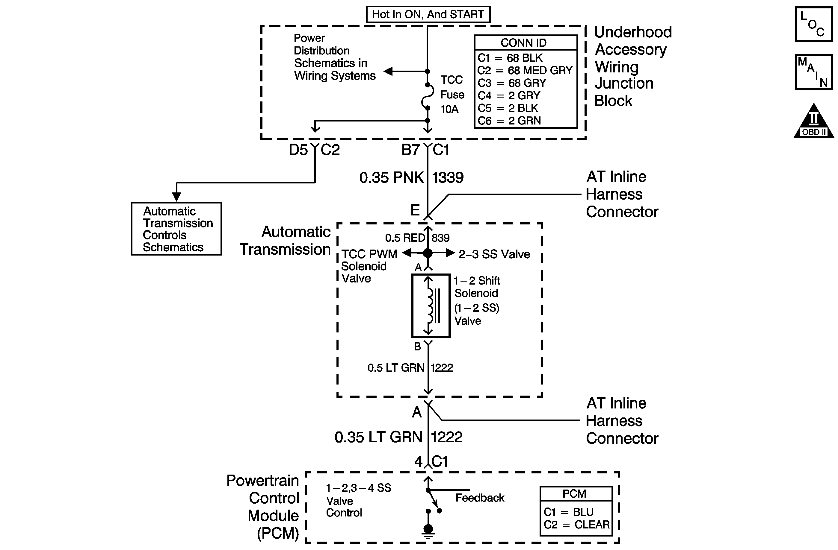
The 1-2 shift solenoid (1-2 SS) valve controls transmission fluid pressure acting on the 1-2 and 3-4 shift valves to position the valves for the appropriate gear. The 1-2 SS valve is a normally-open exhaust valve located on the control valve body. A fused circuit supplies ignition voltage to the 1-2 SS valve. The PCM commands the solenoid ON or OFF by switching the ground path. When the 1-2 SS valve is commanded ON, the PCM senses low voltage. When the 1-2 SS valve is commanded OFF, the PCM senses high voltage. Refer to Shift Solenoid Valve State and Gear Ratio .
If the PCM detects a continuous open, short to ground or short to power in the 1-2 SS valve circuit, then DTC P0753 sets. DTC P0753 is a type B DTC.
| • | The system voltage is 9-18 volts. |
| • | The engine speed is greater than 500 RPM for 5 seconds and not in fuel shut off. |
| • | The PCM has commanded the 1-2 SS valve On and OFF. |
DTC P0753 sets when one of the following conditions occurs for 5 seconds:
The PCM commands the solenoid ON and voltage feedback remains high (B+).
The PCM commands the solenoid OFF, and the voltage feedback remains low (0 volts).
| • | The PCM illuminates the malfunction indicator lamp (MIL) during the second consecutive trip in which the conditions for setting the DTC are met. |
| • | The PCM commands maximum line pressure. |
| • | The PCM freezes shift adapts. |
| • | The PCM inhibits 3-2 downshifts when the vehicle speed is greater than 48 km/h (30 mph). |
| • | The PCM records the operating conditions when the Conditions for Setting the DTC are met. The PCM stores this information as Freeze Frame and Failure Records. |
| • | The PCM stores DTC P0753 in PCM history during the second consecutive trip in which the conditions for setting the DTC are met. |
| • | The PCM turns OFF the MIL during the third consecutive trip in which the diagnostic test runs and passes. |
| • | A scan tool can clear the MIL/DTC. |
| • | The PCM clears the DTC from PCM history if the vehicle completes 40 warm-up cycles without an emission-related diagnostic fault occurring. |
| • | The PCM cancels the DTC default actions when the ignition switch is OFF long enough in order to power down the PCM. |
Ensure the wiring harness is not stretched too tightly or other components are pressing on the A/T inline 20-way connector body. Also inspect for proper clearance to any other components and wiring. Refer to Intermittent Conditions in Engine Controls - 3.4L.
The numbers below refer to the step numbers on the diagnostic table.
Step | Action | Value(s) | Yes | No |
|---|---|---|---|---|
1 | Did you perform the Powertrain Diagnostic System Check? | -- | Go to Step 2 | Go to Diagnostic System Check - Engine Controls in Engine Controls |
Important: Before clearing the DTCs, use the Scan Tool in order to record the Freeze Frame and Failure Records for reference. Using the Clear Info function will erase the stored Freeze Frame and Failure Records from the PCM. Are DTCs P0758 or P1860 also set? | -- | Go to Step 3 | Go to Step 9 | |
3 |
Was the fuse open? | -- | Go to Step 4 | Go to Step 7 |
4 |
Important: The condition that affects this circuit may exist in other connecting branches of the circuit. Refer to Power Distribution Schematics in Wiring Systems for complete circuit distribution. Test the ignition 1 voltage circuit (CKT 1339) of the 1-2 SS valve for a short to ground between the fuse block and the AT inline 20-way connector. Refer to Circuit Testing and Wiring Repairs in Wiring Systems. Did you find and correct the condition? | -- | Go to Step 19 | Go to Step 5 |
5 |
Important: The condition that affects this circuit may exist in other connecting branches of the circuit. Refer to Power Distribution Schematics in Wiring Systems for complete circuit distribution. Refer to Circuit Testing in Wiring Systems. Did you find the condition? | -- | Go to Step 16 | Go to Step 6 |
6 |
Did you complete the replacement? | -- | Go to Step 19 | -- |
7 | Test the ignition 1 voltage circuit (CKT 1339) of the 1-2 SS valve for an open between the fuse block and the AT inline 20-way connector. Refer to Circuit Testing and Wiring Repairs in Wiring Systems. Did you find and correct the condition? | -- | Go to Step 19 | Go to Step 8 |
8 | Test the ignition 1 voltage circuit (CKT 839) of the 1-2 SS valve for an open between the AT inline 20-way connector and the solenoid. Refer to Circuit Testing in Wiring Systems. Did you find the condition? | -- | Go to Step 16 | Go to Intermittent Conditions in Engine Controls |
9 |
Refer to Automatic Transmission Inline Harness Connector End View . Does the test lamp turn ON and OFF? | -- | Go to Step 12 | Go to Step 10 |
10 | Test the ignition 1 voltage circuit (CKT 1339) of the 1-2 SS valve for an open between the fuse block and the AT inline 20-way connector. Refer to Circuit Testing and Wiring Repairs in Wiring Systems. Did you find and correct the condition? | -- | Go to Step 19 | Go to Step 11 |
11 | Test the control circuit (CKT 1222) of the 1-2 SS valve for an open, short to ground or short to power between the PCM and the AT inline 20-way connector. Refer to Circuit Testing and Wiring Repairs in Wiring Systems. Did you find and correct the condition? | -- | Go to Step 19 | Go to Step 18 |
12 |
Refer to Automatic Transmission Inline Harness Connector End View . Does the resistance measure within the specified range? | 19-32 ohms | Go to Step 13 | Go to Step 15 |
13 | Measure the resistance from terminal A and terminal E to the transmission case. Are both readings greater than the specified value? | 10 K ohms | Go to Intermittent Conditions in Engine Controls | Go to Step 14 |
14 |
Are both readings greater than the specified value? | 10 K ohms | Go to Step 16 | Go to Step 17 |
15 |
Is the resistance within the specified range? | 19-31 ohms | Go to Step 16 | Go to Step 17 |
16 | Replace the AT wiring harness assembly. Refer to Wiring Harness Replacement . Did you complete the replacement? | -- | Go to Step 19 | -- |
17 | Replace the 1-2 SS valve. Refer to 1-2 Shift Solenoid Valve Replacement . Did you complete the replacement? | -- | Go to Step 19 | -- |
18 | Replace the PCM. Refer to Powertrain Control Module Replacement in Engine Controls. Did you complete the replacement? | -- | Go to Step 19 | -- |
19 | Perform the following procedure in order to verify the repair:
Has the test run and passed? | 1st: 2.87:1 to 2.97:1 2nd: 1.52:1 to 1.62:1 3rd: 0.95:1 to 1.05:1 4th: 0.65:1 to 0.75:1 | System OK | Go to Step 1 |