GM Service Manual Online
For 1990-2009 cars only

Disassembly Procedure


    Object Number: 1263686  Size: SH

    Notice: Never operate the starter motor more than 15 seconds at a time without pausing in order to allow it to cool for at least 2 minutes. Overheating will damage the starter motor.

  1. Remove the starter. Refer to Starter Motor Replacement .
  2. Remove the starter through-bolts.

  3. Object Number: 1263687  Size: SH
  4. Remove the commutator end frame and brush holder assembly.
  5. Inspect the brushes, the pop-out springs, and the brush holders for wear and damage. Replace the assembly if necessary.

  6. Object Number: 1263689  Size: SH
  7. Inspect the armature to see if it turns freely. If the armature does not turn freely, break down the assembly immediately, starting with Step 12. Otherwise, give the armature a no-load test.

  8. Object Number: 1263701  Size: SH

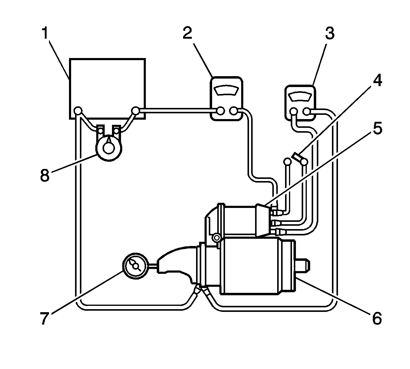
    Notice: Complete the testing as quickly as possible in order to prevent overheating and damaging the solenoid.

    Important: If the specified current draw does not include the solenoid, deduct from the armature reading the specified current draw of the solenoid hold-in winding.

  9. To begin the no-load test, close the switch (4) and the compare the rpm (7), the current, and the voltage readings (3) with the specifications. Refer to Starter Motor Usage . Make disconnection only with the switch (4) open. Use the test results as follows:
  10. 6.1. Rated current draw and no-load speed indicate a normal condition for the starter motor.
    6.2. Low free speed and high current draw indicate too much friction (tight, dirty or worn bearings or a bent armature shaft), a shorted armature, or a shorted armature or fields.
    6.3. Failure to operate with high current draw indicates a direct ground in the terminal or fields, or frozen bearings.
    6.4. Failure to operate with no current draw indicates an open field circuit, open armature coils, broken brush springs, worn brushes, high insulation between the commutator bars, or other causes which would prevent good contact between the brushes and the commutator.
    6.5. Low no-load speed and low current indicate high internal resistance and high current draw, which usually mean shorted fields.

    Object Number: 1263703  Size: SH
  11. Remove the solenoid assembly screws.

  12. Object Number: 1263704  Size: SH
  13. Remove the field connector nut. Disconnect the field connector.

  14. Object Number: 1263705  Size: SH
  15. Rotate the solenoid 90 degrees and remove it along with the plunger return spring.

  16. Object Number: 1263706  Size: SH

    Important: If the solenoid is not removed from the starter motor, the connector strap terminal must be removed from the terminal on the solenoid before making these tests.

  17. Test the solenoid windings by inspecting the current draw.
  18. 10.1. Ensure the hold-in windings by connecting an ammeter (3) in series with the 12-volt battery (4), the switch (2) terminal, and to the ground.
    10.2. Connect the carbon pile (5) across the battery (4).
    10.3. Adjust the voltage to 12.2 volts. The ammeter (3) reading should be 12 to 20 amperes.

    Important: Current will decrease as the windings heat up. Current draw windings that are over specifications indicate shorted turns, or a ground in the windings of the solenoid. Both conditions require replacement of the solenoid. Current draw readings that are under specifications indicate excessive resistance. No reading indicates an open circuit.

  19. Inspect both windings, connecting them according to the preceding test.
  20. 11.1. Ground the solenoid motor terminal.
    11.2. Adjust the voltage to 12.2 volts. The ammeter (3) reading should be 60 to 90 amperes.
    11.3. Inspect the connections and replace the solenoid, if necessary.

    Object Number: 1263707  Size: SH
  21. Slide the field frame with enclosed armature assembly away from the starter assembly.
  22. Remove the shield.

  23. Object Number: 1263709  Size: SH
  24. Separate the field frame from the armature.

  25. Object Number: 1263710  Size: SH
  26. Inspect the shaft, the bearing, and the pinion for discoloration, damage, or wear. Replace if necessary.
  27. Inspect the points where the armature conductors join the commutator bars. Make sure they have a good connection. A burned commutator bar is usually evidence of a poor connection.
  28. If test equipment is available, inspect the armature for short circuits by placing the armature on a growler, and holding back a saw blade over the armature core while the armature is rotated. If the saw blade vibrates, replace the armature.
  29. Reinspect after cleaning between the commutator bars. If the saw blade vibrates, replace the armature.

  30. Object Number: 1263711  Size: SH
  31. Remove the gears, the bushing, and the washer.
  32. Remove the cushion and driveshaft assembly from the starter housing.

  33. Object Number: 1263712  Size: SH
  34. Disassemble the driveshaft assembly by first separating the bushing from the driveshaft.
  35. Remove the collar and the locking ring from the groove in the driveshaft.

  36. Object Number: 1263713  Size: SH
  37. Remove the pinion stop and the drive from the driveshaft.

  38. Object Number: 1263711  Size: SH
  39. Remove the gear support from the driveshaft.

  40. Object Number: 1263703  Size: SH
  41. If not done in the previous steps, remove the screws that hold the solenoid assembly into the housing, and remove the nut from the field coil connector.

  42. Object Number: 1263705  Size: SH
  43. Rotate the solenoid 90 degrees and remove the solenoid along with the return spring.

  44. Object Number: 1263714  Size: SH
  45. Remove the plunger with the boot and the shift lever assembly.

  46. Object Number: 1263715  Size: SH

    Important: The pinion clearance must be correct in order to prevent the buttons on the shift lever yoke from rubbing on the clutch collar during the cranking.

  47. When the starter motor is disassembled and the solenoid is replaced, it is necessary to inspect the pinion clearance.

  48. Object Number: 1263716  Size: SH
  49. Disconnect the motor field coil connector from the solenoid motor terminal and carefully insulate the connector.
  50. Connect one 12-volt battery lead to the solenoid switch terminal and the other to the starter frame.
  51. Flash a jumper lead momentarily from the solenoid motor terminal to the starter frame, allowing shifting of the pinion in the cranking position, where it will remain until the battery is disconnected.
  52. Important: A means for adjusting the pinion clearance is not provided on the starter motor. If the clearance does not fall within the limits, inspect for proper installation and replace all worn parts.

  53. Push the pinion (1) back as far as possible to take up any movement, and ensure the clearance with a feeler gage (3). The clearance should be 0.25 to 3.56 mm (0.01 to 0.14 in).

Assembly Procedure

    Caution: Refer to Safety Glasses Caution in the Preface section.


    Object Number: 1263717  Size: SH
  1. Clean all of the starter motor parts, but do not use grease-dissolving solvents for cleaning the armature and the field coils.
  2. Lubricate the gears with lubricant. (Begin at Step 7, if proceeding with just the reassembly of the solenoid.)
  3. If full disassembly of the starter and the solenoid was performed, begin reassembly by placing the gear support and the collar on the driveshaft assembly.

  4. Object Number: 1263713  Size: SH
  5. Install the drive and the pinion stop on the driveshaft.

  6. Object Number: 1263712  Size: SH
  7. Install the lock ring into the groove on the driveshaft and insert the collar.
  8. Install the bushing.

  9. Object Number: 1263714  Size: SH
  10. Install the shift lever assembly with the plunger and the boot.

  11. Object Number: 1263719  Size: SH
  12. Lubricate the gears with lubricant and install the driveshaft assembly with the bushing and the washer on the gear end.
  13. Install the cushion and the gears.

  14. Object Number: 1263710  Size: SH
  15. Lubricate the drive end of the armature shaft with lubricant and install the new gear and the bearing, if necessary.

  16. Object Number: 1263705  Size: SH
  17. Position the solenoid assembly and the return spring against the plunger, applying sealer to the solenoid flange.
  18. Notice: Refer to Fastener Notice in the Preface section.


    Object Number: 1263703  Size: SH
  19. Fasten the solenoid assembly with the screws.
  20. Tighten
    Tighten the solenoid assembly screws to 8 N·m (71 lb in).

  21. Install the field coil connection to the starter terminal. Install the nut.
  22. Tighten
    Tighten the field coil terminal to the starter nut to 8 N·m (71 lb in).


    Object Number: 1263707  Size: SH
  23. Position the armature assembly into the field frame.
  24. Place the shield on the armature and field frame assembly.
  25. Install the armature and field frame assembly with the shield into the starter housing.

  26. Object Number: 1263687  Size: SH
  27. Position the commutator end frame and brush holder assembly, lining up the end frame holes with the through-bolt holes in the housing.

  28. Object Number: 1263686  Size: SH
  29. Install the starter through-bolts.
  30. Install the starter. Refer to Starter Motor Replacement .