GM Service Manual Online
For 1990-2009 cars only
Makes
🢒
Chevrolet
🢒
2004
🢒
Vivant
🢒
Transmission/Transaxle
🢒
Clutch
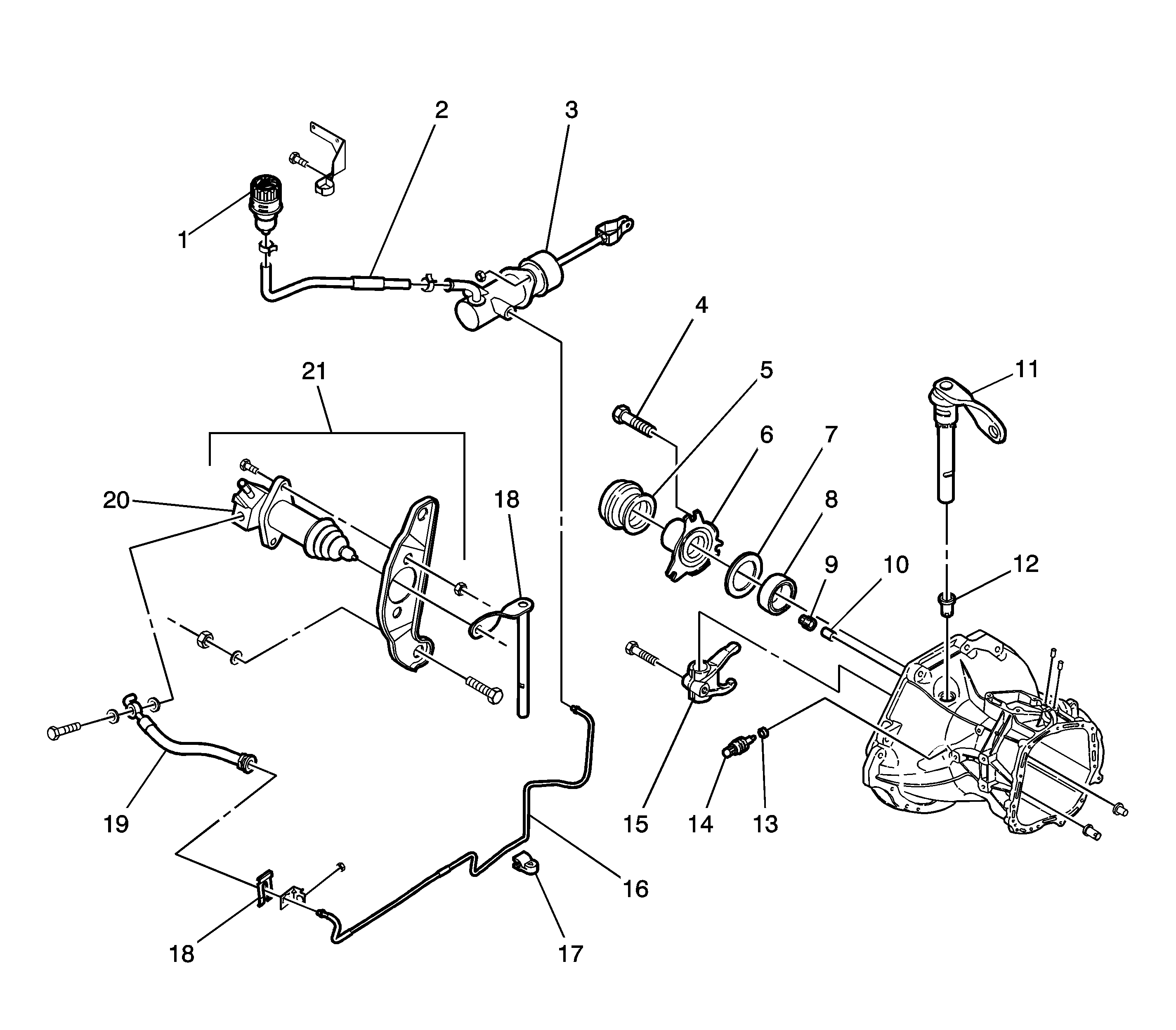
🢒 Clutch Component Locator View
Figure
1:
Clutch Release Cylinder/Lever
(1)
Clutch Reservoir
(2)
Reservoir Hose
(3)
Master Cylinder
(4)
Bolt
(5)
Release Bearing
(6)
Bearing Guide Sleeve
(7)
O-ring
(8)
Input Shaft Seal
(9)
Magnet
(10)
Pin
(11)
Release Lever
(12)
Bushing
(13)
Washer
(14)
Back Up Lamp Switch
(15)
Release Fork
(16)
Hydraulic Clutch Pipe
(17)
Clamp
(18)
Spring Clamp
(19)
Release Cylinder Bracket
(20)
Release Cylinder
(21)
Release Cylinder Assembly
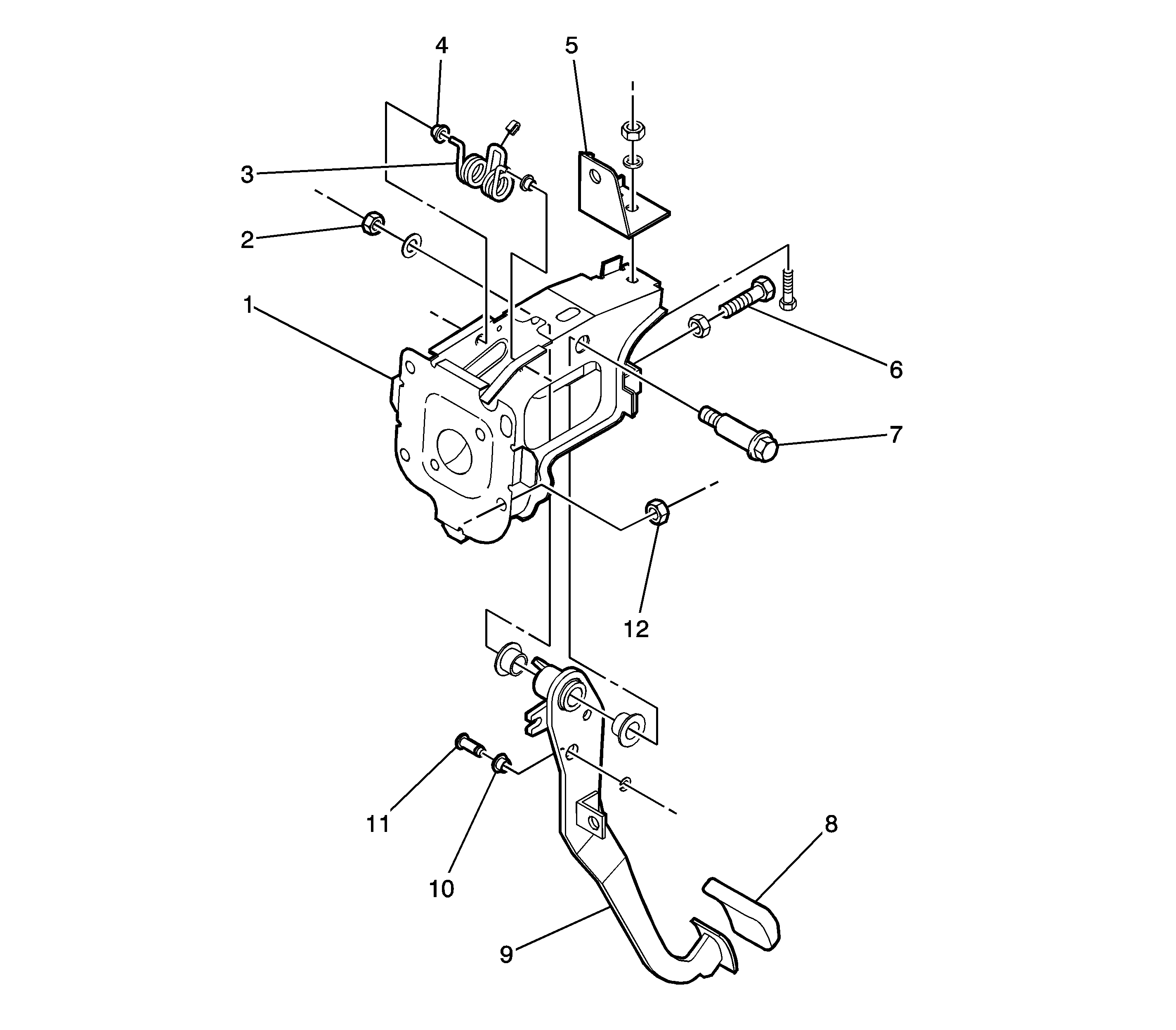
Figure
2:
Clutch Pedal
(1)
Clutch Pedal Brace
(2)
Nut
(3)
Washer Spring
(4)
Spring Bushing
(5)
Pedal Brace Bracket
(6)
Bolt
(7)
Clutch Pedal Shaft
(8)
Pedal Plate Cover
(9)
Clutch Pedal
(10)
Bushing
(11)
Pin
(12)
Nut
Figure
3:
Clutch Disc
(1)
Flywheel
(2)
Clutch Disc
(3)
Pressure Plate
(4)
Release Bearing