GM Service Manual Online
For 1990-2009 cars only

Special Tools

EN-48279 Main Fuel Pump Locking Ring Remover/Installer

For equivalent regional tools, refer to Special Tools.

Removal Procedure

Warning: Refer to Gasoline/Gasoline Vapors Warning in the Preface section.

  1. Disconnect the negative battery cable. Refer to Battery Negative Cable Disconnection and Connection.
  2. Fuel tank draining. Refer to Fuel Tank Draining.
  3. Raise the vehicle by its full height. Refer to Lifting and Jacking the Vehicle.

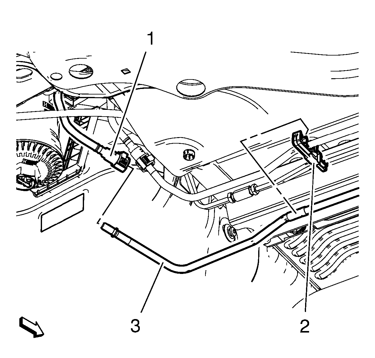
  4. Object Number: 2028094  Size: SH
  5. Disconnect the fuel return pipe (3) from the fuel return pipe connector (1). Refer to Plastic Collar Quick Connect Fitting Service.

  6. Object Number: 2028100  Size: SH
  7. Disconnect the fuel feed pipe (3) from the fuel feed pipe connector (1). Refer to Plastic Collar Quick Connect Fitting Service.

  8. Object Number: 2028107  Size: SH
  9. Disconnect the fuel tank fill EVAP emission pipe quick connect fitting (5) from the fuel tank vent pipe (1). Refer to Plastic Collar Quick Connect Fitting Service.
  10. Loosen the fuel filler pipe clamp (3).
  11. Remove the fuel filler hose (4) from the fuel filler pipe (2).
  12. Place a suitable adjustable jack under the fuel tank.

  13. Object Number: 2028112  Size: SH
  14. Remove the 2 fuel tank strap bolts (2).
  15. Remove the 2 fuel tank straps (1).

  16. Object Number: 2028108  Size: SH
  17. Lower the fuel tank slowly down to a height if the fuel pump wiring harness plug (3) is accessible.
  18. Disconnect the fuel pump wiring harness plug (3) from the fuel pump module (4).
  19. Disconnect the 2 fuel filter wiring harness plugs (1) and (2) from the fuel filter (6).
  20. Unclip the wiring harness from the clip (5) and (7).
  21. Lower the fuel tank down at the full height.

Disassembly Procedure


    Object Number: 2028114  Size: SH
  1. Remove the fuel feed pipe (1) from fuel tank fuel pump module (4) and fuel filter housing (3). Refer to Plastic Collar Quick Connect Fitting Service.
  2. Remove the fuel return pipe (2) from fuel tank fuel pump module (4). Refer to Plastic Collar Quick Connect Fitting Service.

  3. Object Number: 2028116  Size: SH
  4. Install the EN-48253 remover/installer to the fuel pump module lock ring.
  5. Note: Do NOT use impact tools. Significant force will be required to release the lock ring. The use of a hammer and screwdriver is not recommended. Secure the fuel tank in order to prevent fuel tank rotation.

  6. Using the EN-48253 remover/installer and a long breaker-bar, rotate the lock ring in a counterclockwise direction in order to unlock the lock ring.

  7. Object Number: 2028124  Size: SH
  8. Remove the fuel pump module lock ring (1).
  9. Remove the fuel pump module (2)
  10. Note: Lift the fuel pump module up slightly.

  11. Remove and discard the fuel pump module seal (3).

  12. Object Number: 2028120  Size: SH
  13. Remove the fuel filter (2) from the fuel filter bracket (1).
  14. Remove the fuel tank heat shield. Refer to Fuel Tank Heat Shield Replacement.

Assembly Procedure

  1. Install the fuel tank heat shield. Refer to Fuel Tank Heat Shield Replacement.

  2. Object Number: 2028120  Size: SH
  3. Install the fuel filter (2) at the fuel filter bracket (1).

  4. Object Number: 2028124  Size: SH
  5. Install a NEW fuel pump module seal (3).
  6. Install the fuel pump module (2).
  7. Install the fuel pump module lock ring (1).

  8. Object Number: 2028116  Size: SH
  9. Install the EN-48253 remover/installer to the fuel pump module lock ring.
  10. Note: Do NOT use impact tools. Significant force will be required to release the lock ring. The use of a hammer and screwdriver is not recommended. Secure the fuel tank in order to prevent fuel tank rotation.

  11. Using the EN-48253 remover/installer and a long breaker-bar, rotate the lock ring in a clockwise direction in order to lock the lock ring.

  12. Object Number: 2028114  Size: SH
  13. Install the fuel return pipe (2) to the fuel tank fuel pump module (4). Refer to Plastic Collar Quick Connect Fitting Service.
  14. Install the fuel feed pipe (1) to the fuel tank fuel pump module (4) and fuel filter housing (3). Refer to Plastic Collar Quick Connect Fitting Service.

Installation Procedure


    Object Number: 2028108  Size: SH
  1. Raise the fuel tank with a suitable adjustable jack to a height if the fuel pump wiring harness plug (3) is accessible.
  2. Clip in the wiring harness to the clip (5) and (7).
  3. Connect the fuel pump wiring harness plug (3) to the fuel pump module (4).
  4. Connect the 2 fuel filter wiring harness plugs (1) and (2) to the fuel filter (6).

  5. Object Number: 2028112  Size: SH
  6. Install the 2 fuel tank straps (1).
  7. Caution: Refer to Fastener Caution in the Preface section.

  8. Install the 2 fuel tank strap bolts (2) and tighten to  23 N·m (17 lb ft).

  9. Object Number: 2028107  Size: SH
  10. Install the fuel filler hose (4) to the fuel filler pipe (2).
  11. Install the fuel filler pipe clamp (3).
  12. Connect the fuel tank fill EVAP emission pipe quick connect fitting (5) to the fuel tank vent pipe (1). Refer to Plastic Collar Quick Connect Fitting Service.

  13. Object Number: 2028100  Size: SH
  14. Connect the fuel feed pipe (3) from the fuel feed pipe connector (1). Refer to Plastic Collar Quick Connect Fitting Service.

  15. Object Number: 2028094  Size: SH
  16. Connect the fuel return pipe (3) from the fuel return pipe connector (1). Refer to Plastic Collar Quick Connect Fitting Service.
  17. Lower the vehicle by its full height. Refer to Lifting and Jacking the Vehicle.
  18. Connect the negative battery cable. Refer to Battery Negative Cable Disconnection and Connection.