GM Service Manual Online
For 1990-2009 cars only

Special Tools

    • EN 47519 Engine Bridge
    • EN 47650 Retainer Frame
    • EN 47650-030 Extension
    • EN 47650-050 Mounting Rail
    • EN 47650-250 Front Adapter
    • EN 47650-300 Rear Adapter

For equivalent regional tools refer to, Special Tools.

  1. Remove the front fender shipping cover. Refer to Front Fender Shipping Cover Replacement.

  2. Object Number: 2028050  Size: SH

    Note: Do NOT tighten mounting nut (2) and adjustment screws (1).

  3. Install EN 47650-300 adapter  (3) to front compartment rail.
  4. Note: Preset the EN 47650 frame off vehicle.

  5. Preset EN 47650 frame

  6. Object Number: 2028019  Size: SH

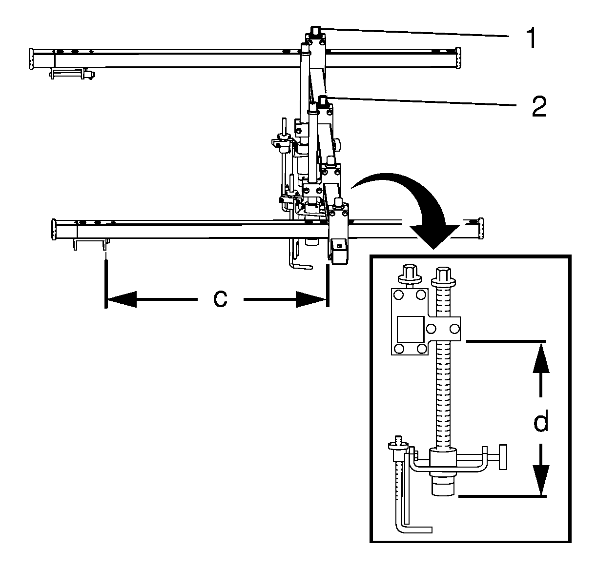
            Note: Outer bars of EN 47650 frame MUST be arranged parallel.

    3.1. Preset width (b) of EN 47650 frame

    Specification
    1425 mm (56 in)

    3.2. Preset distance (b) of EN 47650-250 adapters to outer bars of  EN 47650 frame .

    Specification
    425 mm (17 in)


    Object Number: 2028023  Size: SH
    3.3. Preset length (c) of EN 47650 frame

    Specification
    620 mm (25 in)

    3.4. Preset height (d) of EN 47650-250 adapters

    Specification
    140 mm (5.5 in)

    3.5. Tighten hexagons (1, 2) on both sides

    Object Number: 2028032  Size: SH
  7. With the aid of an assistant install EN 47650 frame  (1) to the vehicle.

  8. Object Number: 2028034  Size: SH
  9. Tighten rear bolts of EN 47650 frame :
  10. 5.1. Insert safety pins (2) through the EN 47650-250 adapters and the side bar to prevent movement.
    5.2. Tighten EN 47650 frame

    to EN 47650-250 adapters with mounting bolts (1).

    5.3. Tighten mounting nuts (4) and of EN 47650-250 adapters .
    5.4. Tighten adjustment nuts (3, 5) of EN 47650-250 adapters .

    Object Number: 2028037  Size: SH
  11. Tighten front side of EN 47650 frame :
  12. 6.1. Align the hook (2) with thumb wheel (3) to upper tie bar.
    6.2. Tighten the hook (2) to upper tie bar, using the thumb wheel (1).

    Object Number: 2028047  Size: SH
  13. Install EN 47650-050 rail  (2) to EN 47650 frame .
  14. Secure EN 7650-050 rail  (2) with safety pins (3, 4).

    Note: Secure chain boxes with hook chains on the outside of engine bride.

  15. Install EN 47519 bridge with the aid of an assistant onto EN 7650-050 rail  (2).
  16. Secure EN 47519 bridge  (5) with safety pins (3, 4).