GM Service Manual Online
For 1990-2009 cars only

    Object Number: 2028179  Size: SH
  1. Remove the manifold absolute pressure sensor (1) from the intake manifold (2).
  2. Remove the intake manifold absolute pressure sensor bolt.


    Object Number: 2028187  Size: SH
  3. Remove the intake manifold mount (2) from the intake manifold (1).

  4. Object Number: 2028190  Size: SH
  5. Remove the throttle body seal (1).
  6. Remove the intake manifold seal (3) from the intake manifold (2).

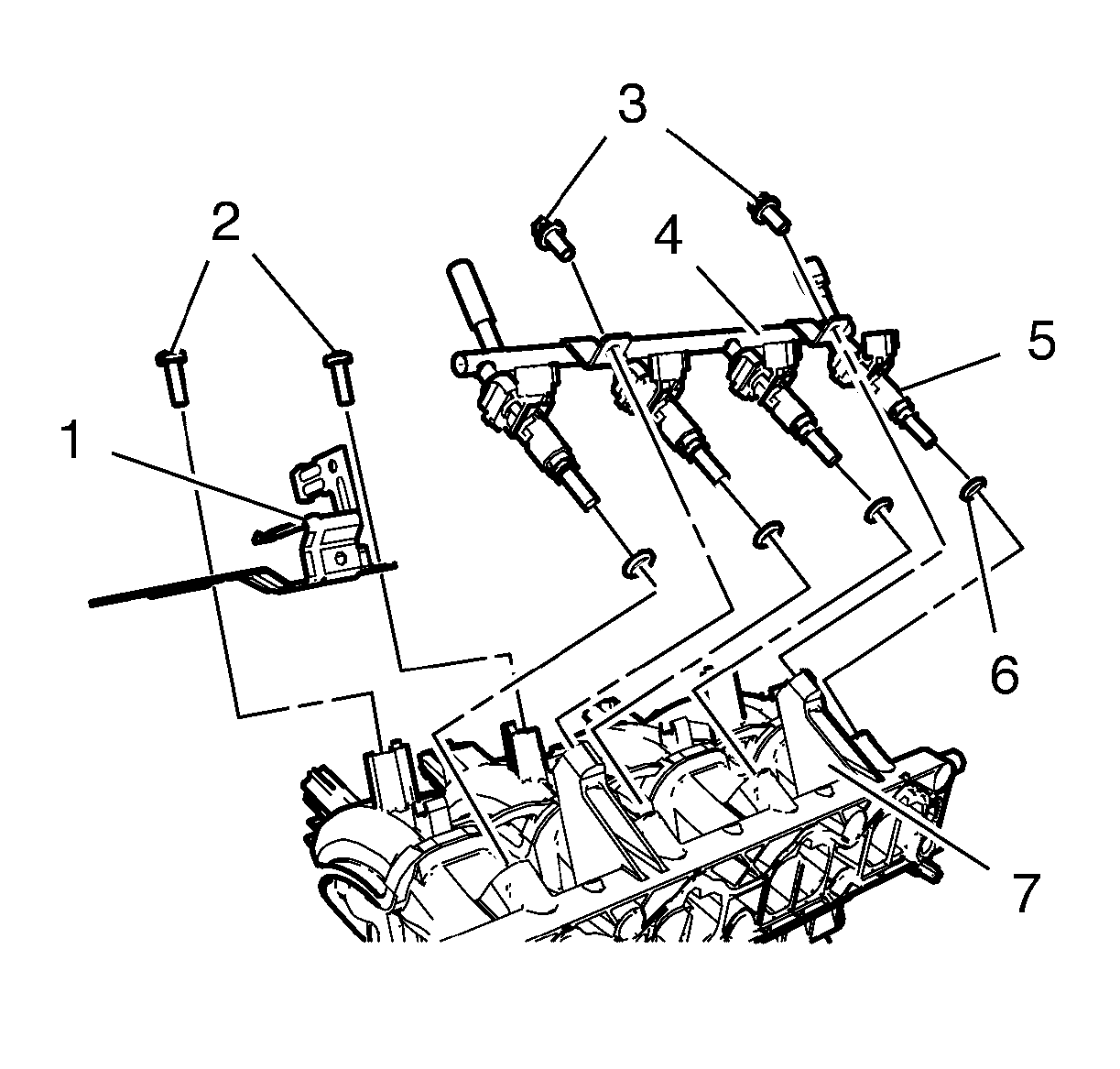
  7. Object Number: 2028209  Size: SH
  8. Remove the 2 evaporative emission canister purge solenoid valve bracket bolts (2).
  9. Remove the evaporative emission canister purge solenoid valve bracket (1) from the intake manifold (7).
  10. Remove the 2 multiport fuel injection fuel rail bolts (3).
  11. Remove the multiport fuel injection fuel rail (4) and the fuel injectors (5) from the intake manifold (7).
  12. Remove the 4 multiport fuel injector seals (6).