GM Service Manual Online
For 1990-2009 cars only

Tools Required

    • J 5590 Installer
    • J 8092 Driver Handle
    • J 29169 Bearing Installer/Remover
    • J 33832 Bearing Installer/Remover
    • J 37668 Seal Installer

    Object Number: 153424  Size: SH
  1. Connect the oil pump pickup to the pickup tube.
  2. Install the following components to the oil pump housing:
  3. • The pickup tube
    • The oil pump pickup
    • The retainer
  4. Install the oil pump front cover. Make sure that the word TOP faces the front of the front case.
  5. Assemble the oil pump pins and the oil pump spring.
  6. • Make sure that the flats of the oil pump pins are facing rearward, toward the output end of the shaft.
    • Place the oil pump spring between the two pins.
  7. Install the oil pump pin and spring assembly into the oil pump bore in the mainshaft.
  8. Lubricate the oil pump housing assembly.
  9. Use Dexron® III automatic transmission fluid or equivalent.

  10. Install the oil pump housing to the mainshaft.
  11. Make sure that the oil pump pins ride against the inside of the pump housing.

  12. Install the oil pump rear cover.
  13. Make sure that the words TOP REAR on the cover face the rear of the transfer case.

    (Make sure that the word TOP on the front and the rear covers are on the same side.)

  14. Install the oil pump retainer with the tabs facing the front of the transfer case.
  15. Install the oil pump retainer bolts.
  16. Rotate the mainshaft while tightening the bolts in order to prevent the pump from binding.

    Tighten
    Tighten the bolts to 6 N·m (55 lb in).

    Notice: Use the correct fastener in the correct location. Replacement fasteners must be the correct part number for that application. Fasteners requiring replacement or fasteners requiring the use of thread locking compound or sealant are identified in the service procedure. Do not use paints, lubricants, or corrosion inhibitors on fasteners or fastener joint surfaces unless specified. These coatings affect fastener torque and joint clamping force and may damage the fastener. Use the correct tightening sequence and specifications when installing fasteners in order to avoid damage to parts and systems.

  17. Inspect the oil pump operation on the mainshaft.
  18. The mainshaft must turn freely within the oil pump. If binding occurs, loosen the four bolts and retighten the bolts.


    Object Number: 153454  Size: SH
  19. Install the compression spring to the lockup collar.
  20. Install the lockup hub that compresses the compression spring.
  21. Install the synchronizer hub snap ring.
  22. Use the J 37668 in order to install the rear output shaft seal to the rear bearing retainer.

  23. Object Number: 153458  Size: SH
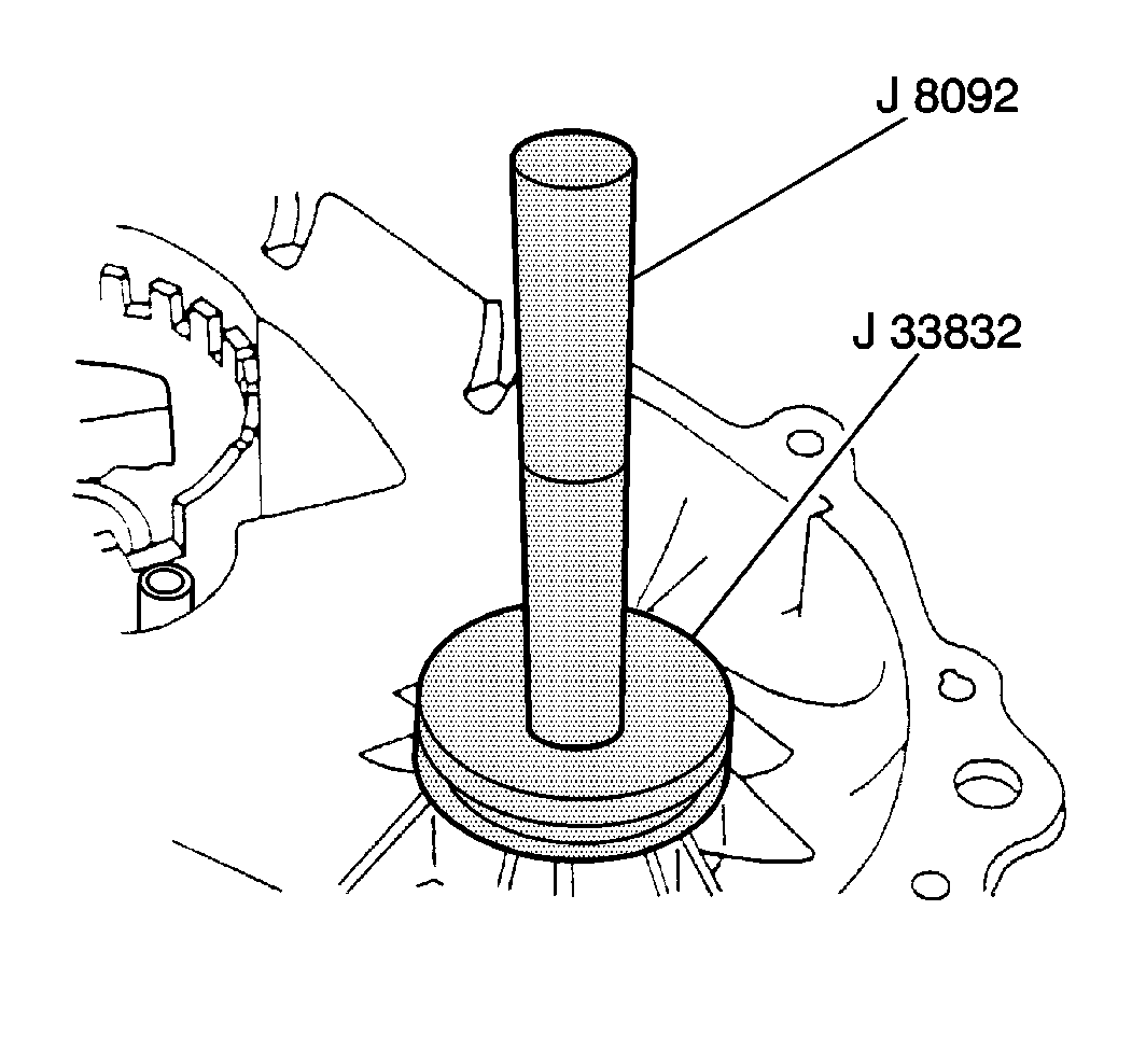
  24. Use the J 8092 and the J 33832 in order to install the front output bearing to the front case.

  25. Object Number: 153449  Size: SH
  26. Install the front output bearing snap ring to the front case.
  27. Use the J 37668 in order to install the front output shaft seal to the front case.
  28. Use the J 8092 and the J 33832 in order to install the rear output bearing to the rear case.

  29. Object Number: 153460  Size: SH
  30. Use the J 8092 and the J 29169 in order to install the front input bearing to the front case.

  31. Object Number: 153442  Size: SH
  32. Install the front input bearing snap ring to the front case.

  33. Object Number: 153438  Size: SH
  34. Install the following components to the front case:
  35. 22.1. The selector
    22.2. The detent spring
    22.3. The detent roller
  36. Install the selector shaft through the case.
  37. Align the selector shaft with the spline on the selector.

  38. Connect the retainer clip to the selector shaft.

  39. Object Number: 153435  Size: SH
  40. Install the power take off drive gear with the large flange side facing the planetary gears and the input carrier assembly to the front case.

  41. Object Number: 153432  Size: SH
  42. Install the input carrier snap ring to the input carrier.
  43. Use the J 37668 in order to connect the input shaft front oil seal to the front case.

  44. Object Number: 153430  Size: SH
  45. Install the annulus gear to the front case.

  46. Object Number: 153427  Size: SH
  47. Install the annulus gear snap ring to the front case.

  48. Object Number: 153425  Size: SH
  49. Install the range fork and the shaft hub.
  50. • Align the shift hub to the carrier assembly.
    • Align the shift fork pin to the slot in the selector.
  51. Install the shift rail through the range fork and into the boss in the front case.

  52. Object Number: 153424  Size: SH
  53. Install the mainshaft and the oil pump assembly into the carrier assembly.
  54. Check the one-way orientation of the hub to the shaft. Line up the wide spline of the shaft to the wide shot in the hub.

  55. Install the front output shaft to the front output bearing.

  56. Object Number: 153423  Size: SH
  57. Install the following components to the mainshaft and the front output shaft, as an assembly:
  58. • The drive gear
    • The driven gear
    • The drive chain

    Important: Driven gear is stamped "rear" be sure to install the driven gear as it was disassembled.

  59. Note the orientation of the master link. Install in the same position it was dissassembled.
  60. Install the flat washer to the front output shaft.

  61. Object Number: 153419  Size: SH
  62. Install the synchronizer assembly and the mode shift fork.
  63. • Align the synchronizer assembly to the mainshaft drive gear.
    • Align the mode fork to the shift rail.
  64. Install the synchronizer hub to the synchronizer assembly.

  65. Object Number: 153418  Size: SH
  66. Install the clutch coil housing and the clutch coil housing snap ring to the mainshaft. The flat side of the snap ring must face the rear of the assembly.
  67. Install the shift rail spring to the shift rail.
  68. Install the clutch coil to the rear case.

  69. Object Number: 153417  Size: SH
  70. Install the clutch coil nuts to the clutch coil.
  71. Tighten
    Tighten the clutch coil nuts to 10 N·m (84 lb in).

  72. Install the clutch coil wire through the rear case.
  73. Connect the clutch coil wire connector to the clutch coil wire.
  74. Apply RTV GM P/N 12345739 or equivalent to the case sealing surfaces.
  75. Attach the rear case half to the front case half.
  76. Important: If equipped with a bracket, the bracket bolt is to be installed at 12 o'clock.

  77. Install the case bolts to case halves.
  78. Tighten
    Tighten the case bolts to 41 N·m (30 lb ft).

  79. Install the rear output bearing snap ring to the mainshaft. The flat side of the snap ring must face the rear of the assembly.
  80. Important: The speedometer tone wheel is important to the proper operation of the following systems:

       • The antilock braking system
       • The speedometer/odometer
       • The cruise control
       • The PCM
    Do not damage the speedometer tone wheel when installing it.

  81. Use the J 5590 in order to install a new speedometer tone wheel to the mainshaft.