GM Service Manual Online
For 1990-2009 cars only

Tools Required

    • J 21362-1 Direct Clutch Piston and Inner Seal Protector
    • J 38732-1 Direct Clutch Piston and Outer Seal Protector
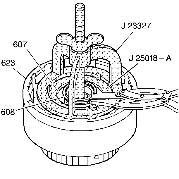
    • J 23327 Clutch Spring Compressor
    • J 25018-A Clutch Spring Compressor Adapter
    • J 38695 Direct Clutch Spiral Retaining Ring Installer

    Object Number: 31050  Size: SH
  1. Install the direct clutch intermediate seal (622) onto the direct clutch housing (623) with the seal lip facing upward.

  2. Object Number: 54630  Size: SH
  3. Lubricate the direct clutch piston seal (619) with DEXRON® III transmission fluid.
  4. Install the J 21362-1 and the J 38732-1 onto the direct clutch housing (623). Lubricate the tools with DEXRON® III transmission fluid.
  5. Install the direct clutch piston (619) into the direct clutch housing (623) using a rotating movement until the direct clutch piston (619) is seated.

  6. Object Number: 28747  Size: SH
  7. Install the direct clutch spring and retainer assembly (607).
  8. Install the J 23327 and the J 25018-A onto the direct clutch housing (623).
  9. Compress the direct clutch spring and retainer assembly (607).
  10. Install the direct clutch spring retainer ring (608).
  11. Remove the tools.

  12. Object Number: 54632  Size: SH
  13. Dip all of the direct clutch plates in DEXRON® III transmission fluid.
  14. Install the direct clutch apply plate (wave) (609).
  15. Install the direct clutch plates (611, 618). Alternate the clutch plates, starting with the steel plate first (5 steel, 5 composite).
  16. Install the direct clutch backing plate (617).
  17. Install the direct clutch backing plate retaining ring (616).

  18. Object Number: 31054  Size: SH
  19. Turn the direct clutch housing (623) over.
  20. Assemble the intermediate clutch sprag assembly (624) and races into the intermediate sprag clutch outer race (625).
  21. Install the intermediate sprag clutch outer race (625) with the grooved side facing up:
  22. • Use a clockwise rotating motion to ease assembly
    • The direct clutch housing should not rotate counterclockwise
  23. Assemble the intermediate sprag clutch retainer (626).

  24. Object Number: 31056  Size: SH
  25. Insert the intermediate sprag clutch retainer retaining ring (627) onto the direct clutch housing hub (623).
  26. Use the J 38695 in order to complete the installation of the intermediate sprag clutch retainer retaining ring. Rotate the J 38695 counterclockwise while pressing down.