GM Service Manual Online
For 1990-2009 cars only
Makes
🢒
Generic
🢒
1998
🢒
Unit Repair
🢒
Transmission/Transaxle
🢒
Automatic Transmission - 4L80-E
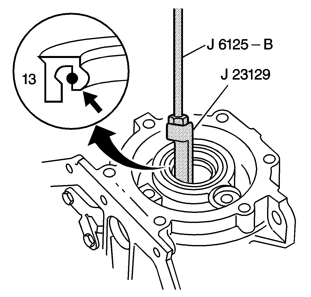
🢒 Output Shaft Seal Removal
Tools Required
•
J 6125-1B
Slide Hammer
•
J 23129
Universal Seal Remover
Remove the output shaft seal retainer ring (14).
Inspect the output shaft seal retainer ring (14) for damage.
Using the
J 23129
and the
J 6125-1B
, remove the output shaft seal (13).