GM Service Manual Online
For 1990-2009 cars only

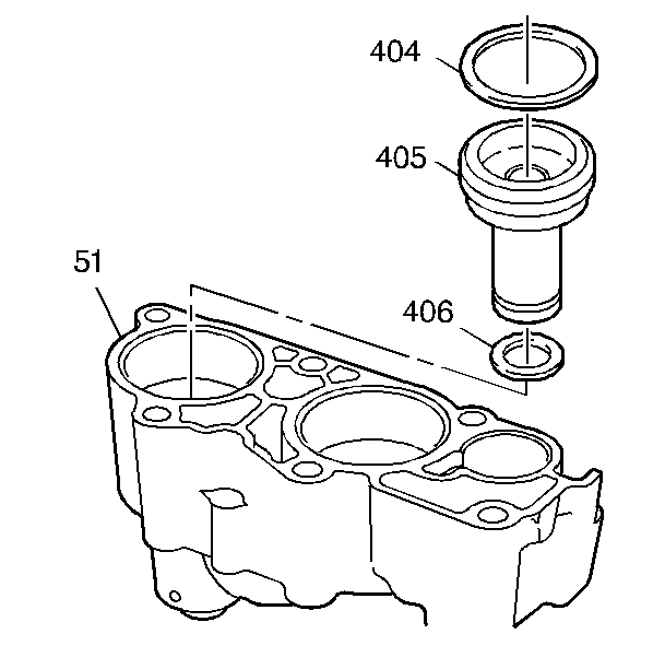
    Object Number: 40611  Size: SH
  1. Install the 3rd clutch accumulator piston inner (406) and outer (404) seals. Lubricate the seals (404, 406) with DEXRON®VI automatic transmission fluid.
  2. Install the 3rd clutch accumulator piston (405) into the 3rd and 4th clutch accumulator housing (51).

  3. Object Number: 56547  Size: SH
  4. Install the 4th clutch accumulator piston seal (404). Lubricate the seal (404) with DEXRON®VI automatic transmission fluid.
  5. Assemble the 4th clutch accumulator piston pin (408) with the 4th clutch accumulator piston (407).
  6. Install the 4th clutch accumulator piston assembly.
  7. Install the 4th clutch accumulator piston pin retainer ring (402).