GM Service Manual Online
For 1990-2009 cars only

Inspection Procedure

Tools Required

    • J 23456 Clutch Pack Compressor
    • J 23327-1 Adaptor
    • J 25018-A Adaptor
    • J 26744-A Lip Seal Installer

    Object Number: 16420  Size: SH
  1. Inspect the forward clutch housing (624) for cracks or broken welds.
  2. Inspect the input shaft splines and the journals for damage.
  3. Inspect the input sleeve for damage, alignment, and for tightness.

  4. Object Number: 16421  Size: SH
  5. Inspect the forward clutch piston (629) for damage or distortion.
  6. Inspect the selective snap ring (621) for damage.

  7. Object Number: 16422  Size: SH
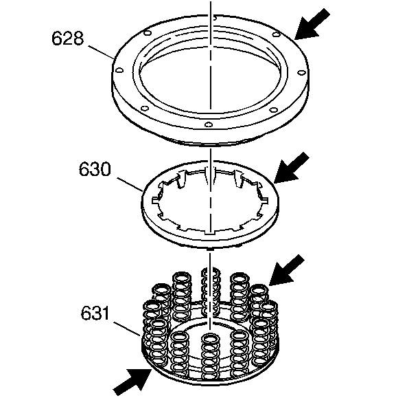
  8. Inspect the forward clutch piston insert (628) for damage.
  9. Inspect the spring guide (630) for damage or distortion.
  10. Inspect the retainer and spring assembly (631) for collapsed springs or for a bent retainer.

  11. Object Number: 16423  Size: SH
  12. Inspect the composition and steel plates (633) for wear or burning. Replace plates if necessary.
  13. Inspect the belleville plate (625) for wear and flattening.
  14. Inspect the forward clutch backing plate (634) for damage or cracks.

Installation Procedure


    Object Number: 16424  Size: SH
  1. Install the piston insert (628) into the piston (629). Retain with TRANSJEL™ or equivalent.
  2. Affix the inner and the outer seals (627, 626) onto the forward clutch piston (629).

  3. Object Number: 16392  Size: SH
  4. Align the piston seals (626, 627) in the position shown.

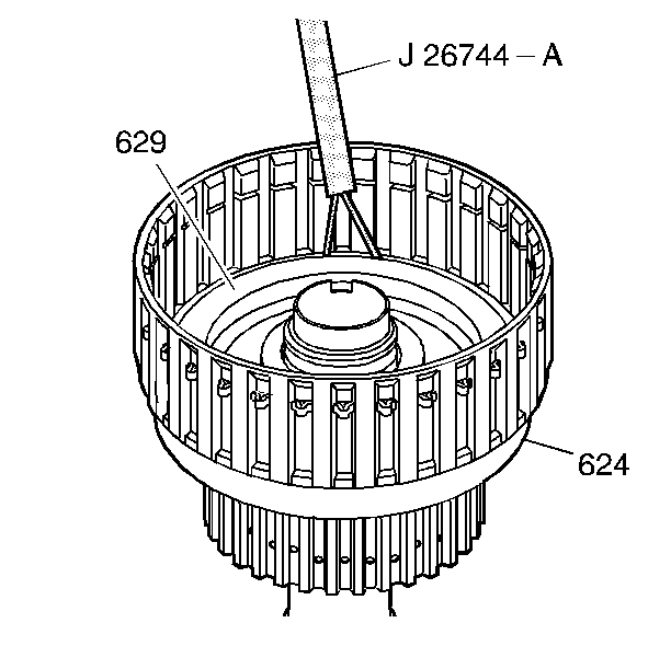
  5. Object Number: 16427  Size: SH
  6. Use J 26744-A and TRANSJEL™ or equivalent in order to insert the forward clutch piston (629) into the forward clutch housing (624). Insert the inner seal first.

  7. Object Number: 16428  Size: SH
  8. Insert the spring guide (630) into the clutch housing (624).
  9. Insert the spring and retainer assembly (631) into the housing.

  10. Object Number: 16416  Size: SH
  11. Position the forward clutch housing (624) into the press. Install the retainer ring (632).

  12. Object Number: 16415  Size: SH
  13. Assemble the belleville plate (625) into the forward clutch housing assembly (624).
  14. Lubricate the composition clutch plates (633) with DEXRON III™ automatic transmission fluid before assembly.
  15. Insert the clutch plates (633) into the housing, starting with a steel plate and alternating with a composition plate.

  16. Object Number: 16430  Size: SH
  17. Insert the backing plate (634) with the identification side up.
  18. Install the clutch snap ring (617) into the housing (624).

  19. Object Number: 16419  Size: SH

    Important: The scarf cut seal ring ends must overlap each other as shown in the diagram.

  20. Affix new ring seals (622) onto the input shaft.