GM Service Manual Online
For 1990-2009 cars only

    Object Number: 20759  Size: SH
  1. Install the 3-2 regulating control valve (356).
  2. Install the 3-2 regulating control valve spring (355).
  3. Install the valve retaining pin (307).

  4. Object Number: 20758  Size: SH
  5. Install the pressure regulator valve (365).
  6. Install the reverse regulator spring (364), and the throttle valve and reverse boost valve spring (360).
  7. Install the reverse boost valve (363).

  8. Object Number: 20757  Size: SH
  9. Install the throttle valve (369).
  10. Install the throttle valve retaining pin (306).
  11. Install the throttle valve spring (368) and plunger (367).
  12. Install the throttle valve bushing (366).
  13. Install the bushing retaining pin (304).

  14. Object Number: 20756  Size: SH
  15. Install the line boost valve (303).
  16. Install the line boost valve bore plug (302).
  17. Install the bore plug retaining pin (305).
  18. Install the pressure regulator bore plug (372).
  19. Install the bore plug retainer (373).

  20. Object Number: 20755  Size: SH
  21. Install the shift throttle valve (308).
  22. Install the shift throttle valve spring (309).
  23. Install the bore plug (310\382).
  24. Install the retaining pin (304).

  25. Object Number: 20754  Size: SH
  26. Install the pressure relief ball valve (311).
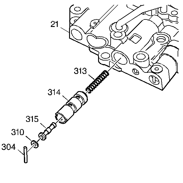
  27. Install the ball valve spring (312).
  28. Install the spring retaining pin (307).

  29. Object Number: 20753  Size: SH
  30. Install the 1-2 accumulator valve spring (313).
  31. Install the 1-2 accumulator bushing (314).
  32. Install the 1-2 accumulator valve (315) and bore plug (310).
  33. Install the 1-2 accumulator valve retainer (304).

  34. Object Number: 20752  Size: SH
  35. Install the 2-3 shift valve (316) into the valve body.
  36. Assemble the 2-3 throttle valve spring (318) and the throttle valve (317) into the 2-3 throttle valve sleeve (319).
  37. Install the 2-3 throttle valve retainer (377) into the sleeve (319).
  38. Install the 2-3 throttle valve and sleeve assembly (319) into the valve body.
  39. Install the 2-3 throttle valve sleeve retaining pin (304).

  40. Object Number: 20751  Size: SH
  41. Install the 1-2 shift valve (320) into the valve body.
  42. Assemble the 1-2 throttle valve spring (322) and the 1-2 throttle valve (321) into the 1-2 throttle valve sleeve (323).
  43. Install the 1-2 throttle valve retainer (377) into the throttle valve sleeve (323).
  44. Install the 1-2 throttle valve and sleeve assembly (323) into the valve body.
  45. Install the sleeve retainer (304).

  46. Object Number: 20750  Size: SH
  47. Install the low blow off ball valve (324).
  48. Install the low blow off valve seat and spring (325).
  49. Install the low blow off valve plug (326).