GM Service Manual Online
For 1990-2009 cars only

Tools Required

    • J 23456 Clutch Pack Compressor
    • J 23327-1 Adaptors
    • J 25018-A Adaptors

    Object Number: 16431  Size: SH
  1. Use a flat blade screwdriver in order to remove the direct clutch retaining ring (617) from the direct clutch housing (610).

  2. Object Number: 16432  Size: SH
  3. Remove the direct clutch backing plate (619).
  4. Remove the composition and steel clutch plates (618).

  5. Object Number: 16433  Size: SH
  6. Using J 23456 or an Arbor Press, J 23327-1 , J 25018-A , and a flat blade screw driver, remove the forward and direct clutch retainer ring (617).

  7. Object Number: 16434  Size: SH
  8. Remove the apply ring and the release spring assembly (616).
  9. Remove the piston assembly (615).
  10. Remove the inner and outer seals (614, 612) from the direct clutch piston (615).

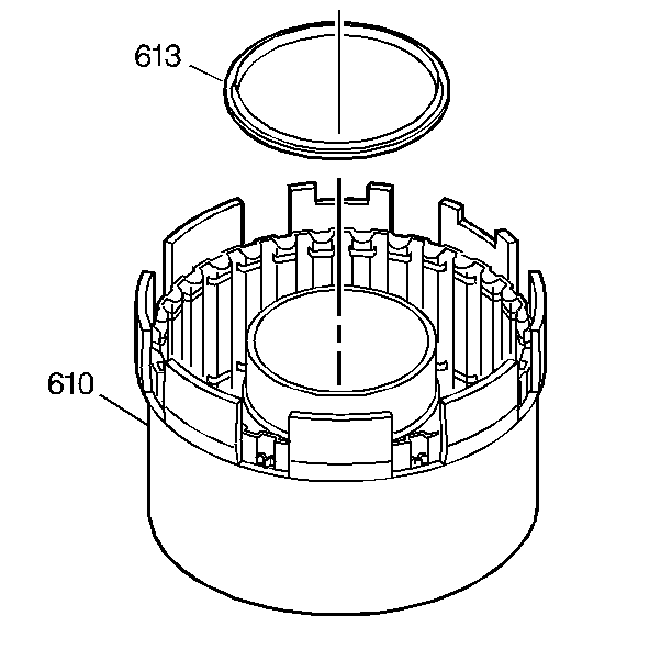
  11. Object Number: 16435  Size: SH
  12. Remove the center seal (613) from the direct clutch housing (610).