GM Service Manual Online
For 1990-2009 cars only

    Object Number: 15720  Size: SH
  1. Remove the four bolts (141) from the intermediate servo cover (137).
  2. Remove the oil pipe retainer (140) from the low and reverse clutch apply oil pipe.
  3. Remove the servo cover (137) and the servo cover gasket (136).
  4. Remove the servo piston assembly (133).

  5. Object Number: 15722  Size: SH
  6. Remove the third accumulator exhaust valve (126) and the spring (125).

  7. Object Number: 15892  Size: SH
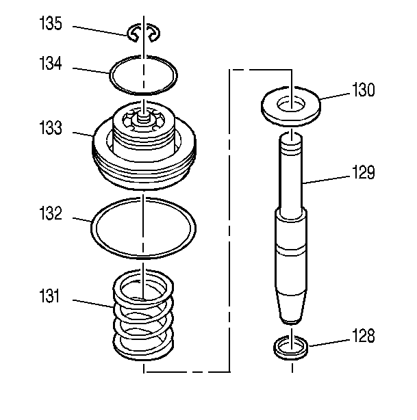
  8. Remove the retainer ring (135) from the intermediate servo piston assembly (133).
  9. Remove the following parts:
  10. • The servo piston (133)
    • The spring (131)
    • The retainer washer (130)
  11. Remove the inner and the outer servo seals (134, 132).
  12. Remove the fluid seal ring (128) from the apply pin (129).