GM Service Manual Online
For 1990-2009 cars only
Makes
🢒
Generic
🢒
1998
🢒
Unit Repair
🢒
Transmission/Transaxle
🢒
Automatic Transaxle - 3T40
🢒 Differential to Case Bushing Disassemble
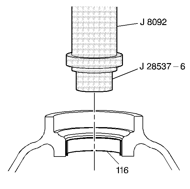
Tools Required
•
J 28537
Bushing Remover
•
J 8092
Driver
Assemble
J 28537
and
J 8092
.
Use a mallet on
J 8092
in order to drive the bushing (116) out of the case. The bushing may be reusable. Check the bushing for excessive wear.