GM Service Manual Online
For 1990-2009 cars only

    Object Number: 16370  Size: SH
  1. Separate the reaction internal gear (668), the thrust bearing (667), and the shaft (669).
  2. Inspect the shaft (669) for damage or wear.
  3. Inspect the reaction internal gear (668) for damage or wear.
  4. Inspect the thrust bearing (667) for damage or wear.

  5. Object Number: 16371  Size: SH
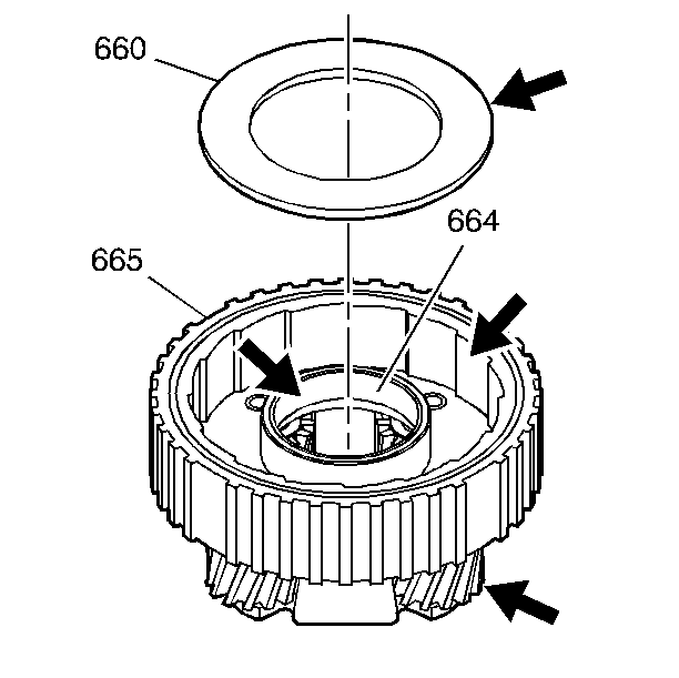
  6. Inspect the selective spacer (660) for damage.
  7. Inspect the roller clutch cam portion of the reaction carrier assembly (665) for wear or damage.
  8. Inspect the carrier bushing (664) for wear or damage.
  9. Inspect the reaction pinions for damage, rough bearings, or wear.

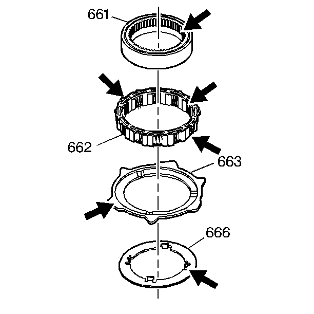
  10. Object Number: 16372  Size: SH
  11. Inspect the clutch race (661) for damage, cracks, or wear.
  12. Inspect the rollers, the springs, and the cage (662) for damage or wear.
  13. Inspect the reaction carrier washer (663) for damage.
  14. Inspect the carrier thrust washer (666) for scoring or distortion.