GM Service Manual Online
For 1990-2009 cars only

    Object Number: 20733  Size: SH
  1. On some models, remove the third clutch pressure switch (335).
  2. Remove the governor pressure switch (338) (the second clutch switch on some models).

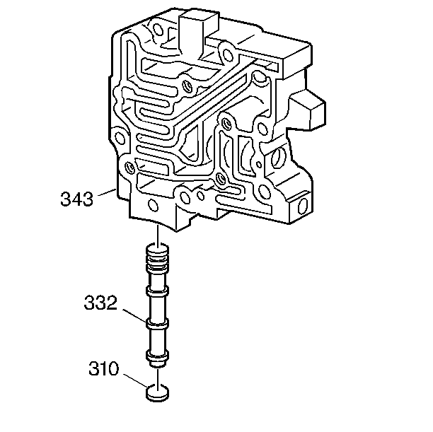
  3. Object Number: 20734  Size: SH
  4. Remove the converter clutch control valve bore plug (310) and remove the control valve (332).

  5. Object Number: 20735  Size: SH
  6. Remove the following parts:
  7. • The orifice control valve spring retainer (304)
    • The spring (381)
    • The valve (380)

    Object Number: 20736  Size: SH
  8. Remove the auxiliary valve body filter (357).
  9. Remove the auxiliary valve body sleeve (344).