GM Service Manual Online
For 1990-2009 cars only

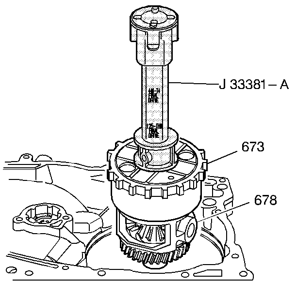
Tools Required

J 33381-A Final Drive Unit Remover and Installer


    Object Number: 15887  Size: SH
  1. Remove J 33381-A from the differential carrier (673) and final drive assembly (678).

  2. Object Number: 16259  Size: SH
  3. Remove the final drive internal gear (673).
  4. Remove the thrust bearing (674) connecting the sun gear to the internal gear (673).
  5. Remove the sun gear (675).
  6. In some models, remove the thrust bearing (676) connecting the sun gear to the final drive carrier (678).