GM Service Manual Online
For 1990-2009 cars only

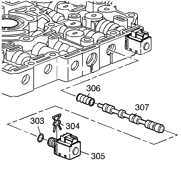
    Object Number: 20867  Size: SH
  1. Install the 1-2 shift valve spring (301), the 1-2 shift valve (302), the 1-2 shift solenoid (305) with O-ring (303) and the 1-2 shift solenoid retainer clip (304).

  2. Object Number: 20866  Size: SH
  3. Install the 2-3 shift valve spring (306), the 2-3 shift valve (307), the 2-3 shift solenoid (305) with O-ring (303) and the 2-3 shift solenoid retainer clip (304).

  4. Object Number: 20865  Size: SH
  5. Install the torque signal regulator spring (308), the torque signal regulator valve (309), the Pressure Control Solenoid (PCS) with two O-rings and screen (312, 309, 310) and the PCS retainer clip (304).

  6. Object Number: 20864  Size: SH
  7. Install the actuator oil filter (314), with the O-ring (313) and the actuator oil filter retainer clip (304).

  8. Object Number: 20863  Size: SH
  9. Install the actuator feed limit valve (315), the actuator feed limit spring (316), the bore plug (317) and the actuator feed limit valve retainer clip (304).

  10. Object Number: 20862  Size: SH
  11. Install the 3-4 shift valve spring (318), the 3-4 shift valve (319), the bore plug (321), with O-ring (320) and the 3-4 shift valve retainer clip (304).

  12. Object Number: 55113  Size: SH
  13. Install the accumulator valve (323), the plug (341) and the 1-2/3-4 accumulator valve retainer clip (304).

  14. Object Number: 20872  Size: SH
  15. Install the pressure regulator valve (328), the pressure regulator valve spring (327), the isolator spring (326), the pressure regulator boost valve (325), the bushing (324) and the pressure regulator valve retainer clip (304).

  16. Object Number: 20871  Size: SH
  17. Install the 2-3 accumulator valve (330), the 2-3 accumulator valve spring (329), the 2-3 accumulator valve bore plug (317) and the 2-3 accumulator valve retainer clip (304).

  18. Object Number: 20870  Size: SH
  19. Install the TCC feed limit valve (332), the spring (331), the bore plug (317) and the TCC feed limit valve retainer clip (304).

  20. Object Number: 20869  Size: SH
  21. Install the TCC control valve (334), the spring (333), the bore plug (317) and the TCC control valve retainer clip (304).

  22. Object Number: 20868  Size: SH
  23. Install the spring (340), the TCC regulated apply valve (339), the TCC solenoid (335) with two O-rings (337 and 338) and screen, and the TCC solenoid retainer clip (304).