GM Service Manual Online
For 1990-2009 cars only

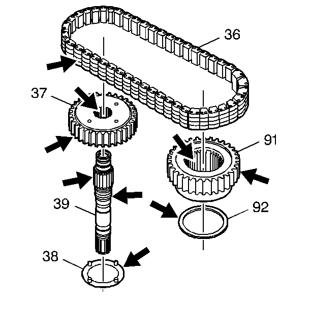
    Object Number: 20313  Size: SH
  1. Remove the turbine shaft to drive sprocket snap ring (35).
  2. Remove the drive sprocket (37) from the turbine shaft (39).
  3. Remove the three Teflon seals (33 and 40) from the turbine shaft.
  4. Discard the Teflon seals (33 and 40).

  5. Object Number: 25658  Size: SH
  6. Inspect the drive sprocket (37) , the driven sprocket (91) , the drive link assembly (36), and the turbine shaft (39) for damage or excessive wear.
  7. Inspect the seal grooves for damage.
  8. Inspect the thrust washers for damage or excessive wear.
  9. Clean and dry each of the components.