GM Service Manual Online
For 1990-2009 cars only

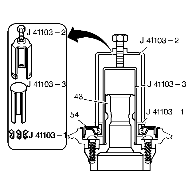
Tools Required

    • J 41103-1 Torque Converter Seal Puller Legs
    • J 41103-2 Torque Converter Seal Puller Bridge
    • J 41103-3 Torque Converter Seal Support Body

    Object Number: 20211  Size: SH
  1. Insert the three J 41103-1 puller legs under the Torque Converter Seal (54).
  2. Insert the J 41103-3 support body over the stator shaft (43).
  3. Insert the J 41103-2 puller bridge over the J 41103-3 support body. Connect the J 41103-1 puller legs into the slots on the J 41103-2 bridge.
  4. Important: The puller legs will damage the torque converter seal (54). Discard the torque converter seal (54) after removal.

  5. Tighten the forcing screw on the J 41103-2 puller bridge until the J 41103-1 puller legs remove the torque converter seal (54).