GM Service Manual Online
For 1990-2009 cars only

Object Number: 20249  Size: SH

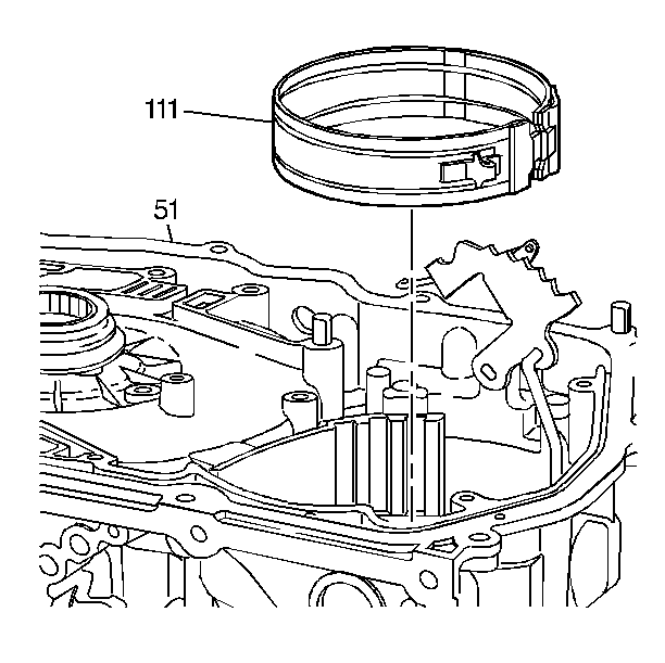
Install the low/reverse band (111) into the transmission case (51). Align the servo pin apply surface toward the bottom pan and hook the band into the band anchor pin inside the transmission case (51).