GM Service Manual Online
For 1990-2009 cars only

Tools Required

    • J 23327 Clutch Spring Compressor
    • J 41232 Return Spring Compressor
    • J 41233 Inner Seal Installer

    Object Number: 20297  Size: SH
  1. If the reverse clutch inner seal assembly (456) was damaged and removed, install a new reverse clutch inner seal assembly (456). Use the J 41233 .
  2. Assemble the reverse clutch piston and seal assembly (456). In order to aid in the assembly, lubricate the seal with transmission fluid.
  3. Assemble the reverse clutch return spring and retainer assembly (458) with the smaller outside diameter down.

  4. Object Number: 20292  Size: SH
  5. Compress the reverse clutch return spring. Use the J 41232 and J 23327 .
  6. Assemble the return spring snap ring (459).
  7. Remove the J 41232 and J 23327 .

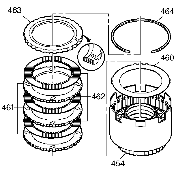
  8. Object Number: 55136  Size: SH
  9. Assemble the wave plate (460).
  10. Assemble the three steel plates (461) and the three new fiber plates (462) in alternating order beginning with a steel plate (461).

  11. Object Number: 20298  Size: SH
  12. Measure the distance between the top of the snap ring groove and the top friction plate (record measurement).
  13. Refer to the Reverse Clutch Backing Plate Specifications table in Transmission General Specifications (Unit Repair) , in order to select the appropriate backing plate required to assemble the reverse input and 2nd roller clutch assembly. You will find the backing plate identification stamped onto the beveled side of the backing plate.
  14. Assemble the reverse clutch backing plate with the beveled edge up.
  15. Assemble the snap ring in the reverse clutch housing in order to retain the reverse clutch plates.