GM Service Manual Online
For 1990-2009 cars only

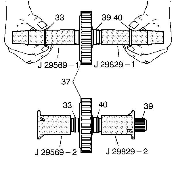
Tools Required

    • J 29569-1 Turbine Shaft Seal Installer
    • J 29569-2 Turbine Shaft Seal Sizer
    • J 29829-1 Turbine Shaft Seal Installer
    • J 29829-2 Turbine Shaft Seal Sizer

    Object Number: 20874  Size: SH
  1. Assemble the drive sprocket (37) onto the turbine shaft (39).
  2. Retain the drive sprocket with the turbine shaft to drive sprocket snap ring (35).

  3. Object Number: 20314  Size: SH
  4. In order to assemble three new Teflon seals (33, 40) onto the turbine shaft (39), perform the following procedure:
  5. 3.1. Slide the J 29569-1 over the large spline of the turbine shaft.
    3.2. Coat the J 29569-1 with transmission fluid.
    3.3. Use your fingers in order to guide the new Teflon™ seals over theJ 29569-1 and into the seal ring grooves on the turbine shaft.
    3.4. Remove the J 29569-1 when the seals are in place.
    3.5. Size the new Teflon™ seals. Use both halves of the J 29569-2 .
    3.6. In order to properly size the seals, keep the J 29569-2 in place for five minutes.
    3.7. Repeat steps 3.1 thru 3.6 with J 29829-1 and J 29829-2 on the small splined side of the turbine shaft.