GM Service Manual Online
For 1990-2009 cars only

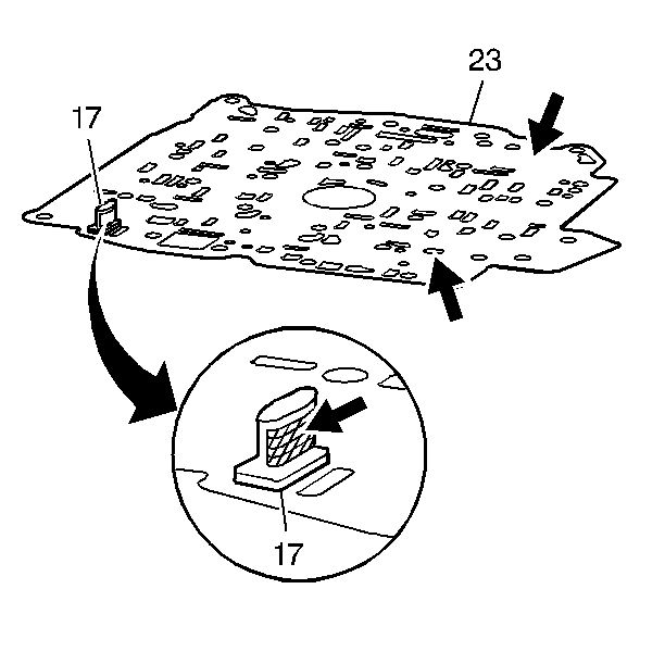
    Object Number: 25528  Size: SH
  1. Inspect the spacer plate and spacer plate filter for damage.
  2. If damaged, replace the spacer plate (23) and spacer plate filter (17).

  3. Object Number: 20175  Size: SH
  4. Install a new spacer plate to channel plate gasket (24) onto the channel plate.
  5. Install the spacer plate (23) on top of the gasket and channel plate.
  6. Notice: Use the correct fastener in the correct location. Replacement fasteners must be the correct part number for that application. Fasteners requiring replacement or fasteners requiring the use of thread locking compound or sealant are identified in the service procedure. Do not use paints, lubricants, or corrosion inhibitors on fasteners or fastener joint surfaces unless specified. These coatings affect fastener torque and joint clamping force and may damage the fastener. Use the correct tightening sequence and specifications when installing fasteners in order to avoid damage to parts and systems.

  7. Install the spacer plate support (21) and the two bolts (20) onto the spacer plate. Hand start the bolts.
  8. Tighten
    Tighten the bolts to 14 N·m (10.5 lb ft).