GM Service Manual Online
For 1990-2009 cars only

Caution: Valve springs can be tightly compressed. Use care when removing retainers and plugs. Personal injury could result.

Important: Position the control valve assembly on a clean surface before disassembly.

Important: All valves, springs, and bushings must be laid out on a clean surface in exactly the same way in which the parts are removed. This will aid reassembly.


    Object Number: 690022  Size: SH
  1. Remove the spring clip retainer (314) from the torque converter clutch (TCC) solenoid.
  2. Remove the TCC solenoid valve (315) and seal (316).
  3. Remove the converter clutch valve (335).

  4. Object Number: 12958  Size: SH
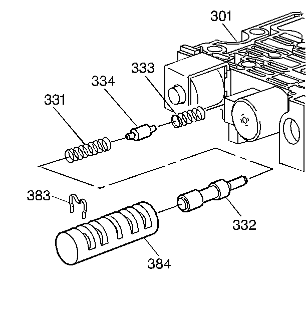
  5. Remove the retainer (383) from the sleeve (384) of the TCC regulator valve (332).
  6. Remove the sleeve (384), the TCC regulator valve (332), and the spring (331).
  7. Remove the isolator valve (334) and the spring (333).

  8. Object Number: 12960  Size: SH
  9. Remove the retainer (324) from the PWM solenoid valve assembly.
  10. Remove the PWM solenoid valve assembly (325).
  11. Remove the solenoid valve seals (326, 327).

  12. Object Number: 12962  Size: SH
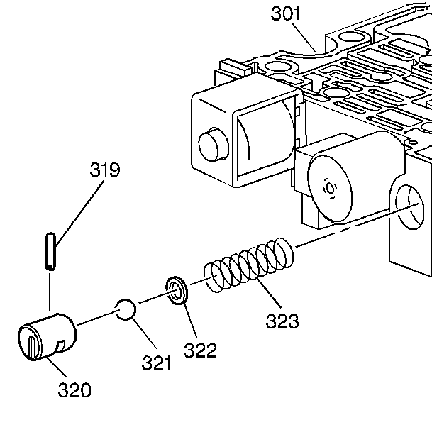
  13. Remove the retaining pin (319) from the oil pump pressure relief valve.
  14. Remove the bushing (320) from the oil pump pressure relief valve.
  15. Remove the pressure relief valve (321), the valve seat (322), and the spring (323).

  16. Object Number: 12963  Size: SH
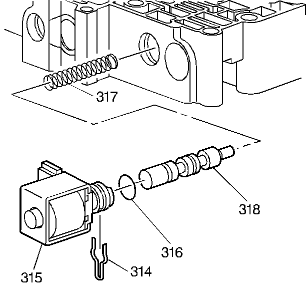
  17. Remove the retainer (314) from the 1-2, 3-4 shift solenoid valve assembly (315).
  18. Remove the 1-2, 3-4 shift solenoid valve assembly (315) and the valve seal (316).
  19. Remove the 1-2 shift valve (318).
  20. Remove the 1-2 shift valve spring (317).

  21. Object Number: 12966  Size: SH
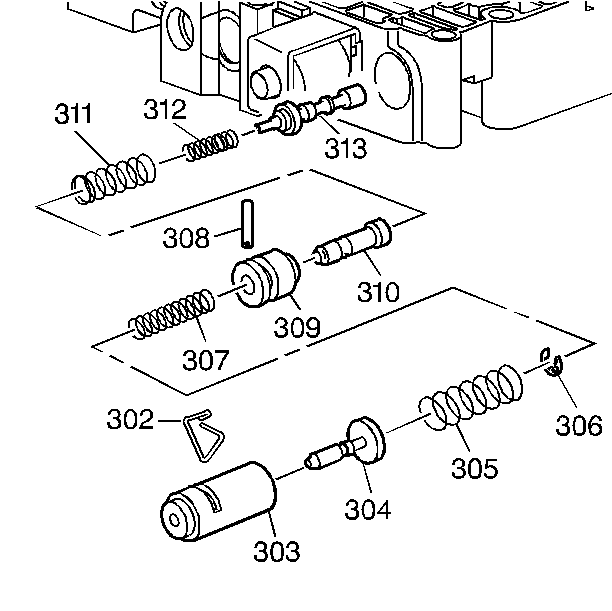
  22. Remove the retainer (302) from the line boost valve.
  23. Remove the bore plug (303) from the line boost valve, the valve (304), and the spring (305).
  24. Remove the retainer (306) from the pressure regulator.
  25. Remove the reverse boost spring (307).
  26. Remove the bushing retainer (308) from the reverse boost valve.
  27. Remove the bushing (309) from the reverse boost valve.
  28. Remove the reverse boost valve (310), the springs (311, 312), and the pressure regulator valve (313).

  29. Object Number: 12967  Size: SH
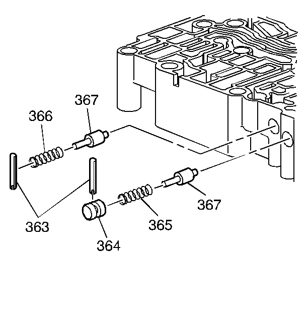
  30. Remove the coiled spring pin (363) and the valve spring (366) from the forward servo boost valve.
  31. Remove the forward servo boost valve (367).
  32. Remove the coiled spring pin (363) and the valve spring (365) from the reverse servo boost valve.
  33. Remove the bore plug (364) from the reverse servo boost valve.
  34. Remove the reverse servo boost valve (367).

  35. Object Number: 12968  Size: SH
  36. Remove the retainer (314) from the 2-3 shift solenoid valve.
  37. Remove the 2-3 shift solenoid valve assembly (315).
  38. Remove the shift solenoid valve seal (316).

  39. Object Number: 12969  Size: SH
  40. Remove the plug retainer (358) from the 4-3 manual downshift valve.
  41. Remove the bore plug (359) from the 4-3 manual downshift valve.
  42. Remove the 4-3 manual downshift valve (360) and the spring (361).
  43. Remove the 3-4 shift valve (362).

  44. Object Number: 12972  Size: SH
  45. Remove the bore plug retainer (353) from the 2-3 shift valve.
  46. Remove the bore plug (354).
  47. Remove the spring (355) from the 3-2 manual downshift valve.
  48. Remove the 3-2 manual downshift valve (356).
  49. Remove the 2-3 shift valve (357).

  50. Object Number: 12973  Size: SH
  51. Remove the retainer (385) from the 1-2 accumulator valve bushing.
  52. Remove the 1-2 accumulator valve bushing (349) and the 1-2 accumulator valve assembly.
  53. Remove the plug retainer (338) from the 1-2 accumulator valve bushing.
  54. Remove the plug (346), the valve (347), and the spring (348) from the 1-2 accumulator valve bushing.
  55. Remove the retainer (385) from the 3-4 accumulator valve bushing assembly.
  56. Remove the 3-4 accumulator valve (350) and the spring (351) from the bushing.
  57. Remove the 3-4 accumulator valve bushing (352).

  58. Object Number: 12975  Size: SH
  59. Remove the retainer (385) from the 1-2 accumulator valve bushing.
  60. Remove the 1-2 accumulator valve bushing (342) and the 1-2 accumulator valve assembly.
  61. Remove the plug retainer (338) from the 1-2 accumulator valve bushing.
  62. Important: The position of the valve and the spring in the 1-2 accumulator assembly may vary by model.

  63. Remove the plug (339), the 1-2 accumulator valve (341), and the spring (340) from the bushing.
  64. Remove the retainer (385) from the 2-3 accumulator valve bushing assembly.
  65. Remove the 2-3 accumulator valve (343) and the spring (344) from the bushing.
  66. Remove the 2-3 accumulator valve bushing (345).