GM Service Manual Online
For 1990-2009 cars only
Figure 1:

Transmission Major Component Locations


Object Number: 203004  Size: LF
(1)Torque Converter Assembly
(2)Manual Shaft
(3)Reverse Servo Assembly
(4)Parking Lock Actuator
(5)3rd Sprag Clutch Assembly
(6)Input Sprag Clutch Assembly
(7)Input Carrier Assembly
(8)Reaction Carrier Assembly
(9)1-2 Support Assembly
(10)1-2 Support Roller Clutch Assembly
(11)Final Drive Differential Assembly
(12)Speed Sensor
(13)Case Extension
(14)Forward Servo Assembly
(15)Forward Band Assembly
(16)2-1 Band Assembly
(17)2-1 Manual Servo Assembly
(18)Input Clutch Assembly
(19)3rd Clutch Assembly
(20)2nd Clutch Assembly
(21)Reverse Band Assembly
(22)Driven Sprocket Support
(23)Filter Assembly
(24)Driven Sprocket
(25)4th Clutch Assembly
(26)4th Clutch Hub and Shaft Assembly
(27)Output Shaft
(28)Drive Link Assembly
(29)3-4 Accumulator Assembly
(30)Channel Plate Assembly
(31)Drive Sprocket
(32)Control Valve Body Assembly
(33)Pump Assembly
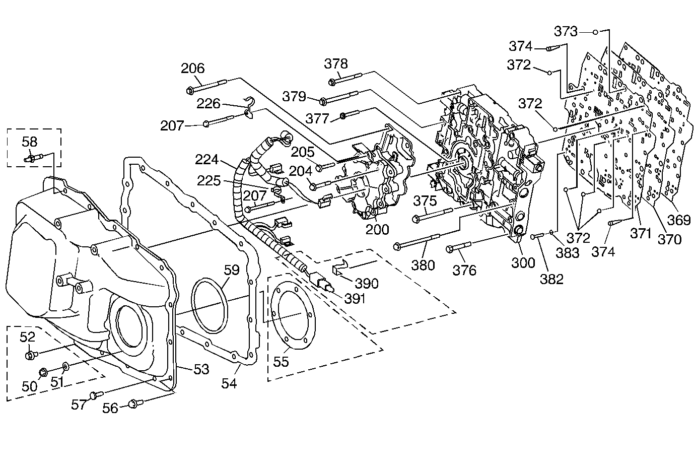
Figure 2:

Case and Associated Parts (1 of 4)


Object Number: 13057  Size: MF
(50)Case Side Cover Nut M6 1.0 (6)
(51)Conical Washer (6)
(52)Screw and Conical Washer Assembly--Side Cover M8 X 1.25 X 21.3 (17)
(53)Case Side Cover Pan
(54)Case Side Cover Gasket
(55)Inner Case Side Cover Gasket
(56)Structural Side Cover Metric Hex Bolt (11)
(57)Structural Side Cover Torx Head Bolt (4)
(58)Structural Side Cover to Case Stud (2)
(59)Structural Side Cover to Channel Plate Seal
(200)Oil Pump Complete Body Assembly
(204)Pump Cover to Valve Body Bolt M6 X 1.0 X 45.0 (1)
(205)Pump Cover to Pump Body Bolt M8 X 1.25 X 20.0 (1)
(206)Pump Body to Case Bolt M8 X 1.25 X 95.0 (2)
(207)Pump Cover to Channel Plate Bolt M6 X 1.0 X 85.0 (10)
(207)Pump Cover to Channel Plate Bolt M6 X 1.0 X 85.0 (10)
(224)Wiring Harness Assembly
(225)Conduit Clip
(226)Conduit Clip
(300)Control Valve Body Assembly
(369)Channel Plate/Spacer Plate Gasket
(370)Valve Body Spacer Plate Assembly
(371)Valve Body to Spacer Plate Assembly
(372)0.25 Diameter Ball
(372)0.25 Diameter Ball
(372)0.25 Diameter Ball
(373)Ball
(374)Filter
(374)Filter
(375)Valve Body to Case Bolt M8 X 1.25 X 70.0 (3)
(376)Valve Body to Case Bolt M6 X 1.0 X 35.0 (1)
(377)Valve Body to Channel Plate Bolt M6 X 1.0 X 45.0 (2)
(378)Valve Body to Channel Plate Bolt M6 X 1.0 X 55.0 (6)
(379)Special Valve Body to Case Bolt M8 X 1.25 X 85.0 (1)
(380)Valve Body to Case Bolt M8 X 1.25 X 90.0 (2)
(382)Converter Clutch Assembly Screen Assembly
(383)Seal, TCC Screen (O-Ring)
(390)Temperature Sensor Clip
(391)Temperature Sensor
Figure 3:

Case and Associated Parts (2 of 4)


Object Number: 13058  Size: LF
(1)Complete Converter Assembly
(2)Converter Pump Bushing
(3)Transmission Case
(4)Axle Oil Seal Assembly
(5)Case Extension Bolt M10 X 1.5 X 35.0
(6)Case Extension
(7)Differential to Case Bushing
(7b)Differential to Case Bearing (Heavy Duty)
(8)Extension to Case seal
(9)Speed Sensor Bolt M8 X 1.25 X 12.0
(9)Speed Sensor Bolt M8 X 1.25 X 12.0
(10)Complete Speed Sensor Assembly
(11)O-Ring Speed Sensor Seal
(12)FWD Servo Cover Bolt M6 X 1.0 X 20.0
(13)Forward servo Cover
(14)O-Ring Seal (Servo Cover)
(15)Internal Retaining Ring
(16)Servo Forward Piston
(17)Servo Spring Retainer (1st and 2nd)
(17)Servo Spring Retainer (1st and 2nd)
(18)Oil Seal Piston
(19)Forward Servo Cushion Spring
(20)Servo Cushion Spring Retainer
(21)Forward Band Apply Pin
(22)Servo Return Spring
(23)Special Transmission Oil Pan M8 X 1.25 X 18.0
(24)Transmission Oil Pan
(25)Transmission Oil Pan Gasket
(26)Chip Collector Magnet
(27)Oil Reservoir Weir
(28)Check Assembly Cooler Ball 3/8-18
(29)Cooler line Connector (Inverter Flared Tube 1/4-18
(30)Modulator Bolt M8 X 1.25 X 20.0
(30)Modulator Bolt M8 X 1.25 X 20.0
(31)Modulator retainer
(32)Transmission Modulator Assembly
(33)O-Ring Seal
(34)Modulator Valve
(35)Electrical Connector (7 Way)
(36)O-Ring Seal
(37)Transmission Vent Assembly
(37)Transmission Vent Assembly
(38)Pipe Plug 1/8 27
(39)Servo Cover Retaining Ring
(40)Servo Cover
(41)O-Ring Seal (Servo Cover)
(42)Internal Retaining Ring
(43)Oil Seal Piston Ring
(44)Servo reverse Piston
(45)Reverse Servo Cushion Spring
(46)Servo Cushion Spring Retainer
(48)Reverse Apply Pin
(49)Servo Return Spring
(100)Transmission Oil Filter Assembly
(101)Filter Neck To case seal Assembly
(227)Oil Pump Drive Shaft Assembly
(228)Oil seal Pump Shaft Ring
(372)Ball 0.25 Dia.
(372)Ball 0.25 Dia.
(400)Complete Channel Plate Assembly
(450)Temperature Sensor
Figure 4:

Case and Associated Parts (3 of 4)


Object Number: 13062  Size: MF
(3)Transmission Case
(102)Band Anchor Pin
(400)Complete Channel Plate Assembly
(431)Channel Plate 4th Clutch Hub and Bearing Assembly
(434)Channel Plate to Case Bolt M8 X 1.25 mm X 45.0 mm
(436)Channel Plate to Case Bolt M8 X 1.25 mm X 30.0 mm
(500)4th Clutch Backing Plate
(501)4th Clutch Plate Assembly
(501)4th Clutch Plate Assembly
(502)4th Clutch Apply Plate
(502)4th Clutch Apply Plate
(504)4th Clutch Hub and Shaft Assembly
(505)Thrust Washer (4th Clutch Hub to Driven Sprocket)
(506) Driven Sprocket
(507)Drive Link Assembly
(508)Thrust Washer (Driven and 2nd Clutch Drum)
(509)Output Shaft/Drive Axle Ring
(510a)Output Shaft (Standard)
(510b)Output Shaft (Heavy Duty)
(511)4th Clutch/Output Shaft Bearing
(511)4th Clutch/Output Shaft Bearing
(512) Inboard Output Shaft Differential Ring
(513)Oil Seal Ring (Turbine Shaft/Sleeve)
(514)Thrust Washer (Drive Sprocket/Channel Plate)
(515)Turbine Shaft to Drive Sprocket Ring (Snap)
(516)Drive Sprocket
(517)Thrust Washer (Drive Sprocket/Support)
(518)Turbine Shaft
(519)Oil Seal Ring
(520)O-Ring Seal
(521)Drive Support/Sprocket Bearing Assembly
(522)Drive Sprocket Support
(523)Drive Sprocket Support Bushing
(524)Drive Sprocket Support Screw M8 X 1.25 mm X 23.5 mm
(525)Converter Oil Helix Seal Assembly
(526)Pin, Dowel
(526)Pin, Dowel
(808)Guide Retaining Pin
(809)Actuator Guide
(810)O-Ring Seal
Figure 5:

Case and Associated Parts (4 of 4)


Object Number: 13063  Size: MF
(3)Transmission Case
(103)2-1 Manual Servo Cover Bolt M8 X 1.25mm X 25.0mm (3)
(104)2-1 Manual Servo Body Cover
(105)2-1 Servo Square Cut Seal
(106)Bottom Retaining Clip
(107)Lip Seal
(108)2-1 Manual Servo Piston
(109)2-1 Manual Servo Cushion Spring
(110)Internal Servo Spring Manual Cushion Retainer
(111)2-1 Manual Apply Pin
(112)2-1 Manual Servo Return Spring
(113)O-Ring Seal
(114)2-1 Manual Servo Body
(115)2-1 Servo Filter
(117)Band Anchor Forward and Reverse Pin
(117)Band Anchor Forward and Reverse Pin
(120)Thermo Element Pin Washer Assembly
(121)Thermostatic Element
(122)Thermostatic Element Plate
(123)Thermal Element Pin
(124)Forward Servo Apply Pipe
(125)Manual Servo Apply Pipe
(126)Lube Oil Pipe
(127)Hose Clamp
(127)Hose Clamp
(128)Lube Oil Hose
(129)Lube Pipe Clip Retainer
(130)Pipe and Washer Assembly
(131)Accumulator Cover and Housing Hex Flange Bolt M6 X 1.0mm X 28.0mm (11)
(132)Accumulator Cover
(133)Accumulator Cover Gasket
(133)Accumulator Cover Gasket
(134)Accumulator Spacer Plate
(135)Pin, 2-3 Accumulator
(135)Pin, 2-3 Accumulator
(135)Pin, 2-3 Accumulator
(135)Pin, 2-3 Accumulator
(135)Pin, 2-3 Accumulator
(136a)Conventional 1-2 and 2-3 Accumulator Piston
(136a)Conventional 1-2 and 2-3 Accumulator Piston
(136a)Conventional 1-2 and 2-3 Accumulator Piston
(136b)Offset 1-2 and 2-3 Accumulator Piston
(136c)Inverted 1-2 and 2-3 Accumulator Piston
(137)Oil Seal Accumulator Piston Ring
(137)Oil Seal Accumulator Piston Ring
(137)Oil Seal Accumulator Piston Ring
(137)Oil Seal Accumulator Piston Ring
(137)Oil Seal Accumulator Piston Ring
(138a)Inner 2-3 Accumulator Spring
(138b)Outer 2-3 Accumulator Spring
(139a)Outer 1-2 Accumulator Spring
(139a)Outer 1-2 Accumulator Spring
(139a)Outer 1-2 Accumulator Spring
(139b)Inner 1-2 Accumulator Spring
(139b)Inner 1-2 Accumulator Spring
(139c)Outer 1-2 Accumulator Spring
(139d)1-2 Accumulator Assist Spring and Retainer Assembly
(140)Machined Accumulator Housing
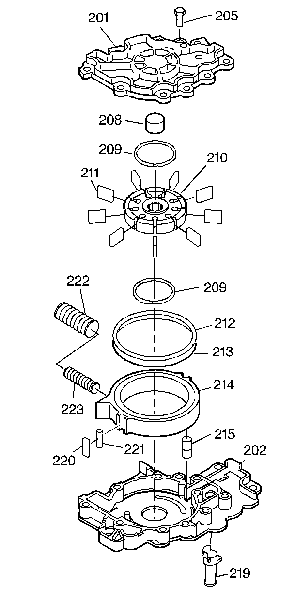
Figure 6:

Oil Pump Assembly


Object Number: 13064  Size: LH
(201)Pump Cover
(202)Oil Pump Body
(205)Pump Cover to Pump Body Bolt - M8 X 1.25mm X 20.0mm (1)
(208)Auxiliary Valve Body Bushing (Pump Shaft)
(209)Pump Vane Ring
(209)Pump Vane Ring
(210)Oil Pump Selective Rotor
(211)Pump Selective Vane
(212)Slide to Cover Selective Oil Seal Ring
(213)O-Ring Seal
(214)Oil Pump Selective Slide
(215)Pump Slide Pivot Pin
(219)Oil Pump Pressure Screen Assembly
(220)Pump Slide Seal
(221)Oil Pump Slide Seal Support
(222) Outer Pump Priming Spring
(223)Inner Pump Priming Spring
Figure 7:

Control Valve Body Assembly (1 of 2)


Object Number: 13056  Size: MF
(301)Control Valve Body (Machined)
(314)Spring Clip Retainer
(315)Solenoid Assembly
(316)O-Ring Seal
(338)1-2 Accumulator Plug Retainer (Primary and Secondary)
(338)1-2 Accumulator Plug Retainer (Primary and Secondary)
(339)1-2 Accumulator Plug (Primary)
(339)1-2 Accumulator Plug (Primary)
(340)1-2 Accumulator Valve Spring (Primary)
(340)1-2 Accumulator Valve Spring (Primary)
(341)1-2 Accumulator Valve
(341)1-2 Accumulator Valve
(342)1-2 Accumulator Valve Bushing (Primary)
(342)1-2 Accumulator Valve Bushing (Primary)
(343)2-3 Accumulator Valve
(344)2-3 Accumulator Valve Spring
(345)2-3 Accumulator Valve Bushing
(345)2-3 Accumulator Valve Bushing
(346)1-2 Accumulator Plug (Secondary)
(347)1-2 Accumulator Valve (Secondary)
(348)1-2 Accumulator Valve Spring (Secondary)
(349)1-2 Accumulator Bushing (Secondary)
(350)3-4 Accumulator Valve
(351)3-4 Accumulator Valve Spring
(352)3-4 Accumulator Valve Bushing
(353)2-3 Shift Retainer
(354)2-3 Shift Bore Plug
(355)3-2 Downshift Valve Spring
(356)3-2 Manual Downshift Spring
(357)2-3 Shift Valve
(358)Spring Clip Retainer
(359)3-4 Shift Bore Plug
(360)4-3 Manual Downshift Valve
(361)4-3 Manual Downshift Spring
(362)3-4 Shift Valve
(363)Coiled Spring Pin
(363)Coiled Spring Pin
(364)Reverse Boost Bore Plug
(365)Servo Boost Valve Spring (Reverse)
(366)Servo Boost Valve Spring (Forward)
(367)Forward and Reverse Servo Boost Valve
(368)Oil Pump Drive Bearing and Sleeve
(385)Accumulator Bushing Assembly Retainer (2-3 and 1-2 Secondary and Primary)
(385)Accumulator Bushing Assembly Retainer (2-3 and 1-2 Secondary and Primary)
Figure 8:

Control Valve Body Assembly (2 of 2)


Object Number: 690016  Size: MF
(301)Machined Control Valve Body
(302)Line Boost Valve and Bushing Retainer
(303)Line Boost Valve Retainer
(304)Line Boost Valve
(305)Pressure Regulator Modulator Boost Spring
(306)Pressure Regulator Retainer
(307)Reverse Boost Spring
(308)Grooved Pin
(309)Reverse Boost Valve Bushing
(310)Reverse Boost Valve
(311)Outer Pressure Regulator Valve Spring
(312)Pressure Regulator Valve Isolator Spring
(313)Pressure Regulator Valve
(314)Spring Clip Retainer
(314)Spring Clip Retainer
(315)Solenoid Assembly
(315)Solenoid Assembly
(316)O-Ring Seal
(316)O-Ring Seal
(318)1-2 Shift Valve
(319)Coiled Spring Pin
(320)Pump Pressure Relief Bushing
(321)0.375 Diameter Ball
(322) Spring Seat
(324)3-4 Shift Solenoid Retainer
(325)PWM Solenoid Assembly
(326)PWM Solenoid O-Ring
(327)PWM Solenoid O-Ring
(331)Isolator Spring
(332)Converter Clutch Regulator Valve
(333)Converter Clutch Regulator Spring
(334)Isolator Valve
(335)Converter Clutch Valve
(383)Converter Clutch Regulator Retainer
(384)Converter Clutch Regulator Bushing
Figure 9:

Channel Plate Assembly


Object Number: 13059  Size: LF
(401)Channel Plate
(402)Manual Valve Link
(403)Manual Valve Retainer Link
(404)Manual Valve
(405)Low Blow Off Plug
(406)Low Blow Off Spring
(409)Left Side Axle Oil Seal Assembly
(410)Control Valve Body Alignment Sleeve
(411)Bore Plug
(411)Bore Plug
(411)Bore Plug
(412)Orificed Cup Plug
(417)Blow Off Cup Plug
(418)TCC Blow Off Spring
(420)0.375" Diameter Ball
(420)0.375 Diameter Ball
(421)3-4 Accumulator Canister
(422)O-Ring Seal
(423)Outer 3-4 Accumulator Spring
(424)Middle 3-4 Accumulator Spring
(425)Inner 3-4 Accumulator Spring
(426)3-4 Accumulator Pin
(427)3-4 Accumulator Piston Oil Seal Ring
(428)3-4 Accumulator Piston
(429)Lower Channel Plate Gasket
(430)Upper Channel Plate Gasket
(431)4th Channel Hub to Channel Plate Bearing Assembly
(432)Channel Plate to Side Cover Stud M6 X 1.0mm X 18.0mm (6)
(514)Drive Sprocket/Channel Plate Thrust Washer
(526)Dowel Pin
(526)Dowel Pin
Figure 10:

Internal Components (1 of 2)


Object Number: 13060  Size: LF
(601)4th Clutch Return Spring Snap Ring
(602)4th Clutch Piston Return Spring Assembly
(603)4th Clutch Piston
(604)4th Clutch Piston Seal (Outer)
(605)4th Clutch Piston Seal (Inner)
(606)Drawn Cup Bearing Assembly
(607)Orificed Cup Plug
(608)Chain Scavenging Scoop
(609)Driven Sprocket Support
(610)Cup Plug
(611)Thrust Washer (Driven Sprocket Support/2nd Clutch Drum)
(612)Four Lobed Ring Seal
(613)Oil Seal Ring
(614)Driven Sprocket Support Bushing
(615) Reverse Band Assembly
(616)75.5 O.D. X 8.0 Bushing
(617)2nd Clutch Housing
(618)Check Valve Retainer and Ball Assembly (Forward Clutch)
(619)70.0 O.D. X 11.0 Bushing
(620)2nd Clutch Piston with Molded Seal
(621)2nd Clutch Apply Ring and Release Spring Assembly
(622)Snap Ring
(623)2nd Clutch Plate (Waved)
(624)2nd Clutch Plate Assembly (Fiber)
(625)2nd Clutch Reaction Plate (Steel)
(626)Backing Support Ring Plate (Steel)
(627)2nd Clutch Snap Ring (Outer)
(628)Oil Seal Ring (Input Shaft)
(629)Thrust Bearing (Support Sprocket/Thrust Washer)
(630)Selective Thrust Washer (Bearing/Input Clutch Hub)
(631)Input Shaft Bushing
(632)Input Housing Sleeve and Shaft Assembly
(633)Check Valve Retainer and Ball Assembly
(634)Input Clutch Piston Seal (Inner)
(635)Input Clutch Piston Seal (Outer)
(636)Input Clutch Piston
(637)Input Spring and Retainer Assembly
(638)O-Ring Seal
(639)3rd Clutch Piston Housing
(640)Snap Ring (3rd Clutch Piston Housing/Input Shaft
(640)Snap Ring (3rd Clutch Piston Housing/Input Shaft)
(641)3rd Clutch Piston Seal (Inner)
(642)3rd Clutch Piston Seal and Ball Capsule Assembly
(643)3rd Clutch Spring Retainer and Guide Assembly
(644)Thrust Bearing Assembly
(645)3rd Clutch Plate (Waved)
(646)3rd Clutch Plate Assembly (Sprocket Support/Spline OD)
(647)3rd Clutch Plate Assembly (Sprocket Support/Spline ID)
(648)Backing Plate
(649)Snap Ring
(654)Input Clutch Apply Plate
(655)Input Clutch Plate (Waved)
(656)Input Clutch Plate Assembly (Fiber)
(657)Input Clutch Plate (1.9 Flat)
(658)Clutch Backing Plate (Steel)
(659)Snap Ring
(716)2nd Clutch Apply Reaction Plate (Tapered)
(723)4th Clutch Shaft to Input Housing Bearing
Figure 11:

Internal Components (2 of 2)


Object Number: 13061  Size: LF
(653)3rd Sprag Clutch Outer Race
(661)Input Sprag Clutch Inner Race
(665)Input Sprag Clutch Outer Race
(667)Input Sun Gear Spacer
(668)Input Sun Gear
(669)Reverse Reaction Drum
(671)Thrust Bearing Assembly
(672)Complete Input Carrier Assembly
(673)Input Carrier to Reaction Carrier Dam
(674)Input/Reaction Carrier Thrust Bearing Assembly
(675)Reaction Complete Carrier Assembly
(676)Reaction Carrier/Sun Gear Thrust Bearing Assembly
(677)Left Hand Reaction Sun Gear Bushing
(678)Reaction Sun Drum Bushing Assembly Gear
(679)Right Hand Reaction Sun Gear Bushing
(680)2-1 Band Assembly
(683)1-2 Support Roller Assembly
(685)Thrust Assembly/Low Race Bearing Assembly
(686)1-2 Support Bushing
(687)1-2 Support Inner Race
(688)Forward Band Assembly
(689)Final Drive Sun Gear Shaft
(690)Final Drive Internal Gear Bushing
(691)Thrust Washer (1/2 Support/Internal Gear)
(692)Snap Ring (Final Drive Internal Gear Sprocket)
(693)Final Drive Internal Gear
(694)Pawl Lockout Pawl and Pin Assembly
(695)Thrust Bearing Assembly (Internal Gear/Parking Gear)
(696)Parking Gear
(697)Final Drive Sun Gear
(698)Thrust Carrier/Sun Gear Bearing Assembly
(699)Spiral Pin Retaining Ring
(700)Complete Differential/Final Drive Carrier Assembly
(701)Differential Pinion Shaft
(702)Differential Pinion Shaft Retaining Pin
(703)Thrust Washer (Differential Pinion)
(703)Thrust Washer (Differential Pinion)
(704)Differential Pinon Gear
(704)Differential Pinon Gear
(705)Differential Side Gear
(705)Differential Side Gear
(706)Bronze Thrust Washer (Differential Side Gear)
(706)Bronze Thrust Washer (Differential Side Gear)
(708)Pinion Thrust Washer (Steel)
(708)Pinion Thrust Washer (Steel)
(709)Roller Needle Bearing
(710)Pinion Needle Bearing Spacer
(711)Final Drive Planet Pinion
(712)Planet Pinion Pin
(713)Speed Sensor Rotor (29 or 30 Teeth)
(714)Differential Carrier/Case Washer (Thrust)
(715)Thrust Bearing Assembly
(717)Spiral Lock Ring
(718)3rd Clutch Sprag Retainer
(719)End Bearing
(719)End Bearing
(720)3rd Sprag Assembly
(721)Center Bearing
(722)Input Sprag Input
Figure 12:

Manual Shaft and Park System Components


Object Number: 13065  Size: MF
(800)Parking Lock Actuator Assembly
(801)Manual Shift to Case Pin
(802)Inside Detent Lever
(803)Manual Shaft/Detent Lever Nut (Hex) M10 X 1.5
(804)Manual Detent Spring and Roller Assembly
(805)Special Manual Detent Spring to Channel Plate Bolt M6 X 1.0 X 16.0
(806)Manual Shaft Seal
(807)Manual Shaft
(808)Guide Retaining Pin
(809)Actuator Guide
(810)O-Ring Seal
Figure 13:

Thrust Washer and Bearing Locations


Object Number: 13066  Size: LF
(7b)Differential to Case Bearing (Heavy Duty)
(368)Oil Pump Drive Bearing and Sleeve
(431)4th Clutch Hub/Channel Plate Bearing Assembly
(505)Thrust Washer (4th Clutch Hub/Driven Sprocket)
(508)Thrust Washer (Driven and 2nd Clutch Drum)
(511)4th Clutch/Output Shaft Bearing
(514)Thrust Washer (Drive Sprocket/Channel Plate)
(517)Thrust Washer (Drive Sprocket/Support)
(521)Drive Support/Sprocket Bearing Assembly (Drawn Cup)
(608)Drawn Cup Bearing Assembly
(611)Thrust Washer (Driven Sprocket Support/2nd Clutch Drum)
(629)Thrust Bearing (Support Sprocket/Thrust Washer)
(630)Thrust Washer (Bearing/Input Clutch Hub) Selective
(644)Thrust Bearing Assembly
(671)Thrust Bearing Assembly
(674)Thrust Bearing Assembly (Input/Reaction Carrier)
(676)Thrust Bearing Assembly (Reaction Carrier/Sun Gear)
(685)Thrust Assembly/Low Race Bearing Assembly
(691)Thrust Washer (1-2 Support/Internal Gear)
(695)Thrust Bearing Assembly (Internal Gear/Parking Gear)
(698)Thrust Carrier/Sun Gear Bearing Assembly
(714)Differential Carrier/Case Washer (Thrust)
(715)Thrust Bearing Assembly (Differential Carrier/Case)
(723)4th Clutch Shaft to Input Housing Bearing
Figure 14:

Seal Locations


Object Number: 13067  Size: LF
(4)Axle Oil Seal Assembly
(8)Extension to Case Seal
(11)O-Ring Speed Sensor Seal
(14)O-Ring Seal (Forward Servo Cover)
(18)Oil Seal Ring (Forward Servo Piston)
(41)O-Ring Seal (Reverse Servo Cover)
(43)Oil Seal Ring (Reverse Servo Piston)
(105)Square Cut Seal (2-1 Servo)
(107)Lip Seal (Manual 2-1 Servo Piston)
(113)O-Ring Seal (Manual 2-1 Servo Cover)
(137)Oil Seal Accumulator Piston Ring
(137)Oil Seal Accumulator Piston Ring
(409)Axle Oil Seal Assembly (Left Side)
(422)O-Ring Seal
(427)Oil Seal Ring (3-4 Accumulator Piston)
(525)Converter Oil Helix Seal Assembly
(604)Fourth Clutch Piston Seal (Outer)
(605)Fourth Clutch Piston Seal (Inner)
(620)Second Clutch Piston with Molded Seal
(620)Second Clutch Piston with Molded Seal
(634)Input Clutch Piston Seal (Inner)
(635)Input Clutch Piston Seal (Outer)
(641)Third Clutch Piston Seal (Inner)
(642)Seal and Ball Capsule ASM., Third Clutch Piston
(642)Seal and Ball Capsule ASM., Third Clutch Piston
Figure 15:

Electronic Component Locations


Object Number: 29776  Size: LF
(10)Vehicle Speed Sensor
(315)1-2 Shift Solenoid, 2-3 Shift Solenoid or TCC Solenoid
(315)1-2 Shift Solenoid, 2-3 Shift Solenoid or TCC Solenoid
(315)1-2 Shift Solenoid, 2-3 Shift Solenoid or TCC Solenoid
(325)PWM Solenoid
(391)Temperature Sensor
(450)Temperature Sensor
Figure 16:

Pump Cover Fluid Passages (Oil Pump Body Side)


Object Number: 29781  Size: MF
(2)Line
(17)Decrease
Figure 17:

Oil Pump Body Fluid Passages (Pump Cover Side)


Object Number: 29899  Size: MF
(1)Suction
(2)Line
(2)Line
(17)Decrease
(49)Exhaust
Figure 18:

Oil Pump Body Fluid Passages (Control Valve Body Side)


Object Number: 29898  Size: MF
(1)Suction
(2)Line
(2)Line
(2)Line
(17)Decrease
(49)Exhaust
Figure 19:

Control Valve Body Fluid Passages (Oil Pump Side)


Object Number: 29917  Size: LF
(1)Suction
(2)Line
(2)Line
(2)Line
(2)Line
(2)Line
(2)Line
(2)Line
(2)Line
(11)Converter Feed
(12)Regulated Apply
(17)Decrease
(18)D-4
(18)D-4
(19)Drive Servo Apply
(19)Drive Servo Apply
(26)2nd
(30)3rd
(38)4th
(45)Low
(49)Exhaust
(49)Exhaust
(49)Exhaust
(49)Exhaust
(49)Exhaust
(49)Exhaust
(49)Exhaust
(49)Exhaust
(49)Exhaust
(50)Void
(50)Void
(50)Void
Figure 20:

Control Valve Body Fluid Passages (Channel Plate Side)


Object Number: 29916  Size: LF
(#5)Reverse--Reverse Servo Checkball (372)
(#6)D-4--Drive Servo Apply Checkball (373)
(#7)Low--Low-1st Checkball (372)
(#8)D-2--Manual 2-1 Servo Feed Checkball (372)
(#9)3rd--3rd Clutch Checkball (372)
(#10)4th--4th Clutch Checkball (372)
(1)Suction
(2)PRN
(2)PRN
(2)PRN
(2)PRN
(2)PRN
(2)PRN
(2)PRN
(2)PRN
(2)PRN
(2)PRN
(2)PRN
(2)PRN
(3)PRN
(4)Solenoid B
(4)Solenoid B
(5)Solenoid A
(5)Solenoid A
(6)Input Clutch Feed
(7)Input Clutch
(8)PWM Feed
(8)PWM Feed
(9)PWM
(9)PWM
(10)Modulator
(10)Modulator
(10)Modulator
(10)Modulator
(10)Modulator
(10)Modulator
(10)Modulator
(10)Modulator
(11)Converter Feed
(11)Converter Feed
(11)Converter Feed
(11)Converter Feed
(11)Converter Feed
(11)Converter Feed
(11)Converter Feed
(12)Regulated Apply
(12)Regulated Apply
(12)Regulated Apply
(13)Release
(13)Release
(13)Release
(14)Apply
(14) Apply
(15)Cooler
(15)Cooler
(15)Cooler
(17)Decrease
(18)D-4
(18)D-4
(18)D-4
(18)D-4
(18)D-4
(18)D-4
(18)D-4
(19)Drive Servo Apply
(19)Drive Servo Apply
(19)Drive Servo Apply
(19)Drive Servo Apply
(21) Auxiliary Input Clutch Feed
(22)Primary Trim
(22)Primary Trim
(22)Primary Trim
(23)1-2 Accumulator
(23)1-2 Accumulator
(24)2-3 Accumulator
(24)2-3 Accumulator
(24)2-3 Accumulator
(25)3-4 Accumulator
(25)3-4 Accumulator
(26)2nd
(26)2nd
(27)2nd/2nd Exhaust
(27)2nd/2nd Exhaust
(28)2nd Clutch
(28)2nd Clutch
(29)Solenoid B Off
(29)Solenoid B Off
(29)Solenoid B Off
(29)Solenoid B Off
(30)3rd
(30)3rd
(30)3rd
(31)3rd/3rd Exhaust
(32)3rd Clutch
(32)3rd Clutch
(32)3rd Clutch
(34)TCC Signal
(34)TCC Signal
(34)TCC Signal
(42)D-3
(42)D-3
(43)D-2
(43)D-2
(43)D-2
(44) Manual 2-1 Servo Feed
(44) Manual 2-1 Servo Feed
(44) Manual 2-1 Servo Feed
(45)Low
(46)Low-1st
(46)Low-1st
(46)Low-1st
(46)Low-1st
(47)Reverse
(47)Reverse
(48)Reverse Servo
(49)Exhaust
(49)Exhaust
(49)Exhaust
(49)Exhaust
(49)Exhaust
(49)Exhaust
(49)Exhaust
(49)Exhaust
(49)Exhaust
(50)Void
(50)Void
(50)Void
(50)Void
(50)Void
(50)Void
Figure 21:

Typical Spacer Plate Fluid Passages


Object Number: 29775  Size: LF
(374)1-2 Solenoid and 2-3 Solenoid Filter
(374)1-2 Solenoid and 2-3 Solenoid Filter
(382)Converter Clutch Assembly Screen Assembly
(1)Suction
(1)Suction
(2)Line
(2)Line
(2)Line
(2)Line
(2)Line
(2)Line
(2)Line
(2)Line
(2)Line
(2)Line
(3)PRN
(3)PRN
(4)Solenoid B
(4)Solenoid B
(4)Solenoid B
(5)Solenoid A
(5)Solenoid A
(5)Solenoid A
(6)Input Clutch Feed
(6)Input Clutch Feed
(6)Input Clutch Feed
(7)Input Clutch
(7)Input Clutch
(8)PWM Feed
(8)PWM Feed
(8)PWM Feed
(8)PWM Feed
(8)PWM Feed
(9)PWM
(9)PWM
(9)PWM
(10)Modulator
(10)Modulator
(10)Modulator
(10)Modulator
(10)Modulator
(10)Modulator
(10)Modulator
(10)Modulator
(10)Modulator
(10)Modulator
(11)Converter Feed
(11)Converter Feed
(11)Converter Feed
(11)Converter Feed
(11)Converter Feed
(11)Converter Feed
(12)Regulated Apply
(12)Regulated Apply
(12)Regulated Apply
(13)Release
(13)Release
(13)Release
(13)Release
(14)Apply
(14)Apply
(14)Apply
(15)Cooler
(15)Cooler
(16)Lube
(16)Lube
(17)Decrease
(18)D-4
(18)D-4
(18)D-4
(18)D-4
(18)D-4
(18)D-4
(18)D-4
(18)D-4
(18)D-4
(18)D-4
(18)D-4
(18)D-4
(19)Drive Servo Apply
(19)Drive Servo Apply
(19)Drive Servo Apply
(19)Drive Servo Apply
(19)Drive Servo Apply
(19)Drive Servo Apply
(19)Drive Servo Apply
(20)Servo Apply
(20)Servo Apply
(20)Servo Apply
(20)Servo Apply
(21)Auxiliary Input Clutch Feed
(22)Primary Trim
(22)Primary Trim
(22)Primary Trim
(22)Primary Trim
(22)Primary Trim
(23)1-2 Accumulator
(23)1-2 Accumulator
(23)1-2 Accumulator
(24)2-3 Accumulator
(24)2-3 Accumulator
(24)2-3 Accumulator
(24)2-3 Accumulator
(25)3-4 Accumulator
(25)3-4 Accumulator
(25)3-4 Accumulator
(25)3-4 Accumulator
(26)2nd
(26)2nd
(26)2nd
(26)2nd
(26)2nd
(26)2nd
(26)2nd
(26)2nd
(26)2nd
(27)2nd/2nd Exhaust
(28)2nd Clutch
(28)2nd Clutch
(28)2nd Clutch
(28)2nd Clutch
(29)Solenoid B Off
(29)Solenoid B Off
(29)Solenoid B Off
(30)3rd
(30)3rd
(30)3rd
(30)3rd
(30)3rd
(30)3rd
(30)3rd
(31)3rd/3rd Exhaust
(32)3rd Clutch
(32)3rd Clutch
(32)3rd Clutch
(32)3rd Clutch
(32)3rd Clutch
(32)3rd Clutch
(33)3rd Clutch/Low-1st
(33)3rd Clutch/Low-1st
(34)TCC Signal
(34)TCC Signal
(34)TCC Signal
(34)TCC Signal
(34)TCC Signal
(38)4th
(38)4th
(38)4th
(38)4th
(40)4th Clutch
(40)4th Clutch
(42)D-3
(42)D-3
(43)D-2
(43)D-2
(43)D-2
(44)Manual 2-1 Servo Feed
(44)Manual 2-1 Servo Feed
(44)Manual 2-1 Servo Feed
(45)Low
(45)Low
(46)Low-1st
(46)Low-1st
(46)Low-1st
(46)Low-1st
(46)Low-1st
(46)Low-1st
(47)Reverse
(47)Reverse
(47)Reverse
(48)Reverse Servo
(48)Reverse Servo
(48)Reverse Servo
(49)Exhaust
(49)Exhaust
(49)Exhaust
Figure 22:

Channel Plate Fluid Passages (Control Valve Body Side)


Object Number: 29915  Size: LF
(#1)Release--TCC Apply Checkball (372)
(#2)2nd--2nd Clutch Checkball (372)
(#3)PRN--Input Clutch Checkball (372)
(#4)3rd Clutch--Low-1st Checkball (372)
(1)Suction
(2)Line
(2)Line
(2)Line
(2)Line
(3)PRN
(3)PRN
(3)PRN
(4)Solenoid B
(5)Solenoid A
(6)Input Clutch Feed
(6)Input Clutch Feed
(7)Input Clutch
(8)PWM Feed
(9)PWM
(9)PWM
(10)Modulator
(10)Modulator
(10)Modulator
(10)Modulator
(10)Modulator
(11)Converter Feed
(11)Converter Feed
(11)Converter Feed
(11)Converter Feed
(11)Converter Feed
(12)Regulated Apply
(13)Release
(13)Release
(13)Release
(14)Apply
(14)Apply
(15)Cooler
(15)Cooler
(16)Lube
(16)Lube
(18)D-4
(18)D-4
(18)D-4
(18)D-4
(18)D-4
(18)D-4
(18)D-4
(18)D-4
(19)Drive Servo Apply
(19)Drive Servo Apply
(19)Drive Servo Apply
(19)Drive Servo Apply
(22)Primary Trim
(22)Primary Trim
(23)1-2 Accumulator
(24)2-3 Accumulator
(24)2-3 Accumulator
(25)3-4 Accumulator
(25)3-4 Accumulator
(26)2nd
(27)2nd-2nd Exhaust
(27)2nd/2nd Exhaust
(28)2nd Clutch
(28)2nd Clutch
(28)2nd Clutch
(28)2nd Clutch
(29)Solenoid B Off
(29)Solenoid B Off
(30)3rd
(30)3rd
(32)3rd Clutch
(32)3rd Clutch
(33)3rd Clutch/Low-1st
(34)TCC Signal
(34)TCC Signal
(34)TCC Signal
(40)4th Clutch
(40)4th Clutch
(41)4th Clutch Exhaust
(42)D-3
(42)D-3
(42)D-3
(42)D-3
(43)D-2
(43)D-2
(44)Manual 2-1 Servo Feed
(44)Manual 2-1 Servo Feed
(44)Manual 2-1 Servo Feed
(44)Manual 2-1 Servo Feed
(45)Low
(46)Low-1st
(46)Low-1st
(46)Low-1st
(46)Low-1st
(46)Low-1st
(47)Reverse
(48)Reverse Servo
(49)Exhaust
(49)Exhaust
(49)Exhaust
(49)Exhaust
(49)Exhaust
(49)Exhaust
(50)Void
(50)Void
(50)Void
(50)Void
(50)Void
(50)Void
Figure 23:

Channel Plate Fluid Passages (Case Side)


Object Number: 29914  Size: MF
(1)Suction
(1)Suction
(2)Line
(2)Line
(3)PRN
(3)PRN
(7)Input Clutch
(10)Modulator
(13)Release
(13)Release
(15)Cooler
(16)Lube
(19)Drive Servo Apply
(23)1-2 Accumulator
(24)2-3 Accumulator
(25)3-4 Accumulator
(28)2nd Clutch
(28)2nd Clutch
(32)3rd Clutch
(32)3rd Clutch
(36)TCC Accumulator Feed Blow Off
(38)4th
(42)D-3
(44)Manual 2-1 Servo Feed
(48)Reverse Servo
(49)Exhaust
(50)Void
(412)Cup Orificed Plug
Figure 24:

Driven Sprocket Support Fluid Passages


Object Number: 29906  Size: MF
(7)Input Clutch
(7)Input Clutch
(7)Input Clutch
(7) Input Clutch
(16)Lube
(16)Lube
(16)Lube
(16)Lube
(16)Lube
(16)Lube
(28)2nd Clutch
(28)2nd Clutch
(28)2nd Clutch
(32)3rd Clutch
(32)3rd Clutch
(32)3rd Clutch
(32)3rd Clutch
(40)4th Clutch
(40)4th Clutch
Figure 25:

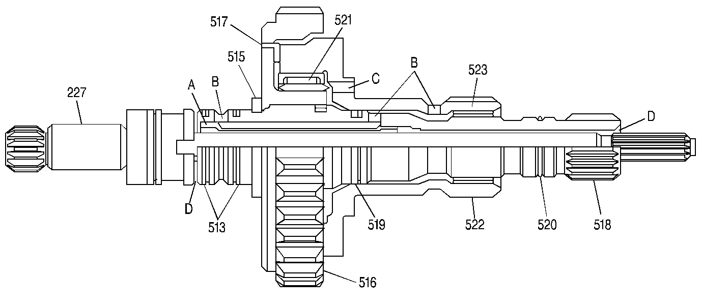
Oil Pump Drive Shaft and Drive Sprocket Support Fluid Passages


Object Number: 29918  Size: SF
(a)Steel Sleeve
(b)Converter Apply
(b)Converter Apply
(c)Converter Seal Drainback
(d)Converter Release
(d)Converter Release
(227)Oil Pump Drive Shaft Assembly
(513)Oil Seal Ring (Turbine Shaft/Sleeve)
(515)Turbine Shaft To Drive Sprocket Ring (Snap)
(516)Drive Sprocket
(517)Thrust Washer (Drive Sprocket/Support)
(518)Turbine Shaft
(519)Oil Seal Ring (Turbine Shaft/Support)
(520)O-Ring Seal (Turbine Shaft/Hub) Green
(521)Drive Support/Sprocket Bearing Assembly (Drawn Cup)
(522)Drive Sprocket Support
(523)Drive Sprocket Support Bushing
Figure 26:

Case Fluid Passages (Channel Plate Side)


Object Number: 29913  Size: LF
(1)Suction
(1)Suction
(2)Line
(2)Line
(3)PRN
(3)PRN
(10)Modulator
(13)Release
(13)Release
(15)Cooler
(19)Drive Servo Apply
(23)1-2 Accumulator
(24)2-3 Accumulator
(28)2nd Clutch
(32)3rd Clutch
(36)TCC Accumulator Feed Blow Off
(42)D-3
(44)Manual 2-1 Servo Feed
(48)Reverse Servo
(49)Exhaust
(50)Void
(50)Void
(51)Vent
(52)Thermo Element
(52)Thermo Element
Figure 27:

Case Fluid Passages (Bottom)


Object Number: 29912  Size: LF
(1)Suction
(16)Lube
(16)Lube
(19)Drive Servo Apply
(19)Drive Servo Apply
(23)1-2 Accumulator
(24)2-3 Accumulator
(28)2nd Clutch
(32)3rd Clutch
(44)Manual 2-1 Servo Feed
(52)Thermo Element Exhaust
Figure 28:

Accumulator Housing Fluid Passages


Object Number: 29908  Size: MF
(16)Lube
(16)Lube
(23)1-2 Accumulator
(23)1-2 Accumulator
(24)2-3 Accumulator
(24)2-3 Accumulator
(44)Manual 2-1 Servo Feed
(44)Manual 2-1 Servo Feed
Figure 29:

Accumulator Spacer Plate Fluid Passages


Object Number: 29910  Size: MF
(16)Lube
(16)Lube
(16)Lube
(19)Drive Servo Apply
(23)1-2 Accumulator
(23)1-2 Accumulator
(24)2-3 Accumulator
(24)2-3 Accumulator
(28)2nd Clutch
(32)3rd Clutch
(44)Manual 2-1 Servo Feed
(44)Manual 2-1 Servo Feed
(44)Manual 2-1 Servo Feed
Figure 30:

Accumulator Cover Fluid Passages


Object Number: 29911  Size: MF
(1)Manual Servo Apply Pipe
(2)Forward Servo Apply Pipe
(3)Lube Oil Pipe
(16)Lube
(16)Lube
(16)Lube
(19)Drive Servo Apply
(19)Drive Servo Apply
(19)Drive Servo Apply
(23)1-2 Accumulator
(23)1-2 Accumulator
(24)2-3 Accumulator
(24)2-3 Accumulator
(28)2nd Clutch
(28)2nd Clutch
(32)3rd Clutch
(32)3rd Clutch
(44)Manual 2-1 Servo Feed
(44)Manual 2-1 Servo Feed
(44)Manual 2-1 Servo Feed
Figure 31:

2-1 Manual Servo Body Cover Fluid Passages


Object Number: 29907  Size: MF
(1)Forward Servo Apply Pipe
(2)Manual Servo Apply Pipe
(19)Drive Servo Apply
(44)Manual 2-1 Servo Feed