GM Service Manual Online
For 1990-2009 cars only

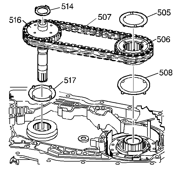
    Object Number: 10541  Size: SH
  1. Remove the fourth clutch shaft thrust washer (505).
  2. Remove the drive sprocket thrust washer (514). The washer may be stuck to the case cover.
  3. Note the location of the master link on the drive link assembly:
  4. • This link is a different color than the rest
    • This link will be facing either up or down towards the case
    • The drive link assembly must be in the same position during installation
  5. Lift the drive, driven sprockets and the drive link assembly out of the case:
  6. • Lift both sides evenly
    • If necessary, tap the turbine shaft gently with a rubber mallet.
  7. Remove the thrust washers (517, 508) from the drive and driven sprocket. These washers may be stuck to the sprockets.