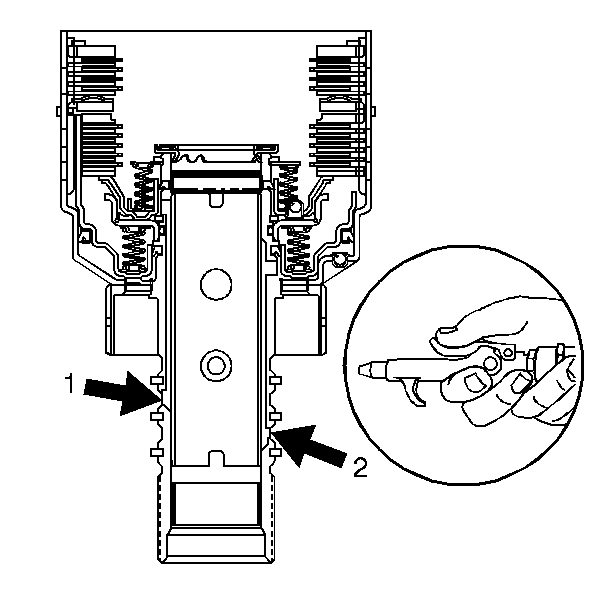
Notice: Do not exceed the recommended amount of air pressure or it may damage or cause seals to roll.