GM Service Manual Online
For 1990-2009 cars only

Tools Required

    • J 29569-1 Seal Installer
    • J 29569-2 Sizing Tool
    • J 36850 Assembly Lubricant

    Object Number: 10686  Size: SH
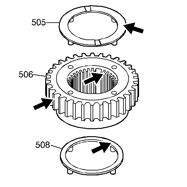
  1. Inspect the driven sprocket (506) for the following:
  2. • Worn or chipped teeth
    • Uniform teeth size
    • Stripped or damaged splines
    • Bearing surface damage
  3. Inspect the fourth clutch shaft thrust washer (505) and the driven sprocket thrust washer (508) for wear or cracks.

  4. Object Number: 10687  Size: SH
  5. Inspect the drive sprocket (516) for the following:
  6. • Worn or chipped teeth
    • Uniform teeth size
    • Stripped or damaged splines
    • Bearing surface damage
  7. Inspect the turbine shaft (518) for the following:
  8. • A cracked sleeve
    • Damaged bushing journals
    • Stripped or damaged splines
  9. Inspect the thrust washers (514, 517) for wear or cracks.

  10. Object Number: 29359  Size: SH
  11. Insert the turbine shaft (518) into the drive sprocket (516) and attach the snap ring (515).

  12. Object Number: 10693  Size: SH
  13. Install J 29569-1 onto the turbine shaft (518). Coat the tool shaft with J 36850 or equivalent.
  14. Slide the turbine shaft seals (513) into position.

  15. Object Number: 10694  Size: SH
  16. Use J 29569-2 in order to size the turbine shaft oil seal rings (513).

  17. Object Number: 10572  Size: SH
  18. Install J 29829-1A onto the turbine shaft (518). Coat the tool shaft with J 36850 or equivalent.
  19. Slide the turbine shaft oil seal ring (519) into position.

  20. Object Number: 10573  Size: SH
  21. Use J 29829-2 in order to size the turbine shaft oil seal ring (519).