GM Service Manual Online
For 1990-2009 cars only

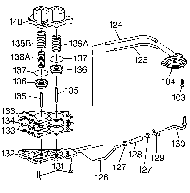
    Object Number: 13021  Size: SH
  1. Remove the seven remaining accumulator cover bolts (131) from the accumulator assembly.
  2. Remove the accumulator cover (132), the spacer plate (134), and the gaskets (133) from the accumulator housing assembly (140).
  3. Remove the 1-2 and 2-3 accumulator pistons (136), the piston pins (135), and the inner and outer springs (138, 139) from the accumulator housing (140). The springs and the pistons vary by model.
  4. Remove the piston oil seal rings (137) from the 1-2 and 2-3 accumulator pistons (134).

  5. Object Number: 13021  Size: SH
  6. Disassemble the manual 2-1 band servo. Remove the forward band servo oil pipes (124, 125), and remove the lube oil pipe assembly (126) from both the accumulator cover (132) and from the manual 2-1 band servo cover (104).
  7. Remove the following parts:
  8. • The lube oil pipe (126)
    • The hose clamps (127)
    • The hose (128)
    • The lube oil pipe retainer (129)
    • The lube oil pipe and the washer (130)