GM Service Manual Online
For 1990-2009 cars only

Tools Required

J 36850 Assembly Lubricant (or equivalent)


    Object Number: 13050  Size: SH
  1. Use a small magnet tool in order to install the modulator valve (34) into the case.

  2. Object Number: 13051  Size: SH
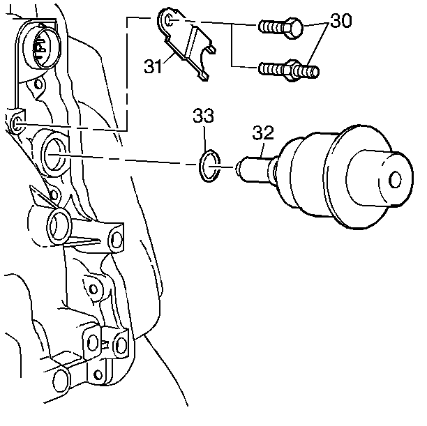
  3. Apply J 36850 or equivalent to a new modulator O-ring seal (33).
  4. Install the new O-ring seal (33) onto the modulator assembly (32).
  5. Install the modulator assembly (32) into the case (3).
  6. Install the modulator retainer (31).
  7. Notice: Use the correct fastener in the correct location. Replacement fasteners must be the correct part number for that application. Fasteners requiring replacement or fasteners requiring the use of thread locking compound or sealant are identified in the service procedure. Do not use paints, lubricants, or corrosion inhibitors on fasteners or fastener joint surfaces unless specified. These coatings affect fastener torque and joint clamping force and may damage the fastener. Use the correct tightening sequence and specifications when installing fasteners in order to avoid damage to parts and systems.

  8. Install the modulator retainer bolt (30).
  9. Tighten
    Tighten the bolt to 23 N·m (17 lb ft).