GM Service Manual Online
For 1990-2009 cars only

Tools Required

J 36850 Assembly Lubricant (or equivalent)


    Object Number: 13054  Size: SH
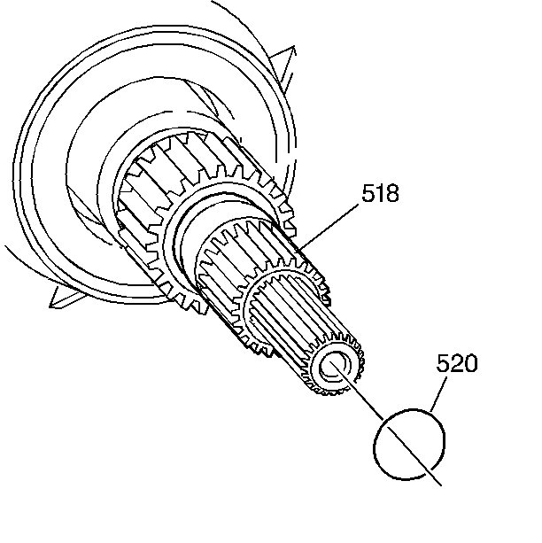
  1. Apply J 36850 or equivalent to a new turbine shaft O-ring seal (520).
  2. Apply J 36850 or equivalent to the turbine shaft splines (518).
  3. Affix the turbine shaft O-ring seal (520) onto the turbine shaft (518).

  4. Object Number: 10481  Size: SH

    Caution: The torque converter weighs approximately 65 lbs. Personal injury may result if you lift the torque converter improperly.

  5. Install the torque converter assembly (1).