GM Service Manual Online
For 1990-2009 cars only

Tools Required

J 4670-01 Clutch Spring Compressor


    Object Number: 10672  Size: SH
  1. Use transmission fluid in order to lubricate a new fourth clutch piston outer seal (604). Install the seal onto the fourth clutch piston assembly (603).

  2. Object Number: 10678  Size: SH
  3. Use transmission fluid in order to lubricate a new fourth clutch piston inner seal (605). Install the seal into the driven sprocket support hub.

  4. Object Number: 10679  Size: SH
  5. Insert the fourth clutch piston assembly (603) into the driven sprocket support (609) and align as shown.
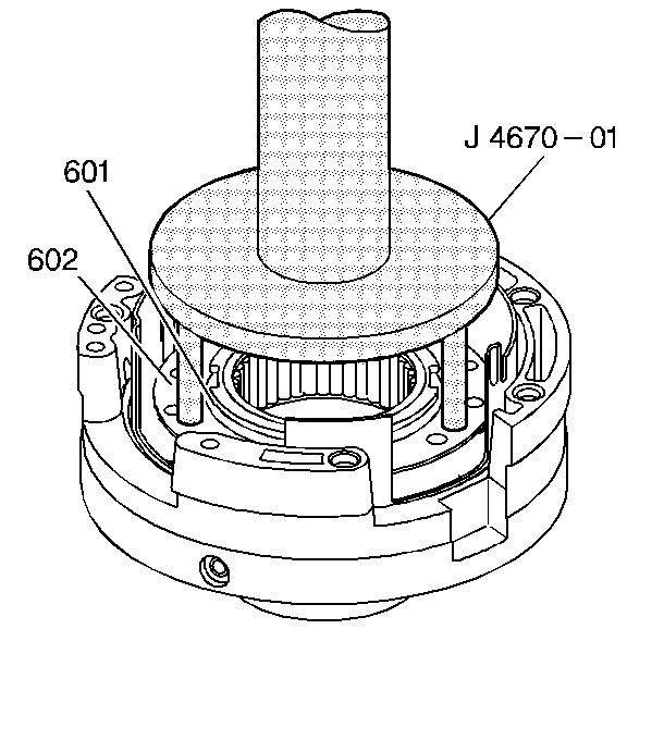
  6. Insert the fourth clutch return spring assembly (602) into the piston.

  7. Object Number: 10670  Size: SH
  8. Use J 4670-01 in order to install the fourth clutch spring retaining ring (601).

  9. Object Number: 49250  Size: SH
  10. Install the second clutch housing four lobed ring seals (612) onto the driven sprocket support hub (609).
  11. If you are installing new second clutch housing oil seal rings (613), lubricate the rings. Install the oil seal rings (613) onto the driven sprocket support hub (609).