GM Service Manual Online
For 1990-2009 cars only
Makes
🢒
Generic
🢒
1998
🢒
Unit Repair
🢒
Transmission/Transaxle
🢒
Automatic Transaxle - 4T80-E
🢒 Output Shaft Installation
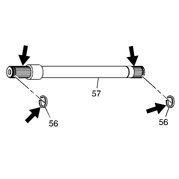
Inspect the output shaft (57) splines for burrs or damage. Inspect the snap rings (56) for overexpansion.
Install the snap rings (56) onto the output shaft and install the output shaft (57) from the channel plate side of the transmission.