GM Service Manual Online
For 1990-2009 cars only
Makes
🢒
Generic
🢒
1998
🢒
Unit Repair
🢒
Transmission/Transaxle
🢒
Automatic Transaxle - 4T80-E
🢒 Auxiliary Control Valve Body Cover, Fluid Filter Seal, and Filter Removal
Remove the eight 15-mm bolts (28) and the one 13-mm bolt (32) from the side cover.
Remove the side cover (29) and the gasket (30).
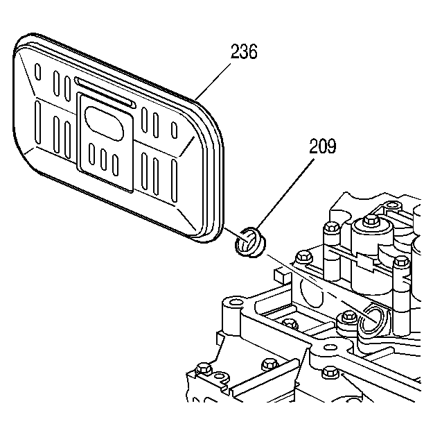
Remove the main filter (236) and the seal (209).