GM Service Manual Online
For 1990-2009 cars only

Tools Required

J 39068 Pump Assembly Guide Pins


    Object Number: 11861  Size: SH
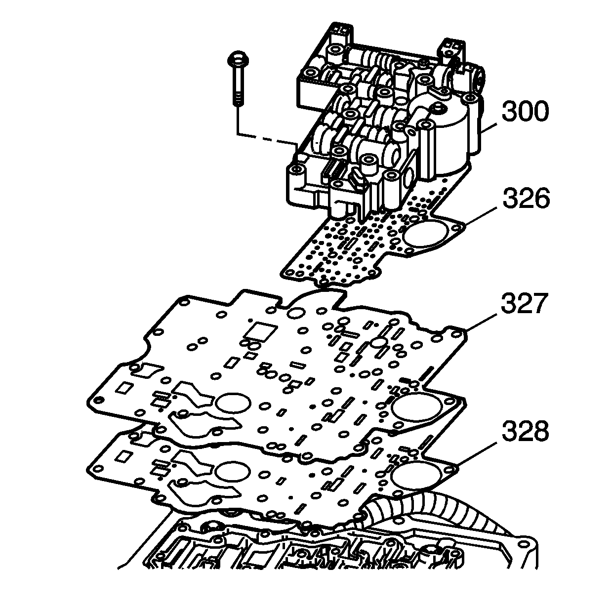
  1. Install the J 39068 for the upper valve body. Install the following parts:
  2. • The spacer plate to case cover gasket (328)
    • The case cover spacer plate (327)
    • The valve body to spacer plate gasket (326)
    • The upper control valve body (300)

    Object Number: 12015  Size: SH
  3. Apply pipe thread sealant, GM P/N 12346004 to upper control valve body bolt threads.
  4. Install the upper control valve body bolts (229, 329, 330, 331) and hand tighten.

  5. Object Number: 12014  Size: SH

    Notice: Use the correct fastener in the correct location. Replacement fasteners must be the correct part number for that application. Fasteners requiring replacement or fasteners requiring the use of thread locking compound or sealant are identified in the service procedure. Do not use paints, lubricants, or corrosion inhibitors on fasteners or fastener joint surfaces unless specified. These coatings affect fastener torque and joint clamping force and may damage the fastener. Use the correct tightening sequence and specifications when installing fasteners in order to avoid damage to parts and systems.

  6. Remove the guide pins and install the remaining bolt.
  7. Tighten
    Tighten the bolts to 11-13 N·m (8.0-9.5 lb ft).