GM Service Manual Online
For 1990-2009 cars only

Tools Required

    • J 39694 Clutch Compressor
    • J 34741-1 Input Shaft Seal Protector
    • J 34741-2 Input Shaft Seal Pusher
    • J 34741-3 Input Shaft Seal Sizer
    • J 36850 Assembly Lubricant (or equivalent)

    Object Number: 11936  Size: SH
  1. Inspect the 3rd clutch housing (604) for the following:
  2. • Plugged feed holes
    • Seal ring grooves for nicks or burrs
    • Input shaft for cracked or blocked fluid passages
    • Input shaft bushing for excessive wear

    Object Number: 11937  Size: SH
  3. Inspect the input sun gear (631) for damage or wear.
  4. Inspect the snap rings (616, 515, 609) for overexpansion.

  5. Object Number: 11938  Size: SH
  6. Inspect the thrust bearings (521, 619, 640) for damage or wear.

  7. Object Number: 11939  Size: SH
  8. Inspect the reaction carrier planet pinions (623) for wear. Inspect the planet pinion end play with a feeler gauge.
  9. Specification
    Pinion gear end play is 0.09-0.90 mm (0.0035-0.035 in).


    Object Number: 11940  Size: SH
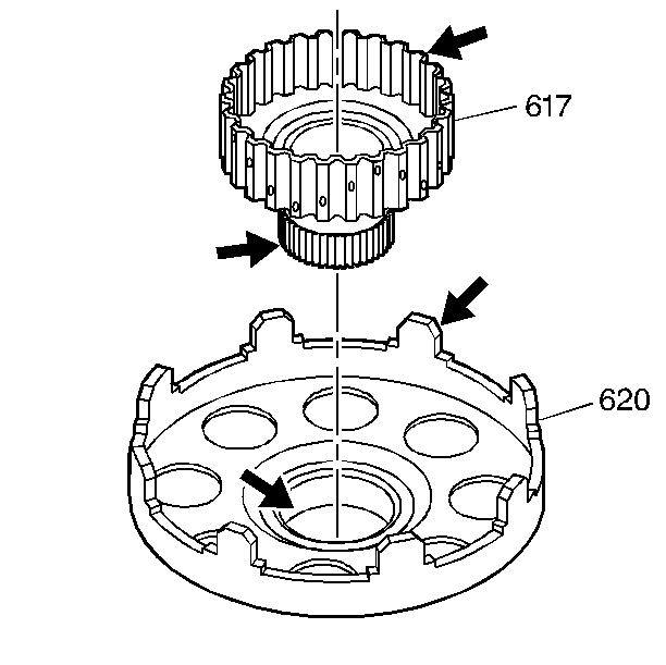
  10. Inspect the reaction sun gear and shell assembly (620) for damage.
  11. Inspect the bushing on the reaction sun gear and shell assembly (620) for wear.
  12. Inspect the splines on the third clutch hub (617) for damage.
  13. Check for plugged oil feed holes.

  14. Object Number: 11941  Size: SH
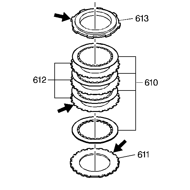
  15. Inspect the third clutch backing plate (613) for damage.
  16. Inspect all third clutch steel plates (612) for scoring.
  17. Inspect the third clutch apply plate (611) for scoring.
  18. Replace all fiber plates (610).

  19. Object Number: 11942  Size: SH
  20. Inspect the seals of the third clutch piston assembly (606). Inspect the checkball orifices. The checkball should move freely in the capsule. If the seals or checkballs are damaged, replace the third clutch piston assembly (606).
  21. Inspect the return spring and retainer assembly (607) for missing or broken springs.
  22. Inspect the snap ring retainer (608) for damage.

  23. Object Number: 11943  Size: SH
  24. Cut the oil seal rings (614) and remove the rings from the input shaft.

  25. Object Number: 11944  Size: SH
  26. Install the J 34741-1 over the input shaft. Adjust the tool so that the bottom of the J 34741-1 matches the correct oil seal ring groove.
  27. Lubricate the oil seal ring (614) with transmission fluid, and position the ring on the J 34741-1 .
  28. Using the J 34741-2 , quickly slide the oil seal ring (614) into the oil seal ring groove.
  29. Readjust the J 34741-1 to the second oil seal ring groove.
  30. Lubricate the second oil seal ring (614) with transmission fluid, and position the ring on the J 34741-1 .
  31. Using the J 34741-2 , quickly slide the oil seal ring (614) into the oil seal ring groove.

  32. Object Number: 413778  Size: SH
  33. Size the oil seal rings with the J 34741-3 .
  34. Leave the J 34741-3 in place for at least five minutes.
  35. Remove the J 34741-3 .

  36. Object Number: 11935  Size: SH
  37. Lubricate the 3rd clutch piston seals with a light coating of J 36850 or equivalent.
  38. Install the 3rd clutch piston assembly (606) into the bottom side of the 3rd clutch housing (604). Use a twisting motion when pushing the piston into the housing.
  39. Install the spring and retainer assembly (607), and install the snap ring retainer (608).

  40. Object Number: 11934  Size: SH
  41. Install the J 39694 -1 and the J 39694 -3 and compress the spring and retainer assembly.
  42. Install the snap ring (609).
  43. Remove the J 39694 -1 and the J 39694 -3.

  44. Object Number: 11933  Size: SH
  45. Install the following parts:
  46. • The apply plate (611)
    • The four fiber clutch plates (610)
    • The three steel clutch plates (612)

    Important: The backing plate (613) must be installed with the stepped side up.

  47. Install the backing plate (613).
  48. Install the snap ring (515).

  49. Object Number: 11932  Size: SH
  50. Install the following parts:
  51. • The thrust washer (615)
    • The third clutch hub and bushing assembly (617)

       Important: Make sure that the rolled inner lip of the thrust bearing (619) is facing toward the clutch pack.

    • The thrust bearing (619).
  52. Install the reaction sun gear and shell assembly (620). If the thrust bearing (619) was removed, install this bearing inside the reaction carrier assembly (623).
  53. Install the reaction carrier assembly (623).
  54. Important: Make sure that the thrust bearing (640) is installed with the black surface toward the clutch pack.

  55. Install the thrust bearing (640).
  56. Install the input sun gear (631). The sun gear can be assembled in either direction.
  57. Install the snap ring (616).

  58. Object Number: 11931  Size: SH
  59. Install the selective washer (522) and the thrust bearing (521). Secure the washer and the bearing to the top of the clutch housing with J 36850 or equivalent.

  60. Object Number: 11945  Size: SH
  61. Air check the 3rd clutch assembly by applying 50-60 psi of air to the proper orifice in the input shaft while blocking the orifice on the other side of the input shaft and 3rd clutch housing assembly (604).