GM Service Manual Online
For 1990-2009 cars only
Makes
🢒
Generic
🢒
1998
🢒
Unit Repair
🢒
Transmission/Transaxle
🢒
Automatic Transaxle - 4T80-E
🢒 Second Clutch Plates Installation
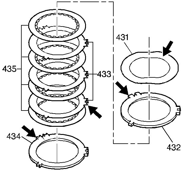
Inspect the second clutch wave plate (431) and all of the steel plates (433) for burning or damage.
Install the following parts:
2.1.
The second clutch backing plate (434) with flat side facing up
2.2.
The four fiber clutch plates (435)
2.3.
The four steel clutch plates (433)
2.4.
The backing plate (432)
2.5.
The wave plate (431)