GM Service Manual Online
For 1990-2009 cars only

Tools Required

J 39694 Spring Compressor


    Object Number: 11973  Size: SH
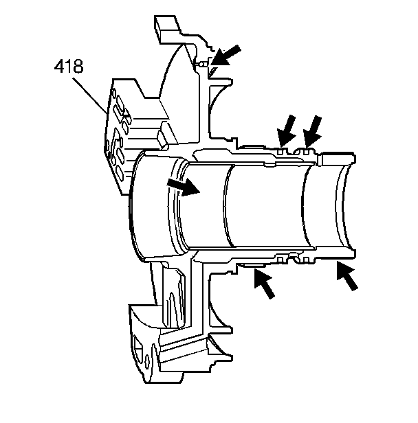
  1. Inspect the driven sprocket support (418) for the following:
  2. • Hub nicks, burrs, or damage
    • Plugged feed holes
    • Worn or damaged splines
    • Bushings for nicks, scratches, or wear
    • The checkball for movement
    • The seal ring grooves for damage

    Object Number: 601850  Size: SH
  3. Inspect the following parts for damage:
  4. • The third clutch exhaust valve (427)
    • The exhaust valve spring (425)
    • The oil transfer sleeve (419)

    Object Number: 11975  Size: SH
  5. Inspect the two sealing rings (423) and the two oil rings (422). Replace any damaged rings.
  6. Inspect the scavenge tube seal (53). If the seal is damaged, replace the seal.

  7. Object Number: 11976  Size: SH
  8. Inspect the second clutch piston and seal assembly (430). Inspect the second clutch spring and retainer assembly (428) for damage. Replace any damaged part.
  9. Notice: Do not roll the seals when installing the second clutch piston assembly (430), or damage may occur.

  10. Install the second clutch piston assembly (430). Twist and push the piston simultaneously. Use a light coating of J 36850 or equivalent.

  11. Object Number: 11969  Size: SH
  12. Use the J 39694 to compress the spring and retainer assembly (428).
  13. Install the snap ring (429).

  14. Object Number: 601848  Size: SH
  15. Install the following parts:
  16. • The third clutch exhaust valve (427)
    • The third clutch exhaust valve spring (425)
    • The spring pin (424)

    Object Number: 11977  Size: SH
  17. Air check the second clutch piston by applying air through the driven sprocket support (418).

  18. Object Number: 11865  Size: SH
  19. Install the driven sprocket support (418-427) over the input shaft. When seated, the support will be flush with the case line surface.