- Remove the two 10-mm bolts
(226) from under the scavenge pump cover (237) and scavenge pump body (225).
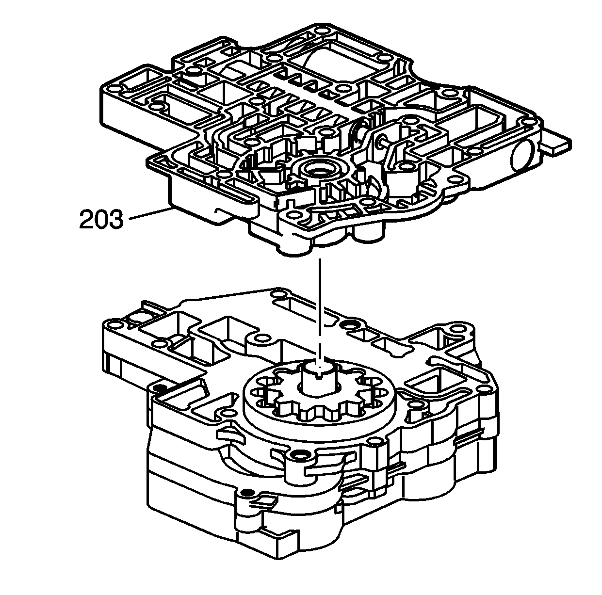
- Remove the secondary pump
body (203) from the pump assembly. This is a snug fit due to the use of two
dowel pins.
- Remove the oil pump drive
shaft (207), and the secondary pump gears (205, 206).
- Remove the scavenge pump
body (225) from the scavenge pump cover (237).
- Remove the scavenge pump gears (223, 224).
- Remove the primary pump
body (200) from the scavenge pump cover (237).
- Remove the primary pump gears (201, 202).