Notice: Use J 36850 or equivalent during assembly in order to retain
checkballs or to lubricate components. Lubricants other than the recommended
assembly lube changes the transmission fluid characteristics and
causes undesirable shift conditions or filter clogging.
- Inspect the pressure regulator
valve bore for nicks or scoring.
- Install the following parts:
| • | The pressure regulator valve (211) |
| • | The pressure regulator spring retainer (210) |
| • | The pressure regulator valve spring (212) |
| • | The pressure regulator boost valve (213) |
| • | The pressure regulator boost valve sleeve (214) |
| • | The retainer clip (215) |
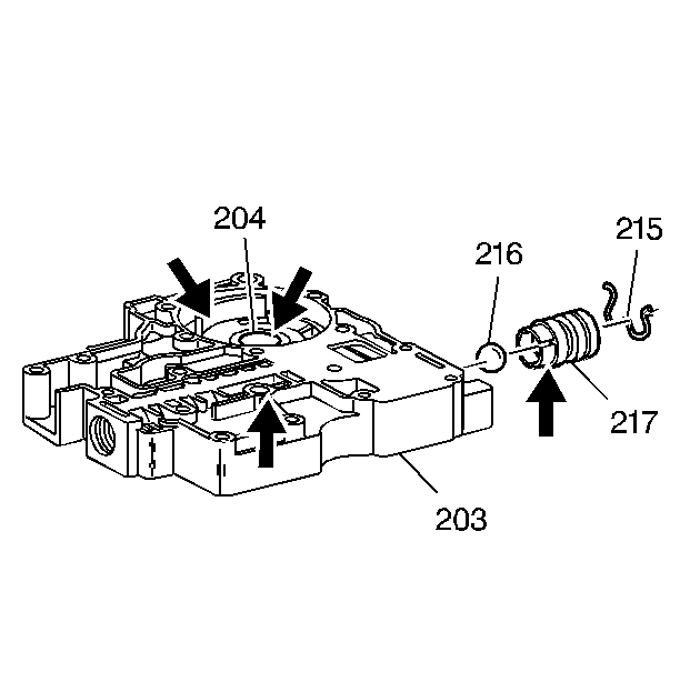
- Inspect the following
for damage or nicks:
| • | The scavenge pump bushing (204) |
| • | The secondary pump cover (203) |
| • | The pump ball seat (217) |
- Install the following parts:
| • | The secondary pump cutoff ball (216) |
| • | The pump ball seat (217) |
| • | The retainer clip (215) |