GM Service Manual Online
For 1990-2009 cars only

    Object Number: 15475  Size: SH
  1. Inspect the lower control valve body (903) for scratches or debris in the valve bores.
  2. Inspect the mating surfaces for damage.
  3. Inspect the servo bore for damage.
  4. Inspect all fluid passages for debris.

  5. Object Number: 15473  Size: SH
  6. Attach the manual valve link and clip (915) to the manual valve (916). Install the manual valve and link into the lower control valve body.

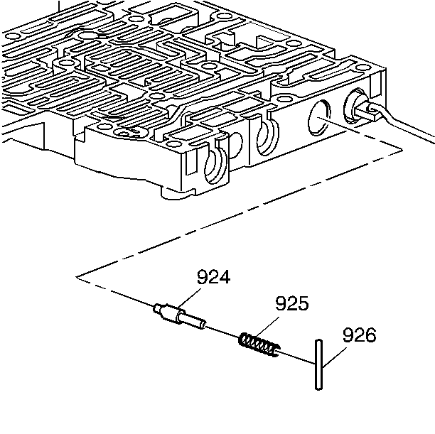
  7. Object Number: 15472  Size: SH
  8. Install the following parts:
  9. • The forward orifice bypass valve (924)
    • The forward orifice bypass valve spring (925)
    • The coiled spring flag pin (926)

    Object Number: 15469  Size: SH
  10. Install the following parts:
  11. • The 2-3 shift valve spring (906)
    • The 2-3 C shift valve (907)
    • The 2-3 D shift valve (908)
    • The 2-3 shift solenoid valve (909)
    • The 2-3 shift solenoid valve retainer clip (308)

    Object Number: 15468  Size: SH
  12. Install the solenoid screen assembly (917).

  13. Object Number: 15467  Size: SH
  14. Install the following parts:
  15. • The 1-2 shift valve spring (918)
    • The 1-2 A shift valve (919)
    • The 1-2 B shift valve (920)
    • The 1-2 shift solenoid valve (909)
    • The 1-2 shift solenoid valve retainer clip (308)

    Object Number: 15465  Size: SH
  16. Install the following parts:
  17. • The 3-4 shift valve spring (911)
    • The 3-4 shift valve (912)
    • The bore plug (914)
    • The bore plug retainer clip (308)

    Object Number: 15464  Size: SH
  18. Install the following parts:
  19. • The reverse orifice bypass valve (921)
    • The reverse orifice bypass valve spring (922)
    • The coiled spring flag pin (923)

    Object Number: 15462  Size: SH
  20. Install the following parts:
  21. • The ball (979)
    • The ball check capsule (905)
    • The spring retainer (904)

    Object Number: 15460  Size: SH
  22. Install the washer (933) and the sleeve (980) onto the servo pin (931).
  23. Install the servo cushion spring (934) in the servo piston (928).
  24. Then install the pin (931) into the piston and install the retaining ring (902) onto the servo pin.
  25. Place the return spring (901) into the servo bore.
  26. Place new seals (929, 930) on the servo piston (929), and install the piston and pin assembly into the servo bore. Attach the retaining ring (932) to the pin.

  27. Object Number: 15477  Size: SH
  28. Install the checkballs (5, 7, 8, 9) into the lower control valve body (903). Retain the checkballs in position with Transjelâ„¢.