GM Service Manual Online
For 1990-2009 cars only

Tools Required

J 39630-2 Lower Control Valve Body and Gasket Guide Pins


    Object Number: 15537  Size: SH
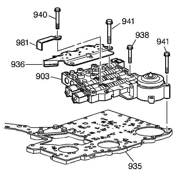
  1. Install the lower control valve body (903) over the J 39630-2 . Then install the automatic transmission fluid pressure manual valve position switch (936).
  2. Notice: Use the correct fastener in the correct location. Replacement fasteners must be the correct part number for that application. Fasteners requiring replacement or fasteners requiring the use of thread locking compound or sealant are identified in the service procedure. Do not use paints, lubricants, or corrosion inhibitors on fasteners or fastener joint surfaces unless specified. These coatings affect fastener torque and joint clamping force and may damage the fastener. Use the correct tightening sequence and specifications when installing fasteners in order to avoid damage to parts and systems.

  3. Position the solenoid valve fluid filter retainer (981) onto the lower control valve body (903) and install some of the valve body bolts (938, 940, 941) and hand tighten them. Remove the guide pins and install the remaining valve body bolts including (534) on the channel plate side.
  4. Tighten
    Tighten the bolts (938, 940, 941, 534) in a star pattern to 8-14 N·m (6-10 lb ft).