GM Service Manual Online
For 1990-2009 cars only

Removal Procedure

Tools Required

    • J 34757 Circlip Remover
    • J 22912-01 Split Plate
    • J 26941 Transmission Case Bearing Cup Remover
    • J 23907 Slide Hammer
  1. Remove the input shaft needle bearing from the input shaft.
  2. Use the J 34757 in order to remove the front input shaft bearing C-clip from the input shaft.

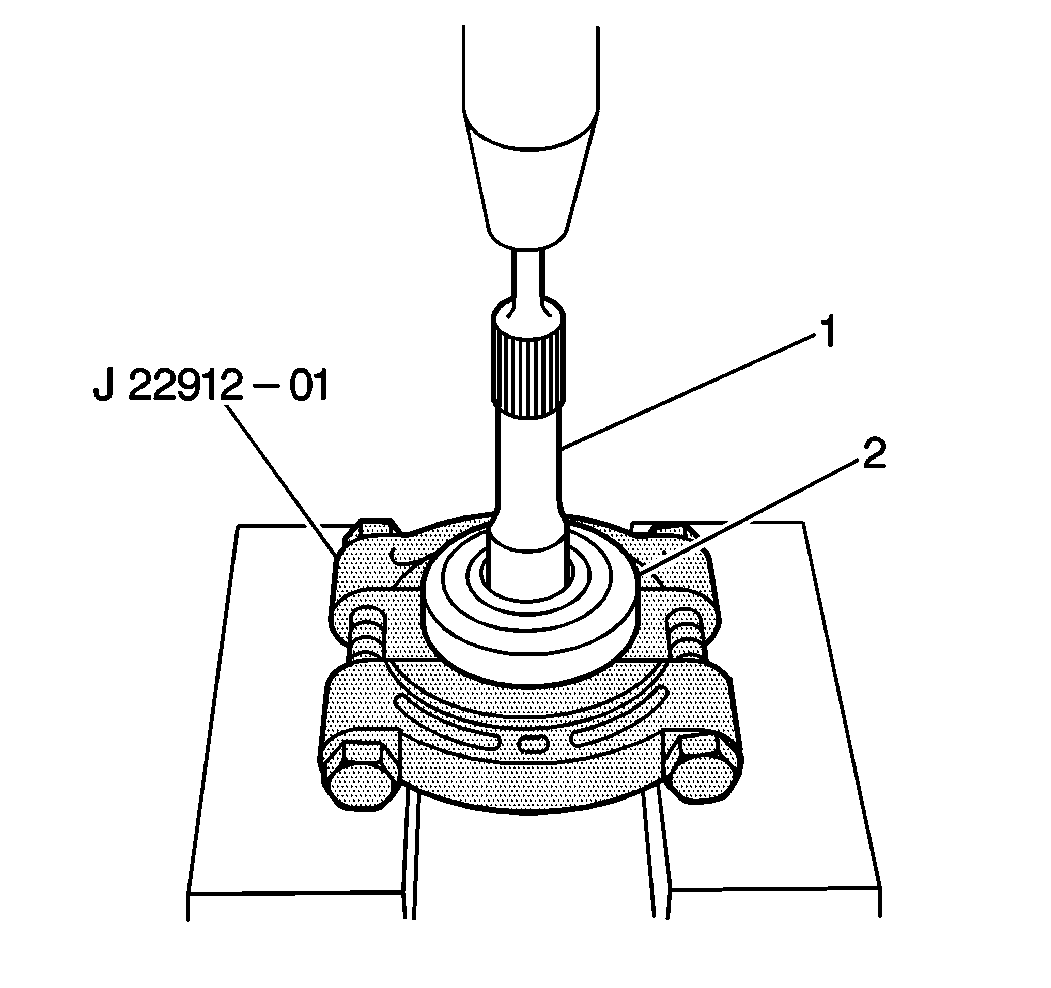
  3. Object Number: 153372  Size: SH
  4. Use the J 22912-01 and a press arbor in order to remove the front input shaft bearing (2) From the input shaft (1).

  5. Object Number: 153380  Size: SH
  6. Use the J 26941 and the J 23907 in order to remove the front input shaft oil seal (1) from the input shaft bearing retainer.
  7. Clean the input shaft components with solvent. Air dry the components.
  8. Clean the input shaft bearing retainer mating surface.
  9. Inspect the shaft for scoring or excessive wear. Replace the shaft as necessary.
  10. Inspect the shaft bearing for roughness or wear. Replace the shaft bearing as necessary.
  11. Inspect the shaft needle bearing for roughness or damage. Replace the shaft needle bearing as necessary.

Installation Procedure

    • J 37209 Stub Shaft Seal Installer
    • J 37753 Bearing Installer
    • J 35664 Bearing Installer
    • J 36850 Transjel® Transmission Assembly Lubricant
  1. Apply J 36850 to the input shaft bearing retainer seal surface.

  2. Object Number: 153385  Size: SH
  3. Use a hammer and the J 37209 in order to install the new front input shaft oil seal (1) into the input shaft bearing retainer (2).

  4. Object Number: 153391  Size: SH
  5. Use the J 37753 with the J 35664 and a press arbor in order to install the front input shaft bearing (1) onto the input shaft (2).
  6. Install the front input shaft bearing C-clip onto the input shaft.
  7. Apply J 36850 to the input shaft needle bearing.

  8. Object Number: 153406  Size: SH
  9. Install the input shaft needle bearing (1) into the input shaft (2).