GM Service Manual Online
For 1990-2009 cars only

Main Shaft Replacement 4WD

Removal Procedure

Tools Required

    • J 34757 Circlip Remover
    • J 22912-01 Split Plate
    • J 26900-7 Dial Caliper

    Important: The main shaft first gear bushing and the reverse gear bushing are identical.

    Make note of these components and their positions during disassembly in order to ensure correct assembly and operation.

  1. Use the J 34757 in order to remove the high speed and reverse hub C-clip from the main shaft.

  2. Object Number: 153400  Size: SH
  3. Use the J 22912-01 and a press arbor in order to remove the following components from the main shaft:
  4. 2.1. The high speed synchronizer rings (2)
    2.2. The high speed hub and sleeve assembly (1)
    2.3. The main shaft third gear (3)
    2.4. The main shaft third gear needle bearing
  5. Remove the high speed synchronizer sleeve from the high speed synchronizer hub.
  6. Remove the following components from the high speed synchronizer hub:
  7. 4.1. The high speed synchronizer springs
    4.2. The three synchronizer keys
  8. Use the J 34757 in order to remove the main shaft rear bearing C-clip from the main shaft.

  9. Object Number: 153413  Size: SH
  10. Use the J 22912-01 and a press arbor in order to remove the main shaft rear bearing (2) from the main shaft (1).
  11. Important: The main shaft fifth gear needle bearing separates into two halves.

    Make note of the position and the location of the main shaft fifth gear needle bearing in order to ensure correct assembly and operation.

  12. Remove the following components from the main shaft:
  13. 7.1. The main shaft fifth gear washer
    7.2. The main shaft washer ball
    7.3. The main shaft fifth gear
    7.4. The high speed synchronizer ring
    7.5. The main shaft fifth gear needle bearing
  14. Remove the reverse synchronizer sleeve from the reverse synchronizer hub.
  15. Remove the following components from the reverse synchronizer hub:
  16. 9.1. The reverse synchronizer springs
    9.2. The three synchronizer keys
  17. Use the J 34757 in order to remove the high speed and reverse hub C-clip from the main shaft.

  18. Object Number: 153462  Size: SH
  19. Use the J 22912-01 and a press arbor in order to remove the reverse synchronizer hub (1) from the main shaft (2).
  20. Remove the main shaft reverse gear and the needle bearing from the main shaft.
  21. Notice: DO NOT remove the main shaft bearing washer, the main shaft reverse gear bushing and the main shaft center bearing in one step. The main shaft washer ball which locks the main shaft bearing washer in place could damage the main shaft or the main shaft center bearing. Remove the main shaft reverse gear bushing first, then, remove the main shaft bearing washer and the main shaft washer ball before removing the bushing main shaft center bearing from the main shaft.

  22. Remove the following components from the main shaft:
  23. 13.1. The main shaft reverse gear bushing
    13.2. The main shaft bearing washer
    13.3. The main shaft washer ball
  24. Use the J 22912-01 and a press arbor in order to remove the main shaft center bearing from the main shaft.
  25. Notice: DO NOT remove the main shaft bearing washer, the main shaft 1st gear, the main shaft 1st gear needle bearing and the low speed synchronizer ring in one step. The main shaft washer ball which locks the main shaft bearing washer in place could damage the main shaft or the main shaft 1st gear. Remove the main shaft bearing washer and the main shaft washer first, then, remove the main shaft 1st gear, the main shaft 1st gear needle bearing and the low speed synchronizer ring.

  26. Remove the following components from the main shaft:
  27. 15.1. The main shaft bearing washer
    15.2. The main shaft washer ball
    15.3. The main shaft first gear
    15.4. The main shaft first gear needle bearing
    15.5. The low speed synchronizer ring

    Object Number: 153504  Size: SH
  28. Use the J 22912-01 and a press arbor in order to remove the following components from the main shaft:
  29. 16.1. The main shaft first gear bushing (1)
    16.2. The low speed sleeve and hub assembly (2)
    16.3. The low speed synchronizer ring
    16.4. The main shaft second gear (3)
  30. Remove the main shaft second gear needle bearing from the main shaft.
  31. Remove the low speed synchronizer sleeve from the low speed synchronizer hub.
  32. Remove the following components from the low speed synchronizer hub:
  33. 19.1. The low speed synchronizer springs
    19.2. The synchronizer keys
  34. Clean all main shaft components thoroughly with solvent. Air dry the components.

  35. Object Number: 153870  Size: SH
  36. Inspect all of the needle bearings (3-8) for unusual wear or damage. Replace the needle bearings as necessary.
  37. Inspect all of the ball bearings for roughness or wear. Replace the ball bearings as necessary.
  38. Inspect the chamfered portion of each synchronizer ring for excessive wear. Replace as necessary.
  39. Inspect all of the synchronizer springs and keys for distortion or damage. Replace as necessary.
  40. Inspect the main shaft (1) for the following conditions and replace as necessary:
  41. 25.1. Grooves
    25.2. Scoring
    25.3. Unusual wear

    Object Number: 153523  Size: SH
  42. Use a feeler gage in order to measure the clearance between each synchronizer ring (1) and its respective gear (2).
  43. The maximum clearance allowed is 1.0 to 1.4 mm (0.039 to 0.055 in).

    If the synchronizer ring clearance exceeds the specification, replace the synchronizer ring and gear.


    Object Number: 153540  Size: SH
  44. Use the J 26900-7 in order to measure the key slot width of each synchronizer ring (1).
  45. The maximum synchronizer key slot width allowed is 10.1 to 10.4 mm (0.397 to 0.409 in).

    If the synchronizer key slot width exceeds the specification, replace the synchronizer ring.


    Object Number: 153533  Size: SH
  46. Use a feeler gage (3) in order to measure the clearance between each gearshift fork (2) and its respective synchronizer sleeve (1).
  47. The maximum gearshift fork clearance allowed is 1.0 mm (0.039 in).

    If the gearshift fork clearance exceeds the specification, replace the gearshift fork and the synchronizer sleeve.

Installation Procedure

Tools Required

    • J 37753 Bearing Installer
    • J 35664 Bearing Installer
    • J 28406 Bearing Installer
    • J 22912-01 Split Plate
    • J 35425 High Speed Hub Installer
    • J 36850 Transjel® Transmission Assembly Lubricant

    Object Number: 153550  Size: SH
  1. Install the following components onto the low speed synchronizer hub (7):
  2. 1.1. The low speed synchronizer springs (1)
    1.2. The synchronizer keys (2)
  3. Install the low speed synchronizer sleeve (8) onto the low speed synchronizer hub (7).
  4. Apply J 36850 to the main shaft second gear needle bearing.

  5. Object Number: 153239  Size: SH
  6. Install the following components onto the main shaft (3):
  7. 4.1. The main shaft second gear needle bearing (4)
    4.2. The main shaft second gear (1)
    4.3. The low speed synchronizer ring (2)

    Object Number: 153234  Size: SH
  8. Use the J 37753 and a press arbor in order to install the low speed sleeve and hub assembly (3) onto the main shaft (4).

  9. Object Number: 153899  Size: MH
  10. Use the J 37753 and a press arbor (1) in order to install the main shaft first gear bushing (2) onto the main shaft.
  11. Apply J 36850 to the main shaft first gear needle bearing.
  12. Install the following components onto the main shaft:
  13. 8.1. The main shaft first gear needle bearing
    8.2. The low speed synchronizer ring
    8.3. The main shaft first gear

    Object Number: 153244  Size: SH
  14. Install the following components onto the main shaft:
  15. • The main shaft washer ball (1)
    • The main shaft bearing washer (3)

    Object Number: 153910  Size: MH
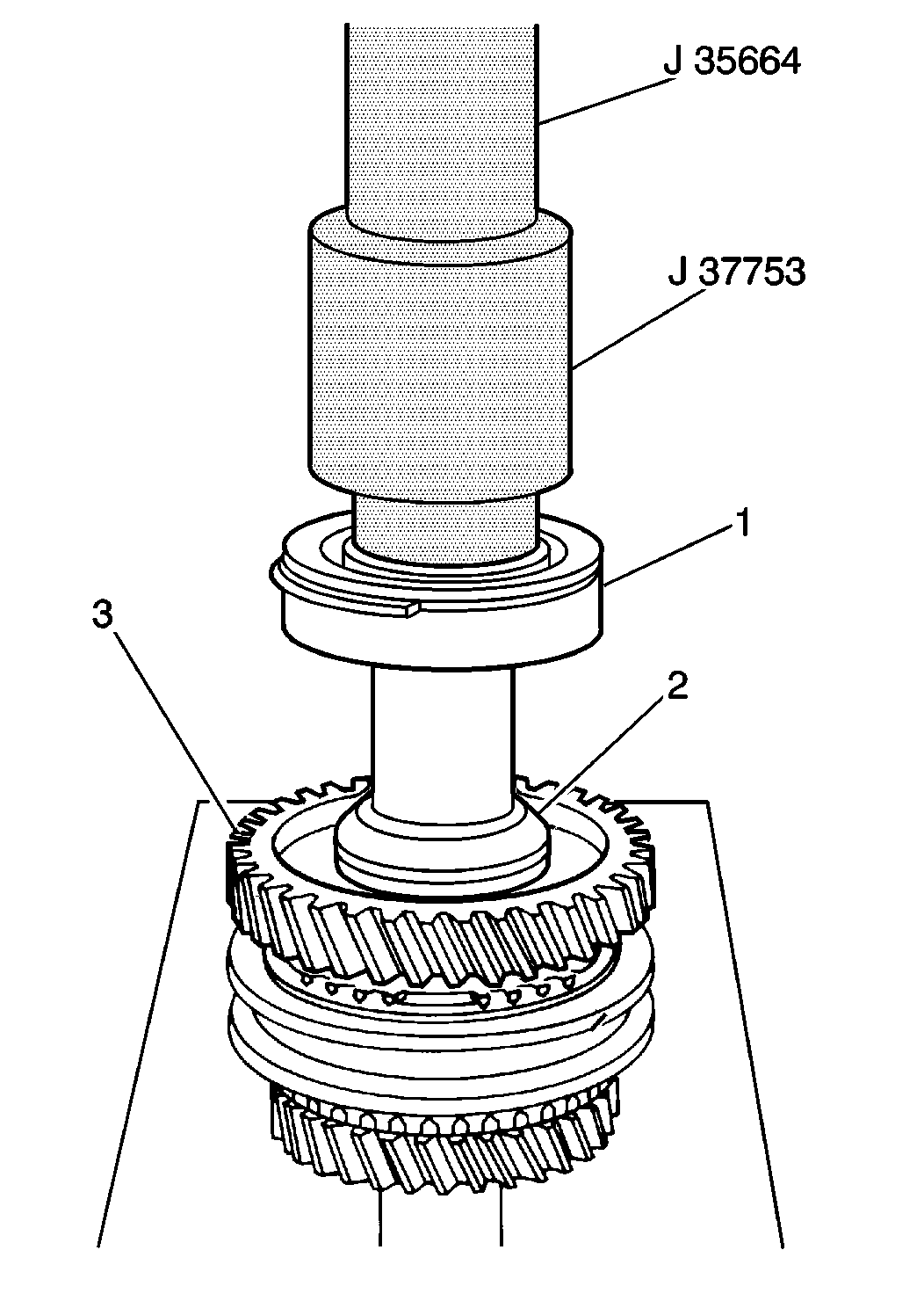
  16. Use the J 37753 , the J 35664 and a press arbor in order to install the main shaft center bearing (1) onto the main shaft.

  17. Object Number: 153250  Size: SH
  18. Install the following components onto the reverse synchronizer hub (5):
  19. 11.1. The reverse synchronizer springs (3)
    11.2. The three synchronizer keys (4)

    Ensure that the thick side of the synchronizer keys (4) and the synchronizer sleeve (2) face toward the main shaft 5th gear.

  20. Connect the reverse synchronizer sleeve (2) to the reverse synchronizer hub (5).
  21. Connect the following components to the main shaft:
  22. 13.1. The main shaft washer ball
    13.2. The main shaft bearing washer

    Object Number: 153298  Size: SH
  23. Use the J 37753 and the J 35664 in order to install the main shaft reverse gear bushing (1) into the main shaft.
  24. Gently tap the bushing into place.

  25. Apply J 36850 to the main shaft reverse gear needle bearing.
  26. Install the following components onto the main shaft:
  27. • The main shaft reverse gear needle bearing
    • The main shaft reverse gear

    Object Number: 153307  Size: SH
  28. Use the J 37753 and the J 35664 in order to install the reverse sleeve and hub assembly (3) onto the main shaft.
  29. Gently tap the assembly into place.

  30. Install the high speed and reverse hub C-clip onto the main shaft.
  31. Apply J 36850 to both halves of the main shaft fifth gear needle bearing.
  32. Install the following components onto the main shaft:
  33. 20.1. The high speed synchronizer ring (2)
    20.2. The main shaft fifth gear needle bearing
    20.3. The main shaft fifth gear
    20.4. The main shaft washer ball
    20.5. The main shaft fifth gear washer

    Ensure that the oil slot in the main shaft fifth gear washer faces the main shaft fifth gear.


    Object Number: 153320  Size: SH
  34. Support the main shaft rear bearing (3) with the J 22912-01 .
  35. Use the J 28406 and a press arbor in order to install the main shaft rear bearing (3) onto the main shaft.

  36. Install the main shaft rear bearing C-clip onto the main shaft.

  37. Object Number: 153323  Size: SH
  38. Install the following components onto the high speed synchronizer hub:
  39. 23.1. The high speed synchronizer springs (1, 4)
    23.2. The three synchronizer keys (5)
  40. Install the high speed synchronizer sleeve (2) onto the high speed synchronizer hub (6).
  41. Apply J 36850 to the main shaft 3rd gear needle bearing.

  42. Object Number: 153324  Size: SH
  43. Support the main shaft with the J 22912-01 .
  44. Use the J 35425 and a press arbor in order to install the following components to the main shaft:

    26.1. The main shaft third gear needle bearing
    26.2. The main shaft third gear (2)
    26.3. The high speed synchronizer rings (1)
    26.4. The high speed sleeve and hub assembly (3)
  45. Install the high speed and reverse hub C-clip onto the main shaft.

Main Shaft Replacement 2WD

Removal Procedure

Tools Required

    • J 34757 Circlip Remover
    • J 22912-01 Split Plate
    • J 26900-7 Dial Caliper

    Important: The following components are identical:

       • The main shaft first gear and reverse gear bushings
       • The main shaft first and second gear needle bearings
    Make note of the components and their positions during disassembly in order to ensure correct assembly and operation.

  1. Use the J 34757 in order to remove the high speed and reverse hub C-clip from the main shaft.

  2. Object Number: 153400  Size: SH
  3. Use the J 22912-01 and a press arbor in order to remove the following components from the main shaft:
  4. 2.1. The high speed synchronizer rings (2)
    2.2. The high speed sleeve and hub assembly (1)
    2.3. The mainshaft third gear (3)
    2.4. The main shaft third gear needle bearing
  5. Remove the high speed synchronizer sleeve from the high speed synchronizer hub.
  6. Remove the high speed synchronizer springs and the synchronizer keys from the high speed synchronizer hub.
  7. Use the J 34757 in order to remove the following components from the main shaft:
  8. 5.1. The two retaining rings
    5.2. The speedometer drive gear
  9. Use the J 34757 in order to remove the main shaft rear bearing C-clip from the main shaft.

  10. Object Number: 153413  Size: SH

    Important: The main shaft fifth gear and reverse gear needle bearings separate into two halves each.

    Make note of the components and their locations in order to ensure correct assembly and operation.

  11. Use the J 22912-01 and a press arbor in order to remove the main shaft rear bearing from the main shaft (1).
  12. Remove the following components from the main shaft:
  13. 8.1. The fifth gear washer
    8.2. The main shaft washer ball
    8.3. The main shaft fifth gear
    8.4. The high speed synchronizer ring
    8.5. The main shaft fifth gear needle bearing
  14. Remove the reverse synchronizer sleeve from the reverse synchronizer hub.
  15. Remove the following components from the reverse synchronizer hub:
  16. 10.1. The reverse synchronizer springs
    10.2. The three synchronizer keys
  17. Use a J 34757 in order to remove the high speed and reverse hub C-clip from the main shaft.

  18. Object Number: 153462  Size: SH
  19. Use the J 22912-01 and a press arbor in order to remove the reverse synchronizer hub (1) from the main shaft (2).
  20. Remove the following components from the main shaft:
  21. • The main shaft reverse gear
    • The needle bearing

    Notice: DO NOT remove the main shaft bearing washer, the main shaft reverse gear bushing and the main shaft center bearing in one step. The main shaft washer ball which locks the main shaft bearing washer in place could damage the main shaft or the main shaft center bearing. Remove the main shaft reverse gear bushing first, then, remove the main shaft bearing washer and the main shaft washer ball before removing the bushing main shaft center bearing from the main shaft.

  22. Remove the following components from the main shaft:
  23. 14.1. The main shaft reverse gear bushing
    14.2. The main shaft bearing washer
    14.3. The main shaft washer ball
  24. Use the J 22912-01 and a press arbor in order to remove the main shaft center bearing from the main shaft.
  25. Notice: DO NOT remove the main shaft bearing washer, the main shaft 1st gear, the main shaft 1st gear needle bearing and the low speed synchronizer ring in one step. The main shaft washer ball which locks the main shaft bearing washer in place could damage the main shaft or the main shaft 1st gear. Remove the main shaft bearing washer and the main shaft washer first, then, remove the main shaft 1st gear, the main shaft 1st gear needle bearing and the low speed synchronizer ring.

  26. Remove the following components from the main shaft:
  27. 16.1. The main shaft bearing washer
    16.2. The main shaft washer ball
  28. Remove the following components from the main shaft:
  29. 17.1. The main shaft first gear
    17.2. The main shaft first gear needle bearing
    17.3. The low speed synchronizer ring

    Object Number: 153504  Size: SH
  30. Use the J 22912-01 and a press arbor in order to remove the following components from the main shaft (4):
  31. 18.1. The first gear bushing (1)
    18.2. The low speed sleeve and hub assembly (2)
    18.3. The low speed synchronizer ring
    18.4. The main shaft second gear (3)
  32. Remove the main shaft second gear needle bearing from the main shaft.
  33. Remove the low speed synchronizer sleeve from the low speed synchronizer hub.
  34. Remove the following components from the low speed synchronizer hub:
  35. 21.1. The low speed synchronizer springs
    21.2. The synchronizer keys
  36. Clean all of the main shaft components thoroughly with solvent Air dry the components.

  37. Object Number: 154810  Size: SH
  38. Inspect all of the needle bearings for the following conditions and replace as necessary:
  39. • Unusual wear
    • Damage
  40. Inspect all of the ball bearings for the following conditions and replace as necessary:
  41. • Roughness
    • Wear
  42. Inspect the chamfered portion of each synchronizer ring for excessive wear. Replace as necessary.
  43. Inspect all of the synchronizer springs and the keys for the following conditions and replace as necessary:
  44. • Distortion
    • Damage
  45. Inspect the main shaft for the following conditions and replace as necessary:
  46. • Grooves
    • Scoring
    • Unusual wear

    Object Number: 153523  Size: SH
  47. Use a feeler gage in order to measure the clearance between each synchronizer ring (1) and its respective gear (2).
  48. The maximum synchronizer ring clearance is 1.0 to 1.4 mm (0.039 to 0.055 in).

    If the synchronizer ring clearance exceeds the specification, replace the synchronizer ring and gear.


    Object Number: 153540  Size: SH
  49. Use the J 26900-7 in order to measure the key slot width of each synchronizer ring (1).
  50. The maximum synchronizer key slot width is 10.1 to 10.4 mm (0.397 to 0.409 in).

    If the synchronizer ring key slot width exceeds the specification, replace the synchronizer ring.


    Object Number: 153533  Size: SH
  51. Use a feeler gage (3) in order to measure the clearance between each gearshift fork (2) and its respective synchronizer sleeve (1).
  52. The maximum gearshift fork clearance is 1.0 mm (0.039 in).

    If the gearshift fork clearance exceeds specification, replace the gearshift fork and the synchronizer sleeve.

Installation Procedure

Tools Required

    • J 37753 Bearing Installer
    • J 35664 Bearing Installer
    • J 28406 Bearing Installer
    • J 22912-01 Split Plate
    • J 35425 High Speed Hub Installer
    • J 36850 Transjel® Transmission Assembly Lubricant

    Object Number: 153250  Size: SH
  1. Install the following components onto the low speed synchronizer hub (6):
  2. 1.1. The low speed synchronizer springs (1,4)
    1.2. The synchronizer keys (5)
    1.3. The low speed synchronizer sleeve (2)

    Object Number: 153550  Size: SH
  3. Install the low speed synchronizer sleeve (8) onto the low speed synchronizer hub (7).
  4. Apply J 36850 to the main shaft second gear needle bearing.

  5. Object Number: 153239  Size: SH
  6. Install the following components onto the main shaft (3):
  7. 4.1. The main shaft second gear needle bearing (4)
    4.2. The main shaft second gear (1)
    4.3. The low speed synchronizer ring (2)

    Object Number: 153234  Size: SH
  8. Use the J 37753 and a press arbor in order to install the low speed sleeve (3) and hub assembly onto the main shaft (4).

  9. Object Number: 153899  Size: MH
  10. Use the J 37753 and a press arbor (1) in order to install the main shaft first gear bushing (2) onto the main shaft.
  11. Apply J 36850 to the main shaft first gear needle bearing.
  12. Install the following components onto the main shaft:
  13. 8.1. The first gear needle bearing
    8.2. The low speed synchronizer ring
    8.3. The main shaft first gear

    Object Number: 153244  Size: SH
  14. Install the following components onto the main shaft:
  15. 9.1. The main shaft washer ball (1)
    9.2. The main shaft bearing washer (3)

    Object Number: 153910  Size: MH
  16. Use the J 37753 , the J 35664 and a press arbor in order to install the main shaft center bearing (1) onto the main shaft.

  17. Object Number: 153250  Size: SH
  18. Connect the reverse synchronizer springs (3, 6) and the three synchronizer keys (4) to the reverse synchronizer hub (5).
  19. Ensure that the thick side of the synchronizer keys (7) and the synchronizer sleeve (1) faces toward the main shaft fifth gear.

  20. Install the reverse synchronizer sleeve (2) to the reverse synchronizer hub (5).
  21. Install the following components to the main shaft:
  22. 13.1. The main shaft washer ball
    13.2. The main shaft bearing washer

    Object Number: 153298  Size: SH
  23. Use the J 37753 with the J 35664 in order to install the main shaft reverse gear bushing (1) onto the main shaft.
  24. Gently tap in order to install the main shaft reverse gear bushing (1).

  25. Apply J 36850 to both halves of the main shaft reverse gear needle bearing.
  26. Install the following components onto the main shaft:
  27. 16.1. The main shaft reverse gear needle bearing
    16.2. The main shaft reverse gear

    Object Number: 153307  Size: SH
  28. Use the J 37753 and the J 35664 in order to install the reverse sleeve and hub assembly (3) onto the main shaft.
  29. Gently tap in order to install the reverse sleeve and hub assembly (3).

  30. Install the high speed and reverse hub C-clip onto the main shaft.
  31. Apply J 36850 to both halves of the main shaft fifth gear needle bearing.
  32. Install the following components onto main shaft:
  33. 20.1. The high speed synchronizer ring
    20.2. The main shaft fifth gear needle bearing
    20.3. The main shaft fifth gear
    20.4. The main shaft washer ball
    20.5. The main shaft fifth gear washer

    Ensure that the oil slot in the main shaft fifth gear washer faces the main shaft fifth gear.


    Object Number: 153320  Size: SH
  34. Use the J 22912-01 in order to support the main shaft.
  35. Use the J 28406 and a press arbor in order to install the main shaft rear bearing (3) onto the main shaft.

  36. Install the main shaft rear bearing C-clip onto the main shaft.

  37. Object Number: 154815  Size: SH
  38. Install the speedometer drive gear onto the main shaft; secure the speedometer drive gear with the speedometer drive gear retaining rings.

  39. Object Number: 153323  Size: SH
  40. Install the following components onto the high speed synchronizer hub (6):
  41. 24.1. The high speed synchronizer springs (1)
    24.2. Three synchronizer keys (5)
  42. Install the high speed synchronizer sleeve (2) onto the high speed synchronizer hub (6).
  43. Apply the J 36850 to the main shaft third gear needle bearing.

  44. Object Number: 153324  Size: SH
  45. Use theJ 22912-01 in order to support the main shaft.
  46. Use the J 35425 and a press arbor in order to install the following components onto the main shaft:

    27.1. The third gear needle bearing
    27.2. The main shaft third gear (2)
    27.3. The high speed synchronizer rings (1)
    27.4. The high speed sleeve and hub assembly (3)
  47. Install the high speed and reverse hub C-clip onto the main shaft.