GM Service Manual Online
For 1990-2009 cars only

Removal Procedure

Tools Required

J 26900-7 Dial Caliper


    Object Number: 153327  Size: SH
  1. Remove the backup lamp switch (1) from the upper case (3).
  2. Remove the following components from the upper case (3):
  3. 2.1. The three locating spring bolts (2)
    2.2. The three set washers
    2.3. The three locating springs
    2.4. The three locating balls

    Important: When removing any gearshift shaft, the interlock system will prevent gearshift shaft removal unless the other two gearshift shafts are in the neutral position.

  4. Place all three of the gearshift shafts in the neutral position.

  5. Object Number: 153332  Size: SH
  6. Remove the following components from the upper case:
  7. 4.1. The low speed gearshift fork roll pin (6)
    4.2. The low speed gearshift fork (1)
    4.3. The low speed gearshift shaft (5)
  8. Remove the following components from the upper case:
  9. 5.1. The high speed gearshift fork roll pin
    5.2. The high speed gearshift fork (2)
    5.3. The high speed gearshift shaft (4)
  10. Remove the reverse gearshift shaft from the upper case.
  11. Remove the following components from the reverse gearshift shaft (3):
  12. 7.1. The reverse gearshift fork roll pin
    7.2. The reverse gearshift fork
  13. Remove the following components from the upper case:
  14. 8.1. The two rubber plugs
    8.2. The two interlock balls
  15. Remove the interlock pin from the high speed gearshift shaft.

  16. Object Number: 153336  Size: SH
  17. Use the following procedure in order to inspect the gearshift shafts (2,3,4):
  18. 10.1. Inspect the gearshift shafts for wear.
    10.2. Pay particular attention to the locating groove (5) and gearshift lever groove (1) in the gearshift shafts.
    10.3. Replace any gearshift shaft that exhibits excessive wear or damage.
    10.4. Insert each gearshift shaft into the upper case.
    10.5. Test each gearshift for smooth operation while working back and forth.
    10.6. If any gearshift shaft binds, carefully sand the contact surfaces with an emery cloth in order to correct the problem.

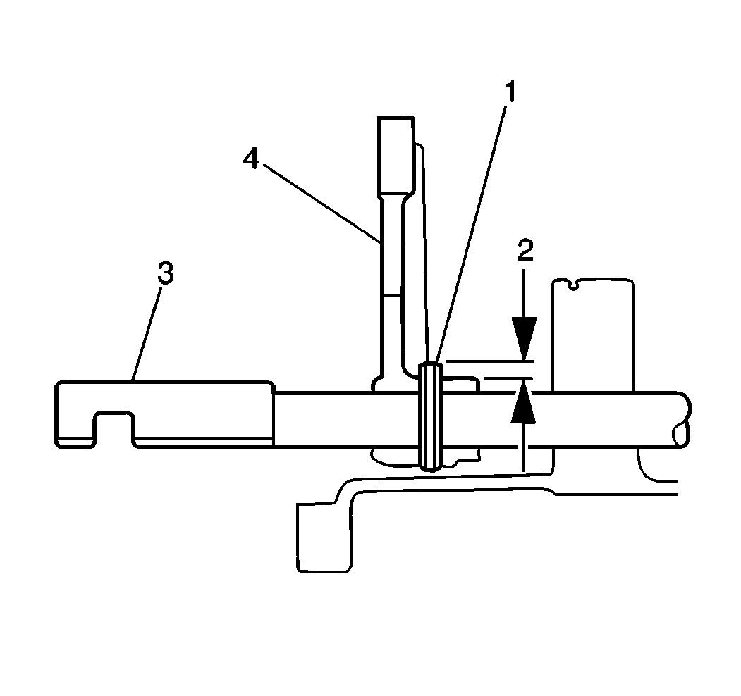
    Object Number: 153533  Size: SH
  19. Use a feeler gage (3) in order to measure the gearshift fork (2)-to-synchronizer sleeve (1) clearance.
  20. If the clearance exceeds 1.0 mm (0.039 in), replace the fork (2) and the synchronizer sleeve (1) as necessary.


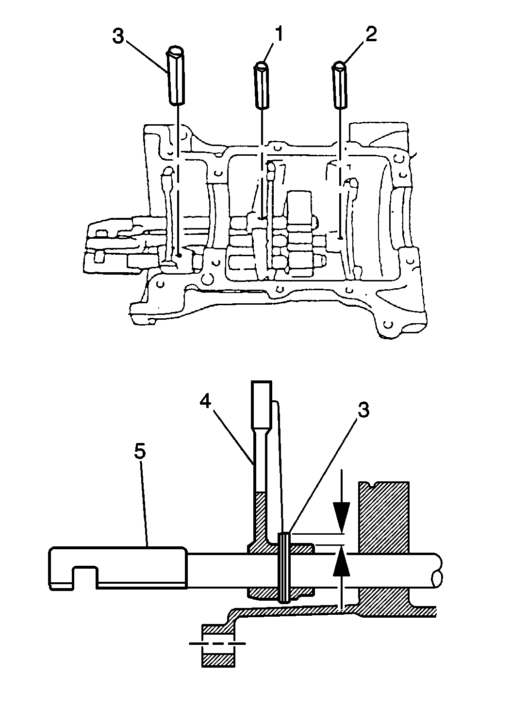
    Object Number: 153350  Size: SH
  21. Use the J 26900-7 in order to measure the locating spring (1) length.
  22. The standard locating spring length is 24.0 to 27.0 mm (0.945 to 1.063 in).

    If a spring is less than 24.0 mm (0.945 in), replace the spring.

Installation Procedure

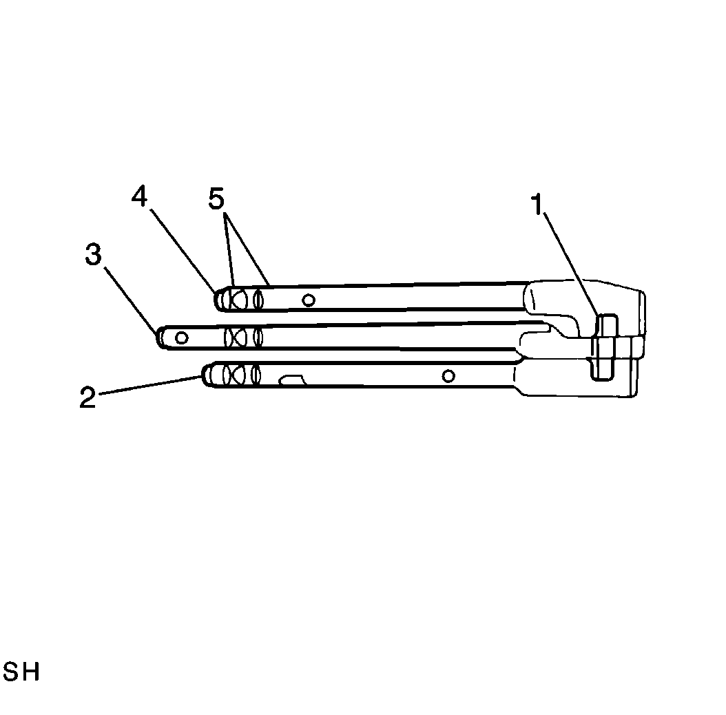
    Important: The reverse gearshift fork roll pin (3) is 5 mm (0.187 in) longer than the low speed gearshift fork roll pin (2) and the high speed gearshift fork roll pin (1).

    The clearance between the low speed and high speed gearshift forks and the upper case will allow the removal of a roll pin that measures 25 mm (0.98 in) or less.

    If the reverse gear shift fork roll pin is installed in the low speed or high speed gearshift fork, the reverse gearshift fork pin will contact the upper case during any future disassembly.

    This contact may inhibit transmission operation. It may also make gearshift fork removal impossible.


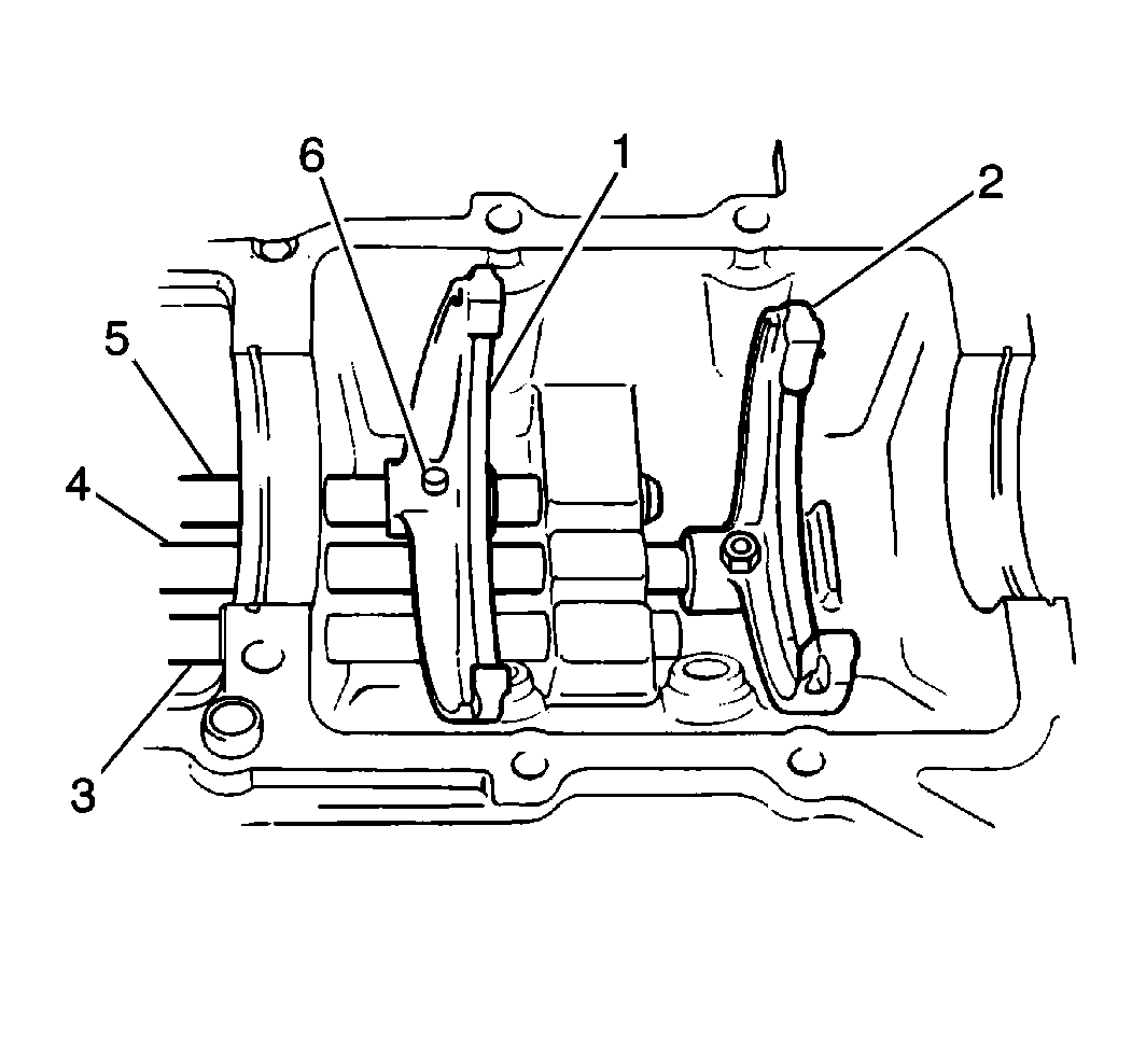
    Object Number: 155935  Size: MH
  1. Install the reverse gearshift fork (4) to the reverse gearshift shaft (5).
  2. Use the reverse gearshift fork roll pin (3) in order to secure the reverse gearshift fork to the reverse gearshift shaft.

    Important: When installing the reverse gearshift fork roll pin, do not press the roll pin until it is flush with the gearshift fork.

    Allow a 3.5 to 4.5 mm (0.138 to 0.177 in) protrusion above the gearshift fork.


    Object Number: 144168  Size: SH
  3. Install the following components into the upper case:
  4. 2.1. The reverse gearshift shaft (3)
    2.2. The interlock ball
  5. Place the reverse gearshift shaft into the neutral position.
  6. Fit the interlock pin into the high speed gearshift shaft.

  7. Object Number: 144193  Size: SH
  8. Install the high speed gearshift shaft (3) into the upper case with the high speed gearshift fork.
  9. Use the high speed gearshift fork roll pin in order to secure the high speed gearshift shaft to the upper case.

  10. Install the interlock ball into the upper case.
  11. Place the high speed gearshift shaft into the neutral position.
  12. Install the low speed gearshift shaft into the upper case with the low speed gearshift fork.
  13. Use the low speed gearshift fork roll pin in order to secure the low speed gearshift shaft to the upper case.


    Object Number: 153146  Size: SH
  14. Apply Loctiteâ„¢ 599 RTV silicone sealer or equivalent to the rubber plugs (1, 2).
  15. Install the two rubber plugs (1, 2) into the upper case.

  16. Object Number: 153157  Size: SH
  17. Inspect the interlock system operation:
  18. • In first or second gear position, a third-to-fourth or a fifth-to-reverse gearshift should not be possible.
    • In reverse gear position, a first-to-second or third-to-fourth gearshift should not be possible.

    Object Number: 153173  Size: SH
  19. Install the following components into the upper case:
  20. 12.1. The three locating balls (8)
    12.2. The locating springs
    12.3. The three set washers
    12.4. The three locating spring bolts

    Tighten
    Tighten the locating spring bolts to 28 N·m (21 lb ft).

    Notice: Use the correct fastener in the correct location. Replacement fasteners must be the correct part number for that application. Fasteners requiring replacement or fasteners requiring the use of thread locking compound or sealant are identified in the service procedure. Do not use paints, lubricants, or corrosion inhibitors on fasteners or fastener joint surfaces unless specified. These coatings affect fastener torque and joint clamping force and may damage the fastener. Use the correct tightening sequence and specifications when installing fasteners in order to avoid damage to parts and systems.


    Object Number: 153327  Size: SH
  21. Install the backup lamp switch (1) into the upper case (3).
  22. Tighten
    Tighten the backup lamp switch to 20 N·m (15 lb ft).