GM Service Manual Online
For 1990-2009 cars only

Tools Required

    • J 8092 Driver Handle
    • J 23907 Slide Hammer
    • J 29369-1 Output Shaft Bearing Remover
    • J 35664 Pinion Shaft Bearing Installer
    • J 36850 Transjel® Transmission Assembly Lubricant
    • J 37750 Oil Seal Installer
    • J 37758 Countershaft Rear Plug Installer

Removal Procedure


    Object Number: 153194  Size: SH
  1. Use the J 29369-1 with the J 23907 in order to remove the rear case oil seal (1) from the rear case.

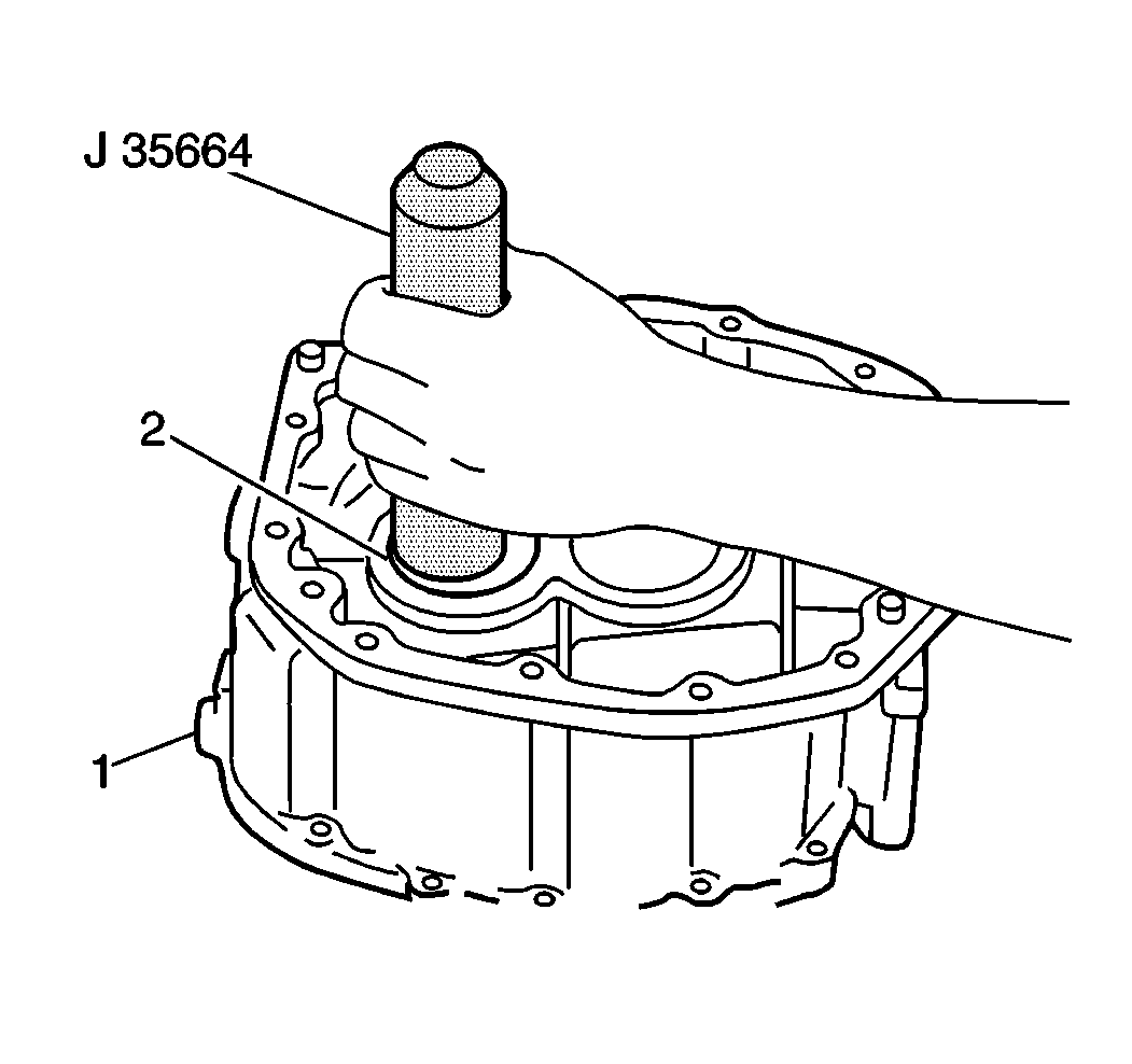
  2. Object Number: 153184  Size: SH
  3. Use the J 35664 and a hammer in order to remove the rear case countershaft plug (2) from the rear case (1).
  4. Clean the rear case mating surface.
  5. Inspect the rear case for cracks or porosity. Replace the rear case as necessary.

Installation Procedure


    Object Number: 153203  Size: SH
  1. Use the J 37758 with the J 8092 and a hammer in order to install the rear case countershaft plug (1) into the rear case (2).

  2. Object Number: 153209  Size: SH
  3. Use the J 37750 and a hammer in order to install a new rear case oil seal (1) into the rear case (2).
  4. Apply J 36850 to the new rear case oil seal lip.