GM Service Manual Online
For 1990-2009 cars only

Tools Required

    • J 26900-5 Vernier Caliper
    • J 23327 Clutch Spring Compressor
    • J 36850 Transjel® Transmission Assembly Lubricant

Removal Procedure


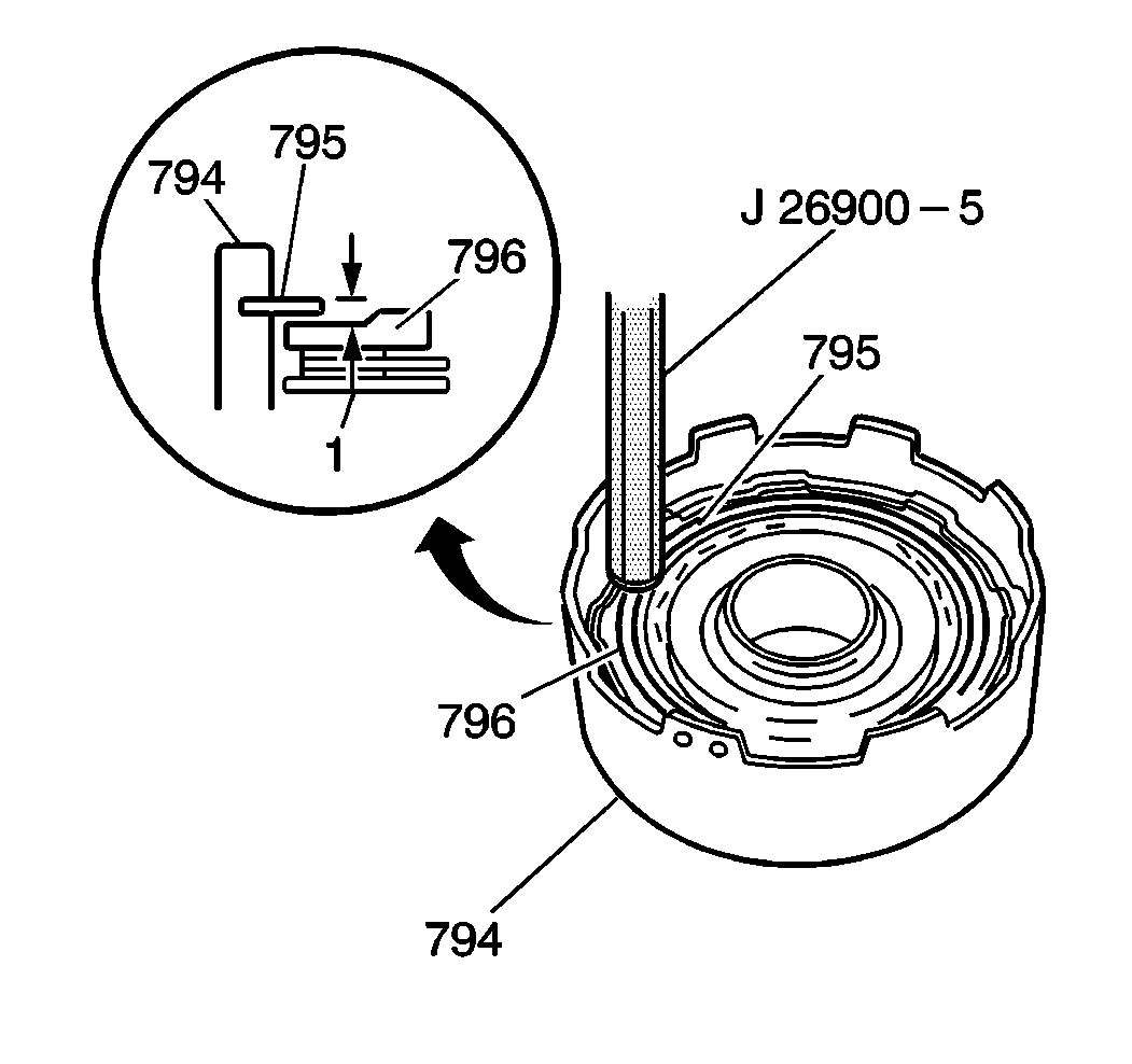
    Object Number: 143430  Size: SH
  1. Measure the clearance within the direct clutch drum (794) by using a J 26900-5 . Measure the height between the direct clutch plate snap ring (795) and the direct clutch flange (796). If this height, indicated in the illustration by the number 1, measures 2.49-3.06 mm (0.098-0.120 in), then the direct clutch clearance is within specification. If the measurement is larger than the specification, replace the clutch discs or the plates.
  2. Remove the clutch plate snap ring (795).

  3. Object Number: 143432  Size: SH
  4. Remove the direct clutch flange (796) from the direct clutch drum (794).
  5. Remove the clutch discs (798) and plates (797).

  6. Object Number: 143433  Size: SH

    Caution: Use a screwdriver in order to remove the snap ring. Keep your fingers and hands away from the hydraulic press arbor and from the clutch return spring seat. Once you have removed the snap ring, release the hydraulic press slowly. Failure to follow this precaution may result in serious injury.

    Important: In the following step, be careful not to compress the direct clutch spring seat more than is necessary in order to remove the clutch plate snap ring.

  7. Install a J 23327 . Place the direct clutch drum in a hydraulic press, indicated in the illustration by the number 1. Slowly compress the direct clutch spring seat until you are able to remove the clutch plate snap ring (799).
  8. Remove the direct clutch spring seat snap ring (799).

  9. Object Number: 143434  Size: SH
  10. Remove the direct clutch spring seat (7000). Remove the return spring assembly (7001) from the direct clutch drum (794).

  11. Object Number: 143435  Size: SH
  12. Remove the direct clutch piston from the direct clutch drum (794) by slowly applying low pressure compressed air into the drum fluid inlet hole, as shown in the illustration. If the piston does not pop out, carefully lift the piston out with needle nose pliers.
  13. Remove the direct clutch inner piston seal from the drum.

  14. Object Number: 143436  Size: SH
  15. Remove the direct clutch outer piston seal (7002) from the direct clutch piston (7003).

  16. Object Number: 143437  Size: SH
  17. Use low pressure compressed air in order to inspect the direct clutch piston check valve, indicated in the illustration by the number 1, for free movement and for leakage. If leaks exist, replace the direct clutch piston (7003).

  18. Object Number: 143434  Size: SH
  19. Inspect the direct clutch drum (794) for the following conditions:
  20. • Burrs
    • Scars
    • Other damage
  21. Inspect the direct clutch spring seat (7000) and the return spring assembly (7001) for the following conditions:
  22. • Broken springs
    • Loose springs
    • Other damage

Installation Procedure


    Object Number: 143440  Size: SH

    Important: Do not twist, cut or tear the seals during the following assembly procedure.

  1. Install a new inner seal to the direct clutch drum (794). Lubricate with J 36850 .
  2. Install a new outer seal to the direct clutch piston (7003). Lubricate with J 36850 .
  3. Install the direct clutch piston (7003) into the direct clutch drum (794).

  4. Object Number: 143434  Size: SH
  5. Install the direct clutch return spring assembly (7001) into the direct clutch drum (794).
  6. Install the direct clutch spring seat (7000).
  7. Important: In the following step, be careful not to compress the direct clutch spring seat more than is necessary in order to install the clutch plate snap ring.

  8. Using a J 23327 , place the direct clutch drum in a hydraulic press. Slowly compress the direct clutch spring seat until you are able to fit the direct clutch plate snap ring.
  9. Install the direct clutch plate snap ring. Securely seal the snap ring in the four projections of the direct clutch spring seat.

  10. Object Number: 143432  Size: SH

    Notice: Whenever you install new clutch discs in the firsts-reverse brake, the forward clutch or the direct clutch assemblies, you must first soak these discs for two hours in Dexron®-III automatic transmission fluid GM P/N 12341643, or equivalent. This causes the clutch material on the discs to permeate with the fluid. This will aid in ease of assembly and prevent clutch overheating on first time engagement.

  11. Install three clutch plates (785) and two clutch discs (786) into the direct clutch drum (794) in the following sequence:
  12. 8.1. Plate
    8.2. Disk
    8.3. Plate
    8.4. Plate
    8.5. Disk
  13. Install a direct clutch flange (796) into the direct clutch drum (794).
  14. Install the direct clutch plate snap ring (795) into the direct clutch drum (794).

  15. Object Number: 143430  Size: SH
  16. Use a J 26900-5 in order to determine the clearance of the direct clutch drum (794). Measure the height between the direct clutch plate snap ring (795) and the direct clutch flange (796). If this height, indicated in the illustration by the number 1, measures 2.49-3.06 mm (0.098-0.120 in), then the direct clutch clearance is within specification.
  17. If the measurement falls out of specification with the new direct clutch discs and plates installed, install a flange of a different thickness. Two sizes of clutch flanges are available:
  18. • Thickness 3.00 mm (0.118 in)
    • Thickness 3.37 mm (0.132 in)

    Object Number: 143437  Size: SH
  19. Inspect the direct clutch piston for operation by slowly applying low pressure compressed air through the drum fluid inlet hole (1). The piston should return to its original position after you release the air pressure.